GM Service Manual Online
For 1990-2009 cars only

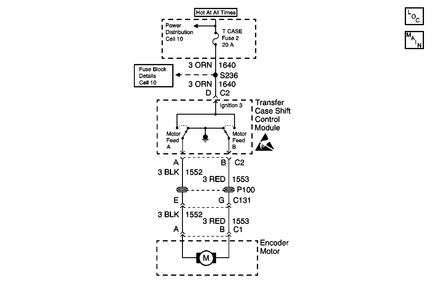
Object Number: 562223  Size: MF
Transfer Case Control Components
Transfer Case Control Schematics

Circuit Description

The transfer case motor is a bi-directional, permanent magnet, D.C. motor. When energized, (through Motor Feed A or Motor Feed B, the ground is provided by the opposing Motor Feed circuit and then grounded through the transfer case shift control module ground circuit), the motor, through a series of gears, rotates the sector shaft which moves the mode and range forks to shift the transfer case between 4H, AUTO 4WD, 2H, N, and 4L ranges. While the transfer case motor is energized the transfer case shift control module also energizes the solenoid for the transfer case lock. The motor lock is disabled (locking action released) and free turning of the transfer case motor and sector shaft is then allowed.

This DTC detects a short to Voltage in the Motor Feed A or Motor Feed B circuits, or a shorted motor.

Conditions for Setting the DTC

    • The system will test the motor circuits by reading the voltage on each circuit.
    • If the system detects a problem with the circuits, the DTC is logged.
    • The Transfer case shift control module senses a high voltage in the Motor Feed A or Motor Feed B circuits when a low voltage is expected.

Action Taken When the DTC Sets

    • All shifting will be disabled.
    • The SERVICE indicator (4WD/AWD) lamp will be latched on for the remainder of the current ignition cycle.

Conditions for Clearing the DTC

    • The transfer case shift control module will clear the DTC if the condition for setting the DTC no longer exists.
    • A history DTC will clear after 100 consecutive ignition cycles without a fault present.
    • History DTCs can be cleared using a scan tool.

Test Description

The number(s) below refer to the step number(s) on the diagnostic table.

  1. Tests for proper voltage and ground.

  2. Listen for an audible motor noise when the encoder motor operates. Command both the ON and OFF states. Repeat the commands as necessary.

  3. Tests Motor Feed A or the transfer case shift control module for a short to voltage.

  4. Tests Motor Feed B or the transfer case shift control module for a short to voltage.

  5. Tests Motor Feed A circuit for a short to voltage.

  6. Tests Motor Feed B circuit for a short to voltage.

DTC C0309 Motor A/B Circuit High

Step

Action

Value(s)

Yes

No

1

Was the Transfer Case Diagnostic System Check performed?

--

Go to Step 2

Go to Diagnostic System Check

2

Check the transfer Case shift control module for faulty power or grounds. Refer to Circuit Testing and Wiring Repairs in Wiring Systems.

Was the condition found and corrected?

--

Go to Step 9

Go to Step 3

3

  1. Install a scan tool.
  2. Turn the ignition ON, with the engine OFF.
  3. With the scan tool, command the Motor A/B control ON and OFF.

Does the encoder motor turn ON and OFF?

--

Go to Testing for Intermittent Conditions and Poor Connections

Go to Step 4

4

  1. Turn the ignition OFF.
  2. Disconnect the four wire connector at the transfer case.
  3. Turn the ignition ON, with the engine OFF.
  4. Connect a DMM between the Motor Feed A circuit harness connector and ground at the transfer case.

Is the voltage reading within the specified value?

0-0.2 V

Go to Step 5

Go to Step 6

5

Connect a DMM between the Motor Feed B circuit harness connector and ground at the transfer case.

Is the voltage reading within the specified value?

0-0.2 V

Go to Step 8

Go to Step 7

6

  1. Disconnect the transfer case shift control module.
  2. Test the Motor Feed A circuit harness connector for a short to voltage. Refer to Circuit Testing and Wiring Repairs in Wiring Systems.

Was the condition found and corrected?

--

Go to Step 9

Go to Step 8

7

  1. Disconnect the transfer case shift control module.
  2. Test the Motor Feed B circuit harness connector for a short to voltage. Refer to Circuit Testing and Wiring Repairs in Wiring Systems.

Was the condition found and corrected?

--

Go to Step 9

Go to Step 8

8

Replace the transfer case shift control module. Refer to Transfer Case Shift Control Module Replacement .

Is the repair complete?

--

Go to Step 9

--

9

  1. Use the scan tool in order to clear the DTCs.
  2. Operate the vehicle within the Conditions for Running the DTC as specified in the supporting text.

Does the DTC reset?

--

Go to Step 2

System OK