GM Service Manual Online
For 1990-2009 cars only

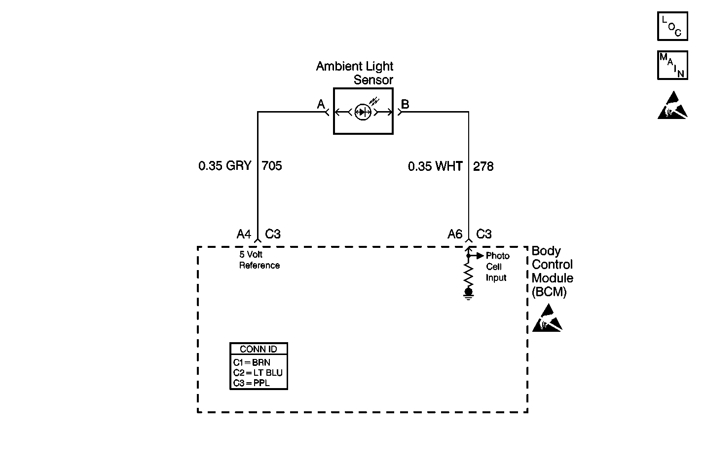
Object Number: 367983  Size: MF
Body Control Module Components
Body Control System Schematics
Handling ESD Sensitive Parts Notice
Handling ESD Sensitive Parts Notice

Circuit Description

The body control module (BCM) monitors CKT 278 in order to determine if the daytime running lights (DRL) or the auto headlamps (AHL) should be turned ON in the AUTO mode. When BCM senses the ambient light sensor voltage between 1.7-4.7 volts (light state), the DRL will be commanded ON. When BCM senses the ambient light sensor voltage between 0.2-1.0 volts (dark state), the AHL will be commanded ON.

Conditions for Setting the DTC

    • When the ambient light sensor input voltage is greater than 4.78 volts (CKT 278 is shorted to the battery).
    • The system voltage must be between 9.0-16.0 volts.
    • The above conditions must be met for 0.5 seconds.

Action Taken When the DTC Sets

The AHL will remain ON in any ambient light state.

Conditions for Clearing the MIL/DTC

    • This DTC will clear immediately after the condition for setting the fault corrected.
    • A history DTC will clear after 100 consecutive ignition cycles without a fault present.
    • Use a scan tool in order to clear history and current DTCs.

Diagnostic Aids

    • Always perform the first DTC listed on the scan tool if more than 1 is displayed.
    • The scan tool must display DTC B2648 as a current code to before performing diagnostics.
    • Perform a visual inspection for loose or poor connections at all related components.
    • Refer to Intermittents and Poor Connections Diagnosis in Wiring Systems for intermittent and poor connections.

Test Description

Step number(s) below refer to the same step number(s) in the Diagnostic Table.

  1. This step determines if the ambient light sensor is shorted internally.

  2. This step determines if the BCM is defective or if CKT 278 is short to battery voltage. By disconnecting the BCM connector, other DTCs will be set.

Step

Action

Value(s)

Yes

No

1

Was the BCM Diagnostic System Check performed?

--

Go to Step 2

Go to Diagnostic System Check - Body Control System

2

  1. With a scan tool, monitor the current DTCs.
  2. Disconnect the ambient light sensor.

Does the scan tool display B2648?

--

Go to Step 3

Go to Step 4

3

  1. Disconnect the purple BCM (C3) connector.
  2. Backprobe, in order to prevent damage to terminal, with a DMM measure the voltage between CKT 278 (WHT) cavity A6 to ground.

Does the DMM display at or above the specified value?

5.0 volts

Go to Step 5

Go to Step 6

4

Replace the ambient light sensor.

Is the repair complete?

--

Go to Step 7

--

5

Locate and repair the short to battery in CKT 278 (WHT) between the ambient light sensor and the BCM.

Is the repair complete?

--

Go to Step 7

--

6

  1. Replace the BCM. Refer to Body Control Module Replacement .
  2. Program the BCM with the proper calibrations. Refer to Body Control Module (BCM) Programming/RPO Configuration .
  3. Perform the learn procedure.

Is the repair complete?

--

System OK

--

7

Clear the DTCs. Refer to Clearing DTCs .

Is the repair complete?

--

System OK

--