GM Service Manual Online
For 1990-2009 cars only
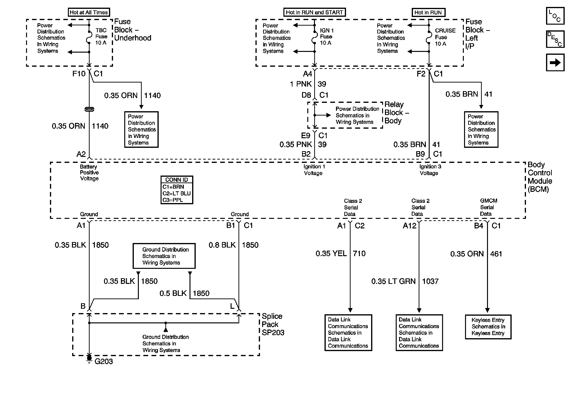
Figure 1:

Power, Ground, and Serial Data


Object Number: 776741  Size: FS
Master Electrical Component List
Body Control System Description and Operation
Exterior Lighting Systems References
TBC, FOG LP, LT HDLP, and RT HDLP Fuses
IGN 1, TURN, SEO IGN, AIR BAG, CRANK, and IGN 0 Fuses
BRAKE, Cruise, HTR A/C, RR WPR, WS WPR, and SEO ACCY Fuses
TBC, FOG LP, LT HDLP, and RT HDLP Fuses
AUX PWR and HORN Fuses
BRAKE, Cruise, HTR A/C, RR WPR, WS WPR, and SEO ACCY Fuses
G203 - 1 of 3
G203 - 1 of 3
Splice Pack SP205
Splice Pack SP205
Keyless Entry Schematics
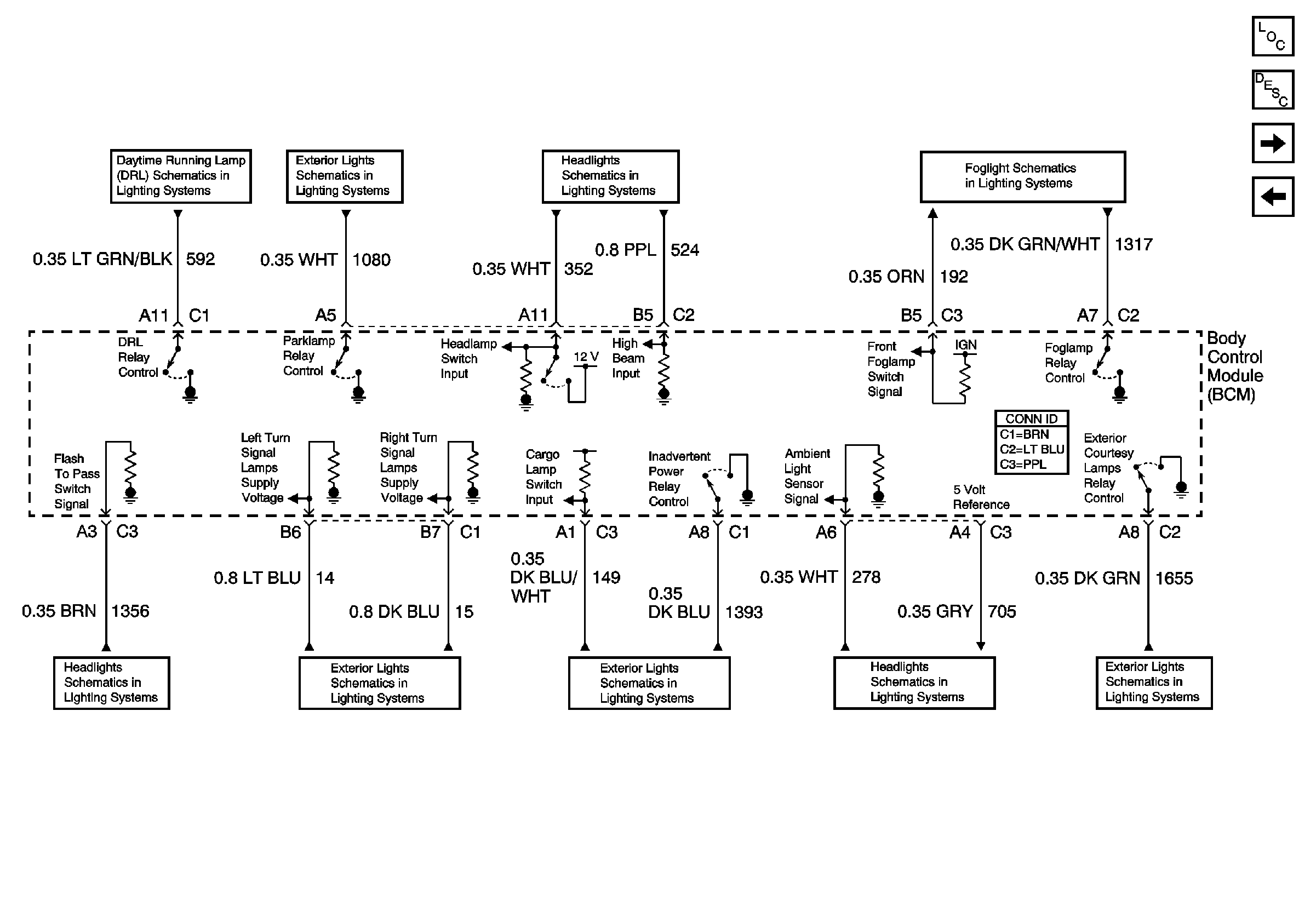
Figure 2:

Exterior Lighting Systems References


Object Number: 776742  Size: FS
Master Electrical Component List
Body Control System Description and Operation
Interior Lighting Systems References
Power, Ground, and Serial Data
02 GMT800 Daytime Running Lamps
Park Lamp Control
02 GMT800 Headlight Schematics
02 GMT800 Fog Lamps Schematics
02 GMT800 Headlight Schematics
Park/Turn Signal Lamps
Courtesy Lamp Control - 2 of 2
02 GMT800 Headlight Schematics
Exterior Illumination Control
Figure 3:

Interior Lighting Systems References


Object Number: 776743  Size: FS
Master Electrical Component List
Body Control System Description and Operation
Controlled/Monitored Subsystem References
Exterior Lighting Systems References
Courtesy Lamp Control - 2 of 2
Courtesy Lamp Control - 1 of 2
Door Jamb Switch Signals - Base Crewcab
IPC, Roof Beacon, and Rear Wheel Steering Switch
IPC, Roof Beacon, and Rear Wheel Steering Switch
Door Jamb Switch Signals
Figure 4:

Controlled/Monitored Subsystem References


Object Number: 776747  Size: FS
Master Electrical Component List
Body Control System Description and Operation
Interior Lighting Systems References
Gages
Seat Belt Switch,IPC,BCM,SDM,G304
Tow/Haul and PNP Switch Inputs
BCM, G100
RAP Schematics - Pickup
Base - All Except Crew Cab
Key In Ignition and Turn Signal Chime
Key In Ignition and Turn Signal Chime
Ignition Tamper/Security Sensors
Key In Ignition and Turn Signal Chime
Cooling Fans