GM Service Manual Online
For 1990-2009 cars only

Object Number: 799782  Size: LF
Master Electrical Component List
Automatic Transmission Controls Schematics
OBD II Symbol Description Notice

Circuit Description

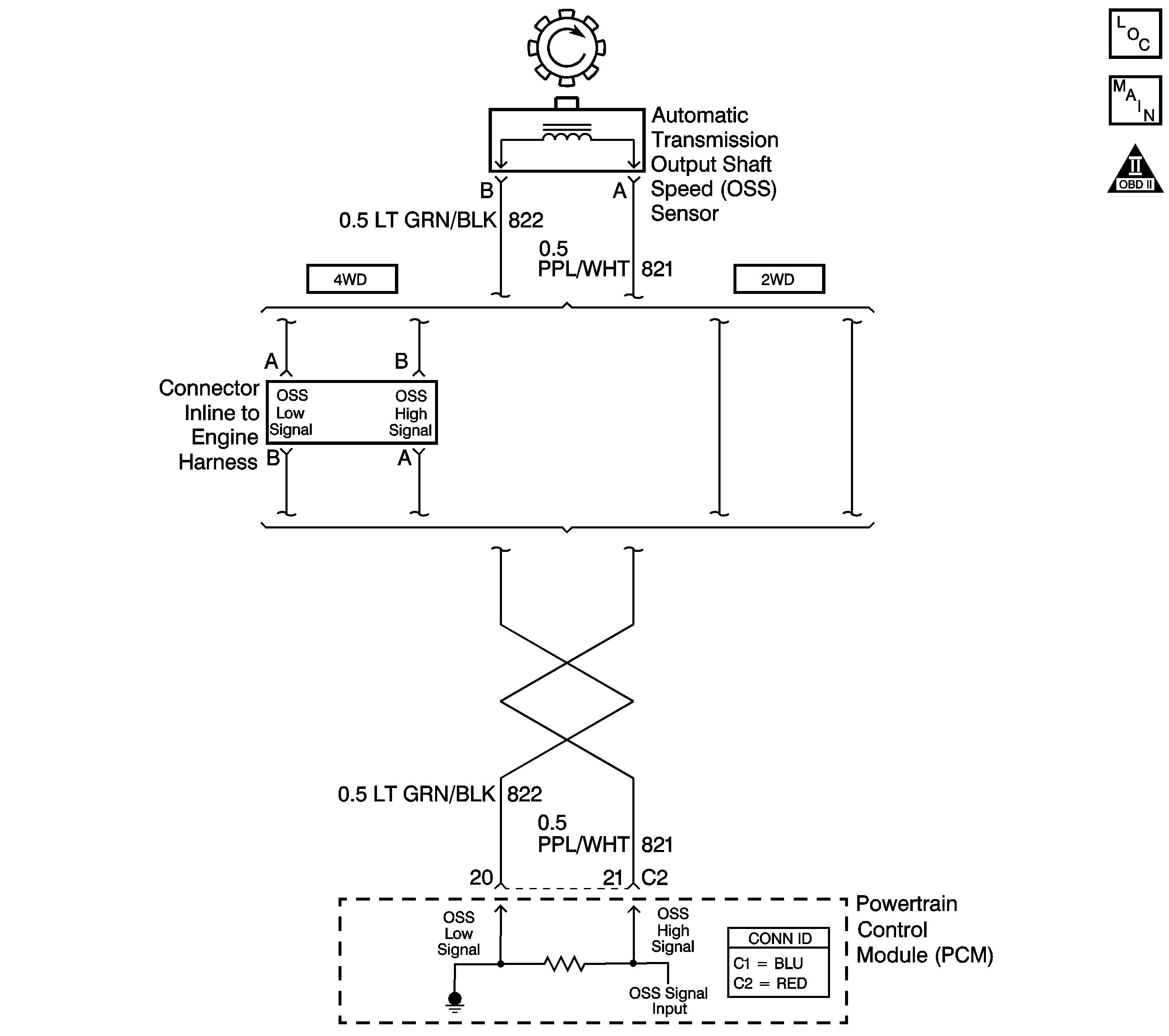
The automatic transmission output shaft speed (AT OSS) sensor, which is a permanent magnet generator, produces an AC voltage as the transmission speed sensors rotor teeth pass through the magnetic field of the sensor. The AC voltage level and the number of pulses increase as the speed of the vehicle increases. The powertrain control module (PCM) converts the voltage to a digital signal for vehicle speed. The vehicle speed is used for engine and transmission calculations.

If the PCM detects a low vehicle speed and there is a high engine speed in a drive gear range, DTC P0503 sets. DTC P0503 is a type C DTC. For California emissions and vehicles under 8,600 GVW, DTC P0503 is a type B DTC.

Conditions for Running the DTC

    • No TFP manual valve position switch DTC P1810.
    • No 4WD low DTC P1875.
    • The engine is running greater than 400 RPM for greater than 7 seconds.
    • The system voltage is 8-18 volts.
    • No TFP manual valve position switch changes for greater than 6 seconds.
    • Not in 4WD low.
    • No 4WD low switch change within 2 seconds.
    • No AT OSS increase greater than 250 RPM within 2 seconds.

Conditions for Setting the DTC

    • The gear range is not PARK or NEUTRAL.
    • The AT OSS RPM has dropped greater than 1,000 RPM for at least 4 seconds.

Action Taken When the DTC Sets

    • For California emission equipped vehicles, the PCM illuminates the malfunction indicator lamp (MIL) during the second consecutive trip in which the Conditions for Setting the DTC are met. For Federal emission equipped vehicles, the MIL is not illuminated.
    • The PCM commands maximum line pressure.
    • The PCM freezes the shift adapts.
    • The PCM defaults a calculated output speed value by using the AT ISS values.
    • The PCM records the operating conditions when the Conditions for Setting the DTC are met. The PCM stores this information as Freeze Frame, California only, and Failure Records, California and Federal.
    • The PCM stores the DTC P0503 in PCM history during the second consecutive trip, California, or the first trip, Federal, in which the Conditions for Setting the DTC are met.

Conditions for Clearing the MIL/DTC

    • For California emissions, the PCM turns OFF the MIL during the third consecutive trip in which the diagnostic test runs and passes.
    • A scan tool can clear the MIL/DTC.
    • For California emissions, the PCM clears the DTC from PCM history if the vehicle completes 40 warm-up cycles without an emission related diagnostic fault occurring.
    • For Federal emissions, the PCM clears the DTC from PCM history if the vehicle completes 40 warm-up cycles without a non-emission related diagnostic fault occurring.
    • The PCM cancels the DTC default actions when the fault no longer exists and the ignition switch is OFF long enough in order to power down the PCM.

Diagnostic Aids

DTC P0503 defaults to an elevated line pressure condition which may result in partial TCC apply. This may produce an idle surge that could stall the engine.

Test Description

The numbers below refer to the step numbers on the diagnostic table.

  1. This step tests the AT OSS sensor and the circuit.

  2. This step tests the integrity of the AT OSS sensor.

Step

Action

Value(s)

Yes

No

1

Did you perform the Powertrain Diagnostic System Check?

--

Go to Step 2

Go to Diagnostic System Check - Engine Controls in Engine Controls - 6.0L or Diagnostic System Check - Engine Controls in Engine Controls - 8.1L

2

  1. Install a scan tool.
  2. Turn ON the ignition, with the engine OFF.
  3. Important: Before clearing the DTC, use the scan tool in order to record the Freeze Frame and Failure Records for reference. The Clear Info function will erase the data.

  4. Record the DTC Freeze Frame and Failure Records.
  5. Clear the DTC.
  6. Raise and support the rear axle assembly.
  7. Start the engine.
  8. Place the transmission in any drive range.

With the drive wheels rotating, does the scan tool Transmission OSS increase with the drive wheel speed?

--

Go to Intermittent Conditions in Engine Controls - 6.0L or Intermittent Conditions in Engine Controls 8.1L

Go to Step 3

3

  1. Turn OFF the ignition.
  2. Disconnect the PCM connector C2.
  3. Using the DMM and the J 35616 connector test adapter kit, measure the resistance between harness connector terminal C2-20 and C2-21.

Does the resistance measure within the specified range?

1,377-3,355 ohms

Go to Step 4

Go to Step 7

4

  1. Place the transmission in NEUTRAL.
  2. Select AC volts.
  3. Prevent one rear wheel from turning.
  4. Rotate the other rear wheel by hand, ensuring that the driveshaft is turning.

Does the voltage measure greater than the specified value?

0.5 V

Go to Step 5

Go to Step 12

5

Measure the resistance from terminal C2-21 to ground.

Does the resistance measure greater than the specified value?

50 K ohms

Go to Step 6

Go to Step 9

6

  1. Connect the PCM connector C2.
  2. Disconnect the engine wiring harness from the OSS assembly.
  3. Turn ON the ignition, with the engine OFF.
  4. Test the high signal circuit (CKT 821) of the AT OSS assembly for a short to power.
  5. Refer to Circuit Testing and Wiring Repairs in Wiring Systems.

Did you find and correct the condition?

--

Go to Step 15

Go to Step 14

7

  1. Disconnect the engine wiring harness from the OSS assembly.
  2. Measure the resistance of the AT OSS assembly.

Does the resistance measure within the specified range?

1,377-3,355 ohms

Go to Step 8

Go to Step 13

8

Was the resistance measured in Step 3 greater than the specified value?

3,355 ohms

Go to Step 10

Go to Step 11

9

Test the high signal circuit (CKT 821) of the AT OSS assembly for a short to ground.

Refer to Circuit Testing and Wiring Repairs in Wiring Systems.

Did you find and correct the condition?

--

Go to Step 15

--

10

  1. Test the high signal circuit (CKT 821) of the AT OSS assembly for an open.
  2. Test the low signal circuit (CKT 822) of the AT OSS assembly for an open.
  3. Refer to Circuit Testing and Wiring Repairs in Wiring Systems.

Did you find and correct the condition?

--

Go to Step 15

--

11

Test the high signal circuit (CKT 821) and the low signal circuit (CKT 822) of the AT OSS assembly for a short together.

Refer to Circuit Testing and Wiring Repairs in Wiring Systems.

Did you find and correct the condition?

--

Go to Step 15

--

12

  1. Remove the AT OSS assembly.
  2. Inspect the output shaft rotor teeth for damage or misalignment.
  3. Inspect the case extension bushing for wear.

Did you find and correct the condition?

--

Go to Step 15

Go to Step 13

13

Important: For vehicles equipped with an active transfer case, identify the AT OSS assembly before replacing. There are two transfer case speed sensors located near the AT OSS assembly. Refer to the wire colors on the schematic to identify the AT OSS assembly.

Replace the AT OSS assembly.

Refer to Vehicle Input Speed Sensor Replacement or Vehicle Output Speed Sensor Replacement .

Did you complete the replacement?

--

Go to Step 15

--

14

Replace the PCM.

Refer to Powertrain Control Module Replacement in Engine Controls - 6.0L or Powertrain Control Module Replacement in Engine Controls - 8.1L.

Did you complete the replacement?

--

Go to Step 15

--

15

Perform the following procedure in order to verify the repair:

  1. Select DTC.
  2. Select Clear Info.
  3. Operate the vehicle under the following conditions:
  4. • The transmission output speed is greater than 250 RPM.
    • No RPM change greater than 300 RPM.
    • All conditions are met for 2 seconds.
  5. Select Specific DTC.
  6. Enter DTC P0503.

Has the test run and passed?

--

System OK

Go to Step 1