GM Service Manual Online
For 1990-2009 cars only
Figure 1:

Power, Ground and Data Link Connector


Object Number: 1226188  Size: FS
Master Electrical Component List
Data Link Communications Description and Operation
SP205 - 1 of 2
B+ Bus Bar - 1 of 2
INFO and CIG LTR Fuses
G200 - 1 of 3
G200 - 1 of 3
G203 - 1 of 3
G203 - 1 of 3
Figure 2:

SP205 - 1 of 2


Object Number: 1226191  Size: FS
Master Electrical Component List
Data Link Communications Description and Operation
SP205 - 2 of 2
Power, Ground and Data Link Connector
SP205 - 2 of 2
Figure 3:

SP205 - 2 of 2


Object Number: 1226192  Size: FS
Master Electrical Component List
Data Link Communications Description and Operation
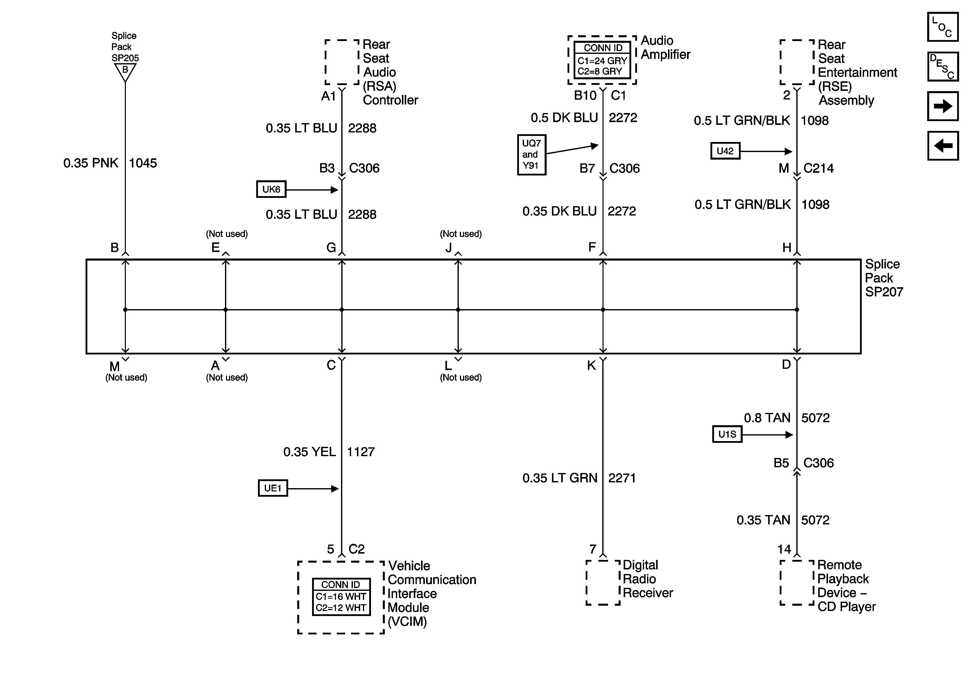
SP207
SP205 - 1 of 2
SIR Caution for Zoning
SP205 - 1 of 2
SP207
Figure 4:

SP207


Object Number: 1226193  Size: FS
Master Electrical Component List
Data Link Communications Description and Operation
Controller Area Network (CAN) - Diesel
SP205 - 2 of 2
SP205 - 2 of 2
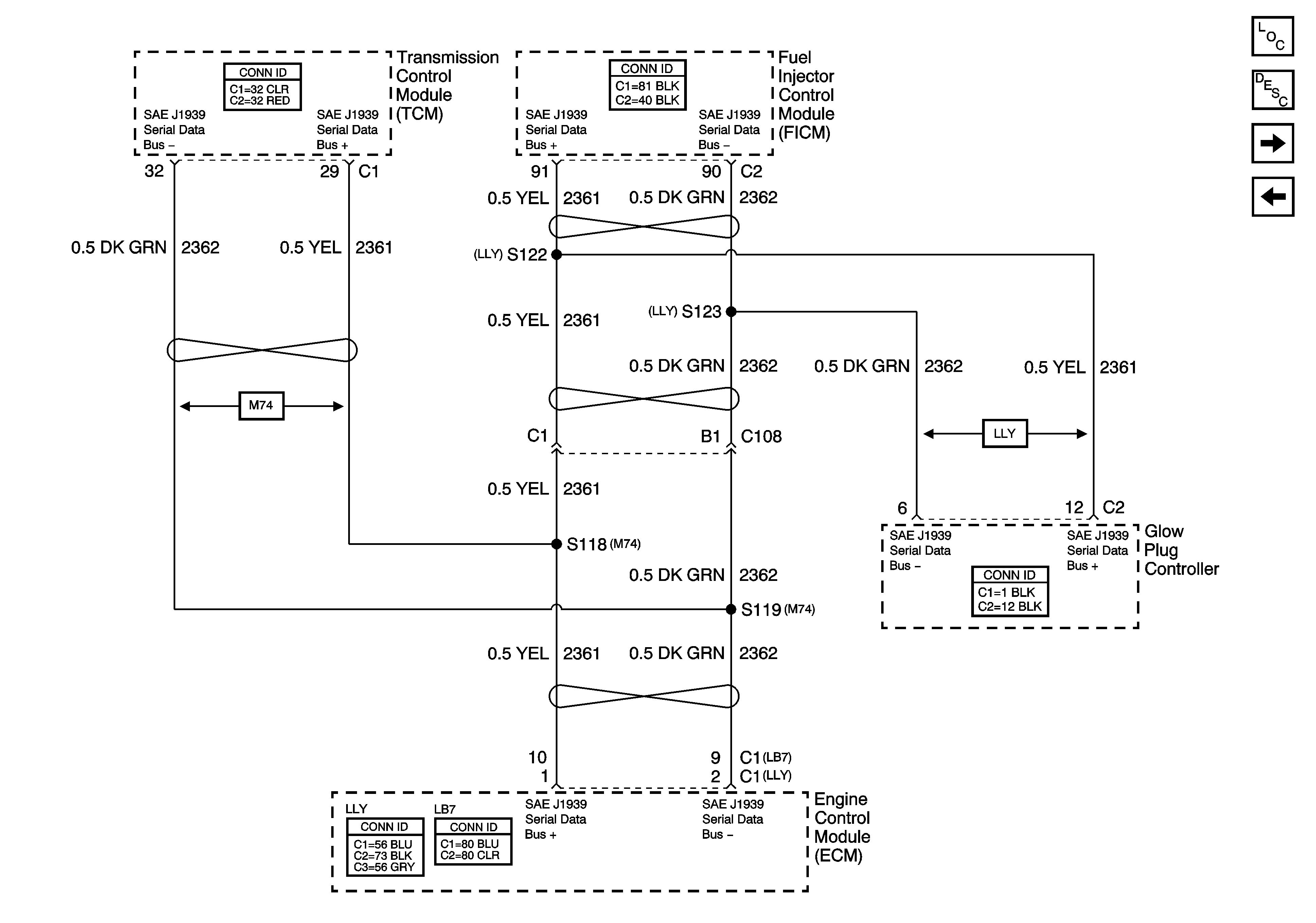
Figure 5:

Controller Area Network (CAN) - Diesel


Object Number: 1364203  Size: FS
Master Electrical Component List
Data Link Communications Description and Operation
High Speed GMLAN - Hybrid Only
SP207
Figure 6:

High Speed GMLAN - Hybrid Only


Object Number: 1376926  Size: FS
Master Electrical Component List
Data Link Communications Description and Operation
Controller Area Network (CAN) - Diesel
SP205 - 2 of 2
SP205 - 2 of 2