GM Service Manual Online
For 1990-2009 cars only
Makes
🢒
Chevrolet
🢒
2004
🢒
Chevy K Silverado - 4WD
🢒 Relays - Crew Cab w/YE9
Relays - Crew Cab w/YE9
Relays - Crew Cab w/YE9
Master Electrical Component List
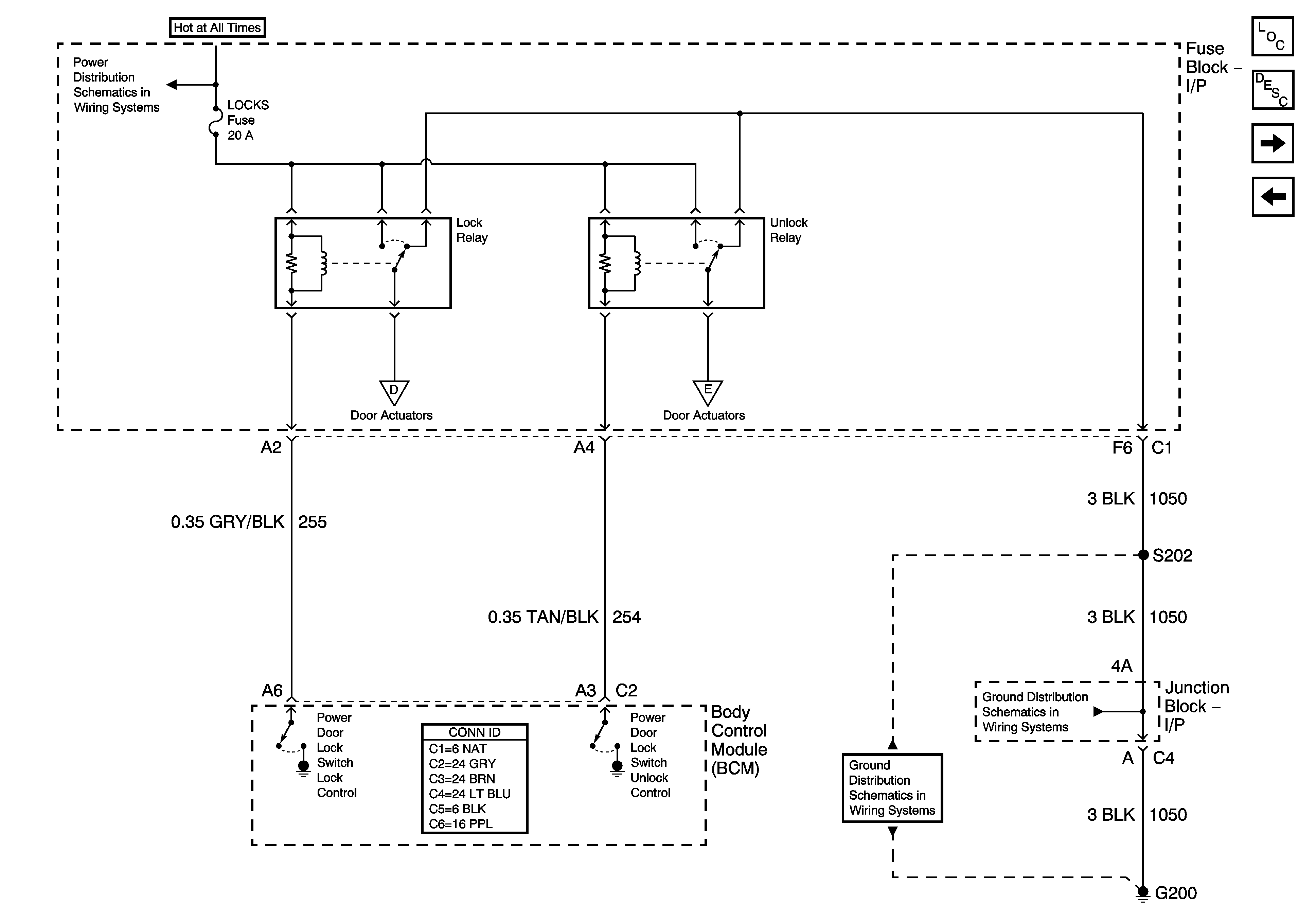
Power Door Locks Description and Operation
Rear Door Actuators - Crew Cab w/YE9
Switches and Front Door Actuators - YE9
LBEC 1, LBEC 2, and MBEC 1 Fuses
Rear Door Actuators - Crew Cab w/YE9
Rear Door Actuators - Crew Cab w/YE9
G200 - 1 of 3
G200 - 1 of 3