GM Service Manual Online
For 1990-2009 cars only

Removal Procedure


    Object Number: 1698261  Size: SH
  1. Remove the D-Rings. Refer to Front D-Ring Bracket Replacement in Frame and Underbody.
  2. Remove the front winch power disconnect (if equipped). Refer to Front Winch Harness and Connector Replacement in Engine Electrical.
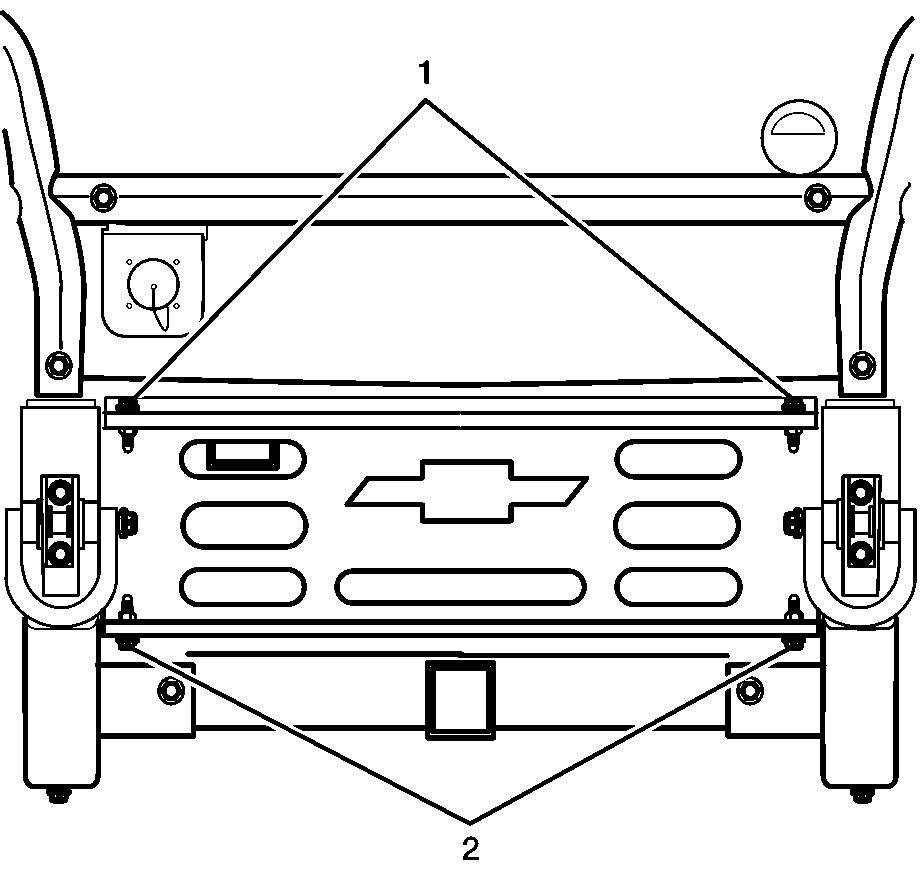
  3. Remove the upper 4 bolts (1) from the bumper.
  4. Remove the lower 4 bolts (2) from the bumper and remove from vehicle.

Installation Procedure


    Object Number: 1698261  Size: SH
  1. Install the center bumper onto the frame brackets and install upper bolts (1).
  2. Notice: Refer to Fastener Notice in the Preface section.

  3. Install the lower bolts (2) and tighten all bolts.
  4. Tighten
    Tighten bumper bolts to 88-98 N·m (65-72 lb ft).

  5. Remove the front winch power disconnect (if equipped). Refer to Front Winch Harness and Connector Replacement in Engine Electrical.
  6. Install the D-Rings to the vehicle. Refer to Front D-Ring Bracket Replacement in Frame and Underbody.