GM Service Manual Online
For 1990-2009 cars only

Removal Procedure

  1. Remove the bumper. Refer to Rear Bumper Replacement .
  2. Remove the side molding push-pins.

  3. Object Number: 347053  Size: SH
  4. Release the step pad from the bumper by prying up on the step pad.
  5. Remove the step pad.

Installation Procedure


    Object Number: 347053  Size: SH
  1. Install the step pad to the bumper by pushing down on the clips.
  2. Insert the side molding push-pins.
  3. Install the bumper. Refer to Rear Bumper Replacement .

Removal Procedure


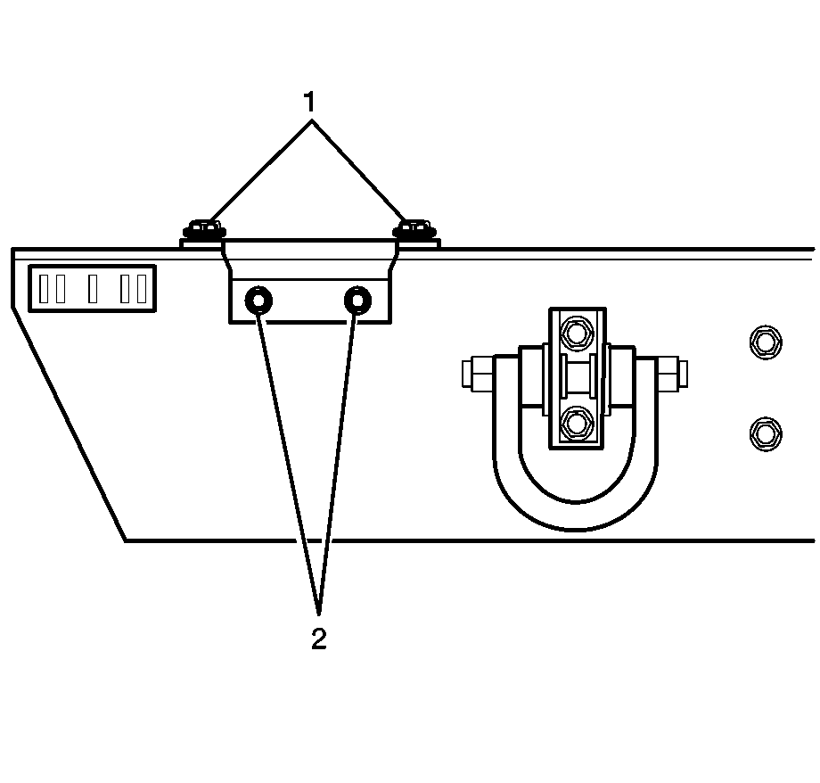
    Object Number: 1698267  Size: SH
  1. Remove the upper mounting bolts (1).
  2. Remove the lower mounting bolts (2).
  3. Remove the step from the bumper.

Installation Procedure


    Object Number: 1698267  Size: SH
  1. Install the step onto the bumper.
  2. Notice: Refer to Fastener Notice in the Preface section.

  3. Install the upper mounting bolts (1).
  4. Tighten
    Tighten upper bolts to 45 N·m (33 lb ft).

  5. Install the lower mounting bolts (2).
  6. Tighten
    Tighten lower bolts to 45 N·m (33 lb ft).