GM Service Manual Online
For 1990-2009 cars only

Removal Procedure


    Object Number: 406215  Size: SH
  1. Disconnect the license plate lamp harness.

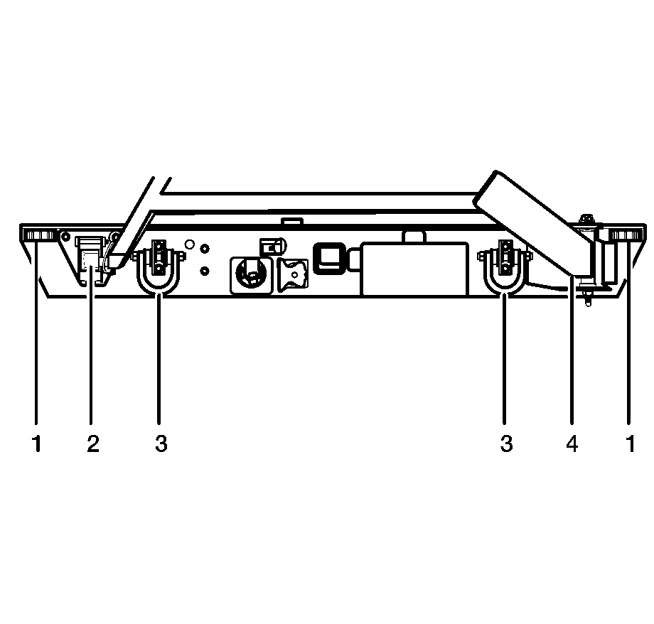
  2. Object Number: 379246  Size: SH
  3. Remove the impact bar nut (1).
  4. Remove the plate nuts (2).
  5. Remove the lower frame rail to bracket bolt (3).
  6. Remove the side frame rail to bracket bolt (4).

  7. Object Number: 393110  Size: SH
  8. Remove the rear trailer hitch to bumper bolts (1), if equipped.
  9. Remove the rear bumper from the vehicle.

Installation Procedure

  1. Position the rear bumper onto the vehicle.

  2. Object Number: 393110  Size: SH
  3. Install the rear trailer hitch to bumper bolts (1), if equipped.
  4. Notice: Refer to Fastener Notice in the Preface section.


    Object Number: 379246  Size: SH
  5. Install the impact bar nut (1).
  6. Tighten
    Tighten the impact bar nut (1) to 50 N·m (37 lb ft).

  7. Install the plate nuts (2).
  8. Tighten
    Tighten the plate nuts (2) to 90 N·m (66 lb ft).

  9. Install the lower frame rail to bracket bolt (3).
  10. Tighten
    Tighten the lower frame rail to bracket bolt (3) to 100 N·m (74 lb ft).

  11. Install the side frame rail to bracket bolt (4).
  12. Tighten
    Tighten the side frame rail to bracket bolt (4) to 40 N·m (30 lb ft).

  13. Install the bumper step pad. Refer to Rear Bumper Step Pad Replacement .

  14. Object Number: 406215  Size: SH
  15. Install the license plate lamp harness.

Rear Bumper Replacement Maintenance Body

Removal Procedure

    Caution: Refer to Battery Disconnect Caution in the Preface section.


    Object Number: 1700950  Size: SH
  1. Disconnect the battery cables. Refer to Battery Cable Disconnect and Connection in Engine Electrical.
  2. Remove the D-rings. Refer to Rear D-Ring Replacement in Frame and Underbody.
  3. Disconnect the trailer wiring harness.
  4. Remove the 4 bumper bolts (1), right side shown left side similar.
  5. Using the aid of an assistant, remove the rear bumper from the vehicle by sliding it off the brackets.

  6. Object Number: 1693480  Size: SH
  7. Remove the trailer wiring harness from the rear bumper. Refer to 12V and 24V Harness Replacement in Wiring Systems.
  8. Remove the marker lamps. Refer to Rear Marker Lamp Replacement in Lighting Systems.

  9. Object Number: 1702052  Size: SH
  10. Remove the taillamps (1). Refer to Taillamp Replacement in Lighting Systems.
  11. Remove the blackout (B/O) marker lamps (2). Refer to Rear Marker Lamp Replacement in Lighting Systems.
  12. Remove the 12-pin trailer connector (4). Refer to Military Trailer Connector Replacement in Lighting Systems.
  13. Remove the commercial trailer connector (3). Refer to Commercial Trailer Connector Replacement in Lighting Systems.

Installation Procedure


    Object Number: 1693480  Size: SH
  1. Install the marker lamps. Refer to Rear Marker Lamp Replacement in Lighting Systems.

  2. Object Number: 1702052  Size: SH
  3. Install the taillamps (1). Refer to Taillamp Replacement in Lighting Systems.
  4. Install the blackout (B/O) marker lamps (2). Refer to Rear Marker Lamp Replacement in Lighting Systems.
  5. Install the 12-pin trailer connector (4). Refer to Military Trailer Connector Replacement in Lighting Systems.
  6. Install the commercial trailer connector (3). Refer to Commercial Trailer Connector Replacement in Lighting Systems.
  7. Install the trailer wiring harness. Refer to 12V and 24V Harness Replacement in Wiring Systems.
  8. Using the aid of an assistant, position the rear bumper onto the vehicle by sliding it on to the tie down plates.
  9. Notice: Refer to Fastener Notice in the Preface section.


    Object Number: 1700950  Size: SH
  10. Install the 4 bumper bolts (1), right side shown left side similar.
  11. Tighten
    Tighten the bumper bolts to 79 N·m (59 lb ft).

  12. Connect the trailer wiring harness.
  13. Connect the battery cables. Refer to Battery Cable Disconnect and Connection in Engine Electrical.
  14. Install the D-rings. Refer to Rear D-Ring Replacement in Frame and Underbody.

Rear Bumper Replacement LSSV

Removal Procedure


    Object Number: 1698269  Size: SH
  1. Remove the swing away spare tire carrier pivot bracket (4) (if equipped). Refer to Spare Tire Carrier Pivot Bracket Replacement in Tires and Wheels.
  2. Remove the swing away spare tire carrier latch (2) (if equipped). Refer to Spare Tire Carrier Latch Replacement in Tires and Wheels.
  3. Remove the rear D-ring brackets (3). Refer to Rear D-Ring Bracket Replacement in Frame and Underbody.
  4. Remove the rear blackout (B/O) taillamps (1). Refer to Blackout (B/O) Taillamp Replacement in Lighting Systems.

  5. Object Number: 1698272  Size: SH
  6. Remove the license plate lamp (2). Refer to License Plate Lamp Replacement in Lighting Systems.
  7. Remove the license plate bracket (1). Refer to License Plate Bracket Replacement .
  8. Remove the rear step pad if equipped. Refer to Rear Bumper Step Pad Replacement .

  9. Object Number: 1698270  Size: SH
  10. Remove the 24V trailer connector (3). Refer to Military Trailer Connector Replacement in Lighting Systems.
  11. Remove the 12V trailer connector (1). Refer to Commercial Trailer Connector Replacement in Lighting Systems.
  12. Remove the rear winch power disconnect (2) (if equipped). Refer to Rear Winch Harness and Connector Replacement in Engine Electrical.

  13. Object Number: 1698274  Size: SH
  14. Remove the rear relay mounting bracket from the bumper.
  15. Remove the rear lamp wiring harness. Refer to Lamp Harness Replacement - Rear in Wiring Systems.
  16. Remove the bolts (1) securing the bumper to the vehicle.
  17. Remove the bumper and spacers from the mounting brackets.

Installation Procedure


    Object Number: 1698274  Size: SH
  1. Position the bumper and spacers to the vehicle and loosely install the bolts (1).
  2. Notice: Refer to Fastener Notice in the Preface section.

  3. Align the bumper from side to side and tighten bolts.
  4. Tighten
    Tighten bumper bolts to 97 N·m (72 lb ft).

  5. Install the rear lamp wiring harness. Refer to Lamp Harness Replacement - Rear in Wiring Systems.
  6. Install the rear relay mounting bracket from the bumper.

  7. Object Number: 1698270  Size: SH
  8. Install the rear winch power disconnect (2) (if equipped). Refer to Rear Winch Harness and Connector Replacement in Engine Electrical.
  9. Install the 12V trailer connector (1). Refer to Commercial Trailer Connector Replacement in Lighting Systems.
  10. Install the 24V trailer connector (3). Refer to Military Trailer Connector Replacement in Lighting Systems.

  11. Object Number: 1698272  Size: SH
  12. Install the license plate bracket (1). Refer to License Plate Bracket Replacement .
  13. Install the license plate lamp (2). Refer to License Plate Lamp Replacement in Lighting Systems.
  14. Install the rear step pads. Refer to Rear Bumper Step Pad Replacement .

  15. Object Number: 1698269  Size: SH
  16. Install the rear blackout (B/O) taillamps (1). Refer to Blackout (B/O) Taillamp Replacement in Lighting Systems.
  17. Install the rear D-ring brackets (3). Refer to Rear D-Ring Bracket Replacement in Frame and Underbody.
  18. Install the swing away spare tire carrier latch (2) (if equipped). Refer to Spare Tire Carrier Latch Replacement in Tires and Wheels.
  19. Install the swing away spare tire carrier pivot bracket (4) (if equipped). Refer to Spare Tire Carrier Pivot Bracket Replacement in Tires and Wheels.