GM Service Manual Online
For 1990-2009 cars only
Makes
🢒
Chevrolet
🢒
1999
🢒
Chevy P12 Chassis
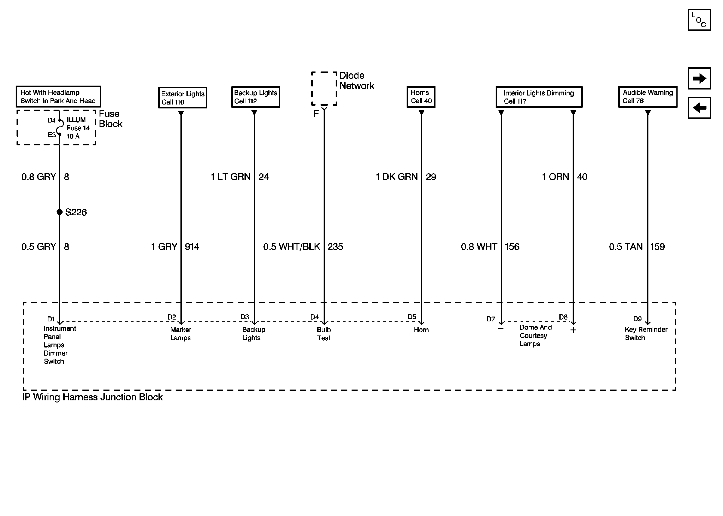
🢒 Cell 18: Cavity D
Cell 18: Cavity D
Cell 18: Cavity D
Power and Grounding Components
Cell 18: Cavities E and F
Cell 18: Cavities A, B, and C
Cell 110: Rear Lamps
Cell 112
Cell 40
Cell 117
Cell 76