GM Service Manual Online
For 1990-2009 cars only

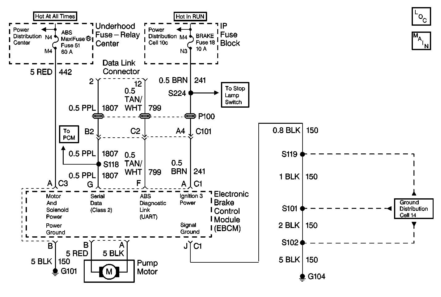
Object Number: 305930  Size: MF
ABS Components
Antilock Brake System Schematics

Circuit Description (DTCs C0265/C0266)

The pump motor relay supplies power to all six solenoid coils (three isolation solenoid coils and three dump solenoid coils) and the pump motor when the ABS is required. The relay and the six solenoid coils are located within the EBCM.

Conditions for Setting the DTC (DTC C0265)

    • The EBCM microprocessor commands the relay on
    • Low voltage exists on all six solenoid driver circuits when high voltage is expected (the solenoid is not energized)

Conditions for Setting the DTC (DTC C0266)

    • The ABS bulb check is complete
    • High voltage exists on the pump motor driver circuit when all are expected to be low (the relay is not commanded on)

Action Taken When the DTC Sets

    • The ABS indicator lamp turns on
    • The ABS disables

DTCs C0265 and C0266 are Ignition Latched DTCs, which indicates that the above actions remain true until the ignition is turned to OFF (even if the cause of the DTC is intermittent).

Conditions for Clearing the DTC

    • Repair the conditions responsible for setting the DTC
    • Use the Scan Tool Clear DTCs function

Diagnostic Aids (DTC C0265)

DTC C0265 usually sets because of an open relay coil or non-closable relay contacts. The relay is located within the EBCM. The relay is not serviceable. If the test does not repair the DTC, then replace the EBCM.

If DTC C0265 appears with other DTCs repair the other DTCs first. Clear all DTCs. Then run three function tests with the Scan Tool . Refer to this diagnostic chart if DTC C0265 resets.

Diagnostic Aids (DTC C0266)

DTC C0266 usually sets when the relay contacts are stuck closed. The relay is located within the EBCM. The relay is not serviceable. If the test does not repair the DTC, then replace the EBCM.

Test Description

The numbers below refer to the steps in the diagnostic table:

  1. This step determines the resistance of the power ground circuit.

  2. This step determines the battery voltage available to the EBCM.

  3. This step determines the resistance of the signal ground circuit.

  4. This step determines the ignition voltage available to the EBCM.

Step

Action

Value(s)

Yes

No

1

Was the Diagnostic System Check performed?

--

Go to Step 2

Go to Diagnostic System Check - ABS

2

  1. Turn the ignition switch to OFF.
  2. Disconnect the 2-way EBCM harness connector from the EBCM.
  3. Inspect the connector for damage or corrosion that could cause a loss of power to the EBCM.

Is the connector in good condition?

--

Go to Step 3

Go to Step 11

3

Using a J 39200 , measure the resistance between terminal B of the 2-way EBCM harness connector and the ground.

Is the resistance measurement within the specified range?

0.1- 0.5 ohms

Go to Step 4

Go to Step 2

4

Using a J 39200 , measure the voltage between terminal A of the 2-way EBCM harness connector and the ground .

Is the voltage equal to or greater than the specified value?

10.0 V

Go to Step 6

Go to Step 5

5

Inspect the 60-amp ABS maxi-fuse.

Is the maxi-fuse open?

--

Go to Step 13

Go to Step 14

6

  1. Disconnect the 10-way EBCM harness connector from the EBCM.
  2. Inspect the connector for damage or corrosion that could cause a loss of power to the EBCM.

Is the connector in good condition?

--

Go to Step 7

Go to Step 15

7

Measure the resistance between terminal J of the 10-way EBCM harness connector and the ground using a J 39200 .

Is the resistance measurement within the specified range?

0-2 ohms

Go to Step 8

Go to Step 16

8

  1. Turn the ignition to RUN.
  2. Measure the voltage between terminal A of the 10-way EBCM harness connector and the ground using a J 39200 .

Is the voltage equal to or greater than the specified value?

10.0 V

Go to Step 10

Go to Step 9

9

Inspect the 10-amp BRAKE fuse.

Is the fuse open?

--

Go to Step 17

Go to Step 18

10

  1. Inspect the 10-way and 2-way EBCM harness connectors for poor terminal contact or corrosion. Inspect CKT 442 , CKT 150 and CKT  241 for damage that could result in an intermittent open circuit. Repair any evident damage. Replace the terminals if poor contact or corrosion exists.
  2. Reconnect all the connectors.
  3. Clear all DTCs using the Scan Tool .
  4. Test drive vehicle above the 16 km/h (10 mph).

Does the DTC set as a current DTC?

--

Go to Step 19

Go to Diagnostic Aids

11

Repair the 2-way EBCM harness connector. Refer to Connector Repairs .

Is the repair complete?

--

Go to Diagnostic System Check - ABS

--

12

Repair the open or the high resistance in the CKT 150. Refer to Wiring Repairs .

Is the repair complete?

--

Go to Diagnostic System Check - ABS

--

13

Repair the short to ground in the CKT 442. Refer to Wiring Repairs .

Is the repair complete?

--

Go to Diagnostic System Check - ABS

--

14

Repair the open or the high resistance in the CKT 442. Refer to Wiring Repairs .

Is the repair complete?

--

Go to Diagnostic System Check - ABS

--

15

Repair the 10-way EBCM harness connector. Refer to Connector Repairs .

Is the repair complete?

--

Go to Diagnostic System Check - ABS

--

16

Repair the open or the high resistance in the CKT 150. Refer to Wiring Repairs .

Is the repair complete?

--

Go to Diagnostic System Check - ABS

--

17

Repair the short to ground in the CKT 241. Refer to Wiring Repairs .

Is the repair complete?

--

Go to Diagnostic System Check - ABS

--

18

Repair the open or the high resistance in the CKT 241. Refer to Wiring Repairs .

Is the repair complete?

--

Go to Diagnostic System Check - ABS

--

19

Replace the EBCM. Refer to Electronic Brake Control Module Replacement .

Is the repair complete?

--

Go to Diagnostic System Check - ABS

--