GM Service Manual Online
For 1990-2009 cars only

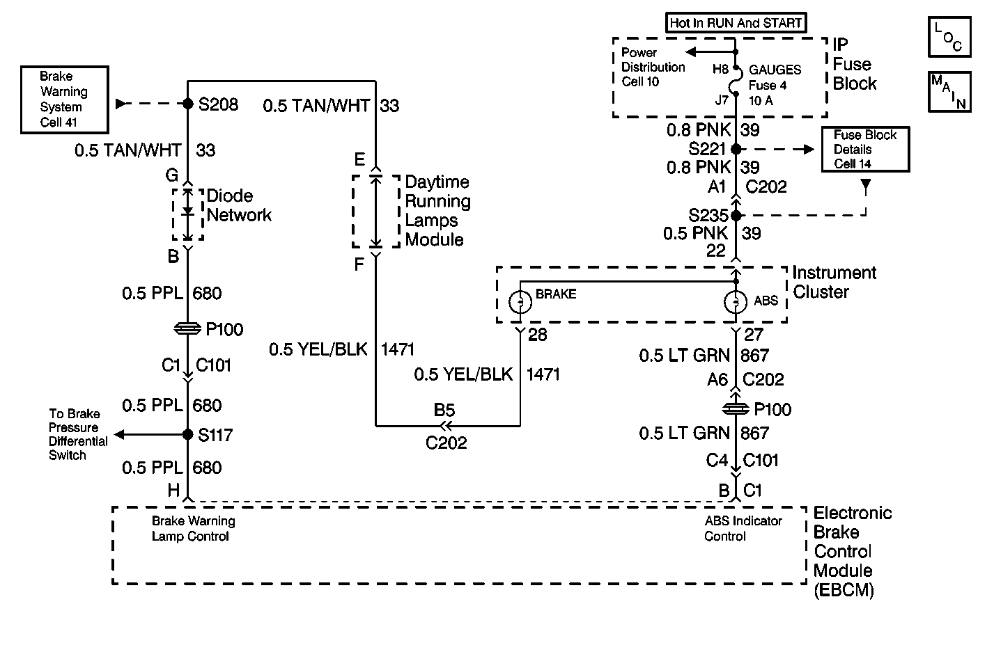
Object Number: 306400  Size: MF
ABS Components
Antilock Brake System Schematics

Circuit Description

The amber ABS indicator lamp is supplied ignition voltage through the GAUGE fuse. The indicator is normally on unless the EBCM switches the indicator off (normal mode). This logic ensures that the indicator will be illuminated if there is an open in CKT 867 or a faulty EBCM.

Conditions for Setting the DTC

    • High voltage is present on the ABS indicator lamp control circuit when low voltage is expected (lamp is turned on)
    • Anything that keeps the ABS indicator lamp circuit high when the lamp is expected to be on

Action Taken When the DTC Sets

    • The ABS is not disabled.
    •  The EBCM will use the red BRAKE warning lamp to alert the driver of an ABS malfunction.

Conditions for Clearing the DTC

    • Repair the conditions responsible for setting the DTC
    • Use the Scan Tool Clear DTCs function

Diagnostic Aids

DTC C0286 typically sets because of a shorted ABS indicator lamp. Yet DTC C0286 can also set because of a short to voltage in the wiring between the ABS indicator lamp and the EBCM.

Test Description

The numbers below refer to the steps in the diagnostic table:

  1. This step checks for normal operation of the ABS indicator lamp.

  2. This step turns off the ABS indicator lamp with a J 36169-A .

Step

Action

Value(s)

Yes

No

1

Was the Diagnostic System Check performed?

--

Go to Step 2

Go to Diagnostic System Check - ABS

2

  1. Turn the ignition to RUN.
  2. Observe the amber ABS indicator lamp operation.
  3. Did the ABS indicator lamp turn on and then turn off after 3 seconds?

--

Go to Step 5

Go to Step 3

3

  1. Turn the ignition to OFF.
  2. Remove the GAUGES fuse from the IP fuse block.
  3. Disconnect the 10-way EBCM harness connector from the EBCM.
  4. Using a J 39200 , test for voltage between terminal B of the 10-way EBCM harness connector and chassis ground.

Does the J 39200 indicate that a voltage is present?

--

Go to Step 4

Go to Step 6

4

  1. J 39200 still connected.
  2. Disconnect the instrument cluster harness connector.

Does the J 39200 indicate that a voltage is present?

--

Go to Step 7

Go to Step 8

5

Malfunction is intermittent. Inspect all connectors and harnesses for damage which may result in high resistance when all components are connected. Perform all necessary repairs.

Is the repair complete?

--

Go to Diagnostic System Check - ABS

Go to Diagnostic Aids

6

Replace the EBCM. Refer to Electronic Brake Control Module Replacement .

Is the repair complete?

--

Go to Diagnostic System Check - ABS

--

7

Repair a short to voltage in CKT 867. Refer to Wiring Repairs .

Is the repair complete?

--

Go to Diagnostic System Check - ABS

--

8

Replace the Instrument Cluster.

Is the repair complete?

--

Go to Diagnostic System Check - ABS

--