GM Service Manual Online
For 1990-2009 cars only

Steering Gear Worm Gear Thrust Bearing Preload Adjustment - Off Vehicle 708 Model

Tools Required

J 7624 Bearing Preload Spanner Wrench


    Object Number: 313969  Size: SH

    Important: Adjust the worm thrust bearing preload first before adjusting the pitman shaft-over-center preload.

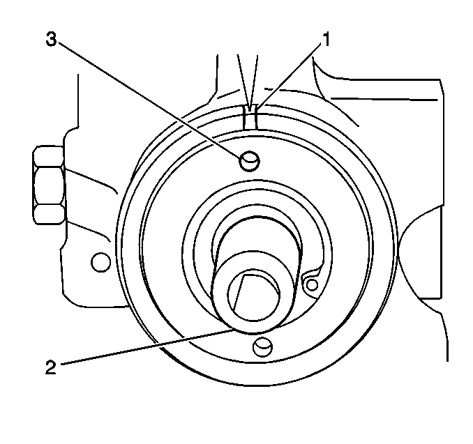
  1. Loosen and remove the adjuster plug nut (1).
  2. Notice: Use the correct fastener in the correct location. Replacement fasteners must be the correct part number for that application. Fasteners requiring replacement or fasteners requiring the use of thread locking compound or sealant are identified in the service procedure. Do not use paints, lubricants, or corrosion inhibitors on fasteners or fastener joint surfaces unless specified. These coatings affect fastener torque and joint clamping force and may damage the fastener. Use the correct tightening sequence and specifications when installing fasteners in order to avoid damage to parts and systems.

  3. Use the J 7624 in order to turn the adjuster plug (2) in (clockwise). Turn the plug until the plug and the thrust bearing are firmly bottomed in the housing.
  4. Tighten
    Tighten the adjuster plug to 27 N·m (20 lb ft).


    Object Number: 313965  Size: SH
  5. Place an index mark (1) on the housing even with one of the holes in the adjuster plug.
  6. Measure counterclockwise 4.7-6.3 mm (3/16-1/4 in) from the index mark (1). Mark the housing.
  7. Use the J 7624 in order to rotate the adjuster plug counterclockwise until the hole in the plug is aligned with the second mark on the housing.
  8. Install the adjuster plug nut.
  9. Tighten
    Tighten the nut to 109 N·m (80 lb ft). Ensure that the adjuster plug does not turn when tightening the nut.

  10. Use an inch-pound torque wrench and a 12-point deep socket in order to measure the torque required to turn the stub shaft. Take the reading with the handle of the torque wrench near the vertical position. Turn the stub shaft to the right stop. Turn the stub shaft back (counterclockwise) 1/4 turn at an even rate. Record the torque reading.
  11. The torque required to turn the stub shaft should be 0.45-1.13 N·m (4-10 lb in). If the reading is above or below the specified torque the following conditions may be the cause:
  12. • The adjuster plug may not be tightened properly.
    • The adjuster plug may have turned when the adjuster plug nut was tightened.
    • The thrust bearings and the races may be damaged.

Steering Gear Worm Gear Thrust Bearing Preload Adjustment - Off Vehicle 710 Model

Tools Required

    • J 7624 Bearing Preload Spanner Wrench
    • J 7754-01 Torque Wrench
  1. Center the front wheels and the steering wheel.
  2. Remove the pitman arm. Refer to Pitman Arm Replacement in Steering Linkage.
  3. Remove the cardan joint clamp bolt. Refer to Steering Wheel and Column.
  4. Remove the cardan joint.
  5. Slide the intermediate shaft up until the joint clears the steering gear stub shaft.

  6. Object Number: 218914  Size: MH
  7. Use the J 7754-01 in order to loosen the lock nut (1).

  8. Object Number: 218917  Size: SH
  9. Use the J 7624 in order to turn the pitman shaft preload adjuster (2) clockwise. This will relieve the over-center preload. Turning the pitman shaft preload adjuster provides clearance between the sector gear and the worm ball nut.

  10. Object Number: 313989  Size: SH

    Notice: Avoid contaminating the power steering system. Cap open hoses and ports to prevent dirt and debris from entering system. Contaminated power steering fluid and dirt can cause early parts failure.

  11. Disconnect the hydraulic hoses at the pump.
  12. Cap the hoses in order to prevent contamination.
  13. Tag the hydraulic hose locations.
  14. Turn OFF the engine.
  15. Turn the stub shaft (18) to the right and to the left until the gear stops draining.

  16. Object Number: 218920  Size: SH
  17. Place the torque wrench with a 3/4 inch 12-point socket on the stub shaft (1). Move the torque wrench at a constant speed and through a 90 degree arc. Record the readings. The readings should be taken 90 degrees from the stop.
  18. Repeat the procedure several times in order to obtain an average reading. The worm shaft thrust bearing preload should be 0.7-1.3 N·m (6-12 lb in).
  19. If you notice rough or lumpy action, the bearings may be damaged. Remove and repair the steering gear.

    If the worm shaft bearing preload is within the specifications, perform the Pitman Shaft Over-Center Preload Adjustment. Refer to Steering Gear Pitman Shaft Over-Center Preload Adjustment - Off Vehicle .

    If a worm shaft bearing preload adjustment is necessary continue with the adjustment procedure.


    Object Number: 218914  Size: MH
  20. Use the J 7754-01 in order to loosen the adjuster plug lock nut (1).

  21. Object Number: 218917  Size: SH
  22. Use the J 7624 in order to turn the adjuster plug (1) clockwise. Turn the adjuster plug (1) until the plug (1) and the worm shaft bearing are firmly bottomed, about 27 N·m (20 lb ft).

  23. Object Number: 218920  Size: SH
  24. Mark (3) the housing in line with one of the adjuster plug holes (2).

  25. Object Number: 218928  Size: SH
  26. Measure 13 mm (1/2 in) counterclockwise. Mark (4) the housing again.

  27. Object Number: 218930  Size: SH
  28. Rotate the adjuster plug (3) until the adjuster plug hole is aligned with the second mark (1).
  29. Notice: Use the correct fastener in the correct location. Replacement fasteners must be the correct part number for that application. Fasteners requiring replacement or fasteners requiring the use of thread locking compound or sealant are identified in the service procedure. Do not use paints, lubricants, or corrosion inhibitors on fasteners or fastener joint surfaces unless specified. These coatings affect fastener torque and joint clamping force and may damage the fastener. Use the correct tightening sequence and specifications when installing fasteners in order to avoid damage to parts and systems.

  30. Install the adjuster plug lock nut, while holding the adjuster plug in order to maintain the adjustment.
  31. Tighten
    Tighten the adjuster plug lock nut to 109 N·m (80 lb ft).

  32. Repeat step 7. Repeat steps 7 through 11, if necessary, in order to achieve the proper preload. If you cannot achieve the proper worm shaft bearing preload, replace the steering gear. Refer to Steering Gear Replacement .
  33. With the worm shaft bearing properly adjusted, adjust the pitman shaft over-center preload. Refer to
  34. Steering Gear Pitman Shaft Over-Center Preload Adjustment - Off Vehicle