GM Service Manual Online
For 1990-2009 cars only
Makes
🢒
Chevrolet
🢒
1999
🢒
Chevy P42 Commercial Chassis
🢒 Cell 21: A/T Controls 1 - Stoplamp/TCC Switch, Internal Solenoids
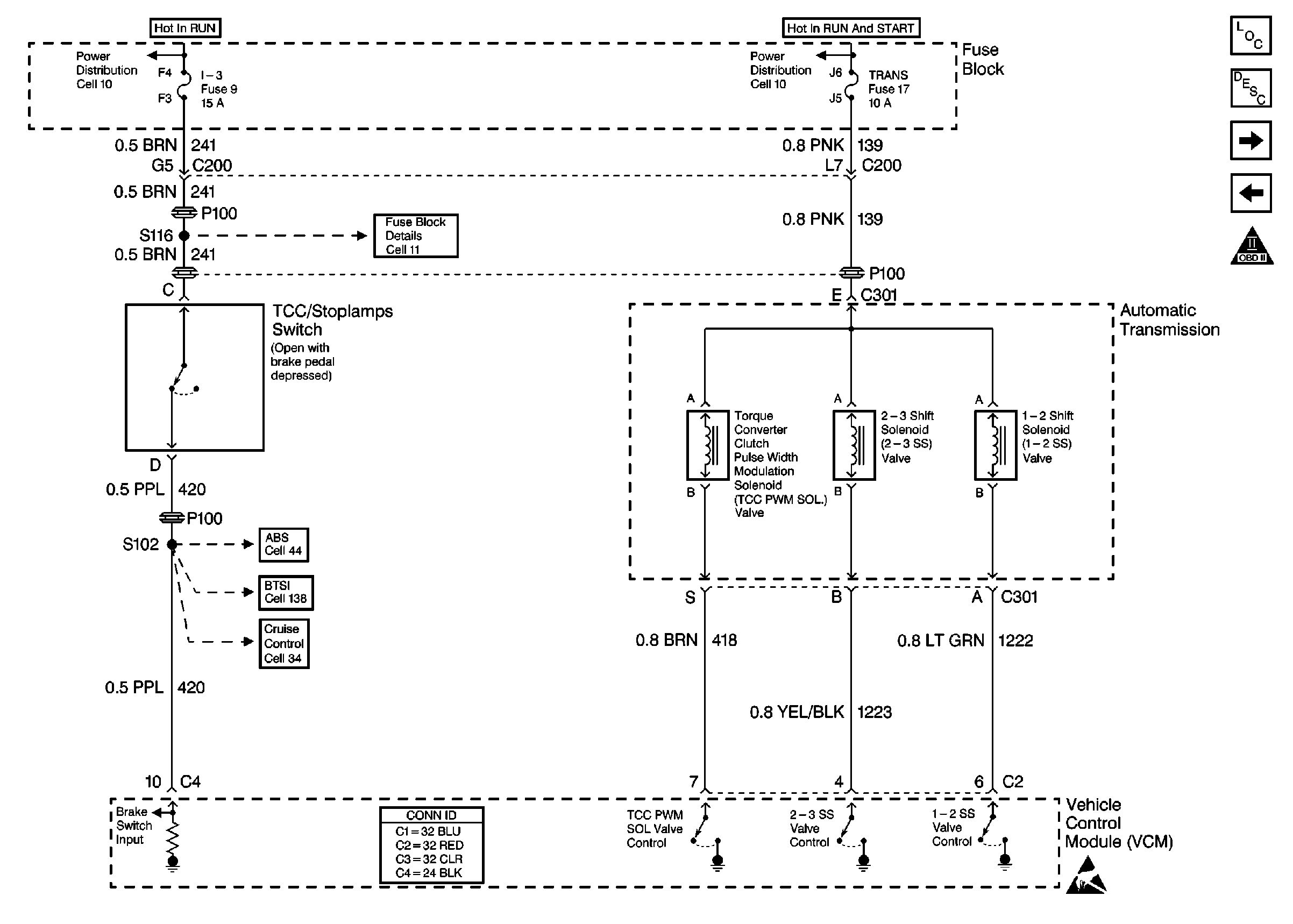
Cell 21: A/T Controls 1 - Stoplamp/TCC Switch, Internal Solenoids
Cell 21: A/T Controls 1 -- Stoplamp/TCC Switch, Internal Solenoids
Engine Controls Components
Electronic Component Description
Cell 21: A/T Controls 2 - TR, TFT, TISS, and PC Solenoid Valve
Cell 21: EVAP and EGR Controls
OBD II Symbol Description Notice
Cell 10: Ignition Switch and Fuse Block
Cell 11: I-3, TURN BU and HTR fuses, PWR CKT BRKR 2 and AUX CKT BRKR13
Cell 10: Ignition Switch and Fuse Block
Handling ESD Sensitive Parts Notice
Cell 138: P32 BTSI Circuit
Cell 44: Gas, ABS Power and Grounding, DLC Output