GM Service Manual Online
For 1990-2009 cars only
Makes
🢒
Chevrolet
🢒
1999
🢒
Chevy Suburban 4WD - RHD
🢒
Brakes
🢒
Park Brake
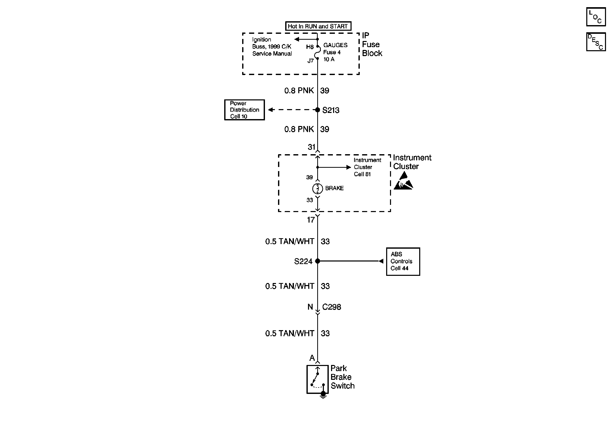
🢒 Park Brake System Schematics
Cell 46
Park Brake System Components
Park Brake System Circuit Description
Cell 10: TRANS & GAUGES Fuses
Cell 10: TRANS & GAUGES Fuses
Handling ESD Sensitive Parts Notice
Cell 81: Indicator Lamps
Cell 44: Wheel Speed Sensors, Common