GM Service Manual Online
For 1990-2009 cars only
Figure 1:

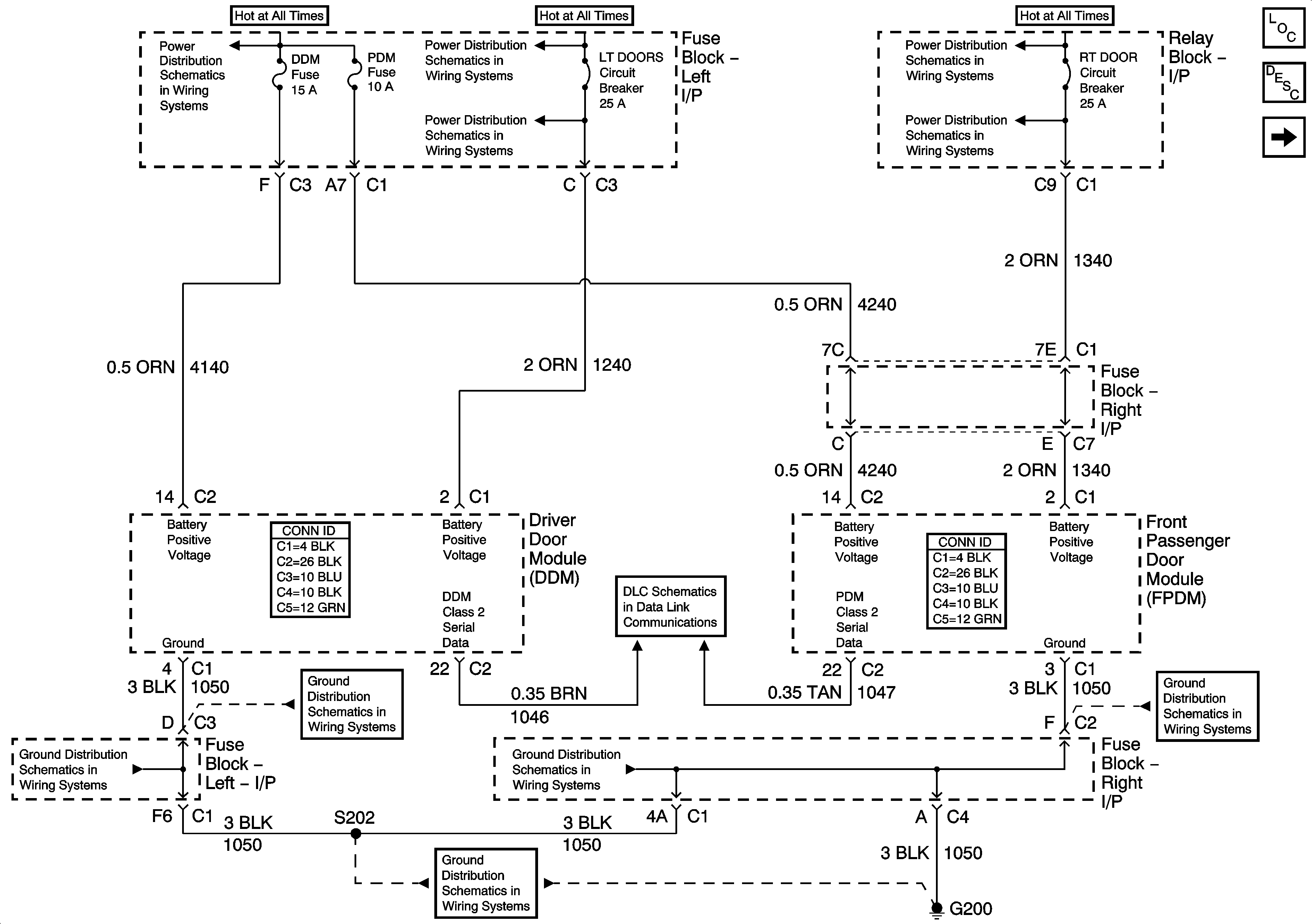
Power, Ground and Serial Data


Object Number: 1252751  Size: FS
Master Electrical Component List
Door Ajar Indicator Description and Operation
Driver Door Module References - 1 of 3
LBEC 1, LBEC 2, MBEC 1 Fuses
TBC 2A, TBC 2B, TBC 2C, LT DOORS, RT DOOR, SEAT Fuses
TBC 2A, TBC 2B, TBC 2C, LT DOORS, RT DOOR, SEAT Fuses
TBC 2A, TBC 2B, TBC 2C, LT DOORS, RT DOOR, SEAT Fuses
TBC 2A, TBC 2B, TBC 2C, LT DOORS, RT DOOR, SEAT Fuses
SP205 - 1 of 2
G200 - 1 of 3
G200 - 3 of 3
G200 - 3 of 3
G200 - 1 of 3
G200 - 1 of 3
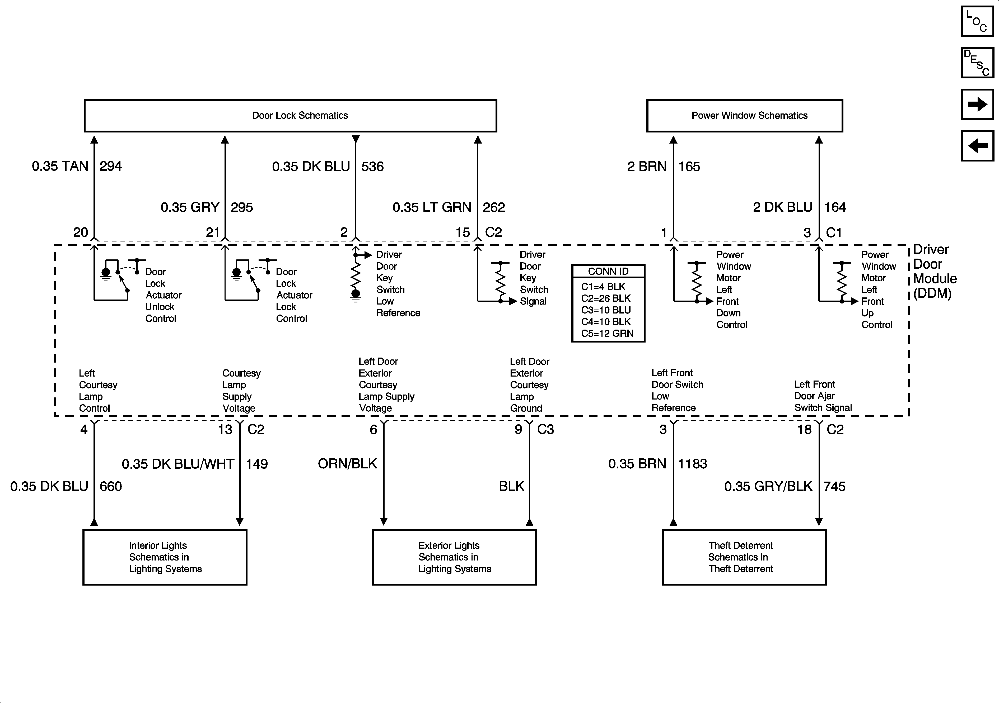
Figure 2:

Driver Door Module References - 1 of 3


Object Number: 1252752  Size: FS
Master Electrical Component List
Door Ajar Indicator Description and Operation
Driver Door Module References - 2 of 3
Power, Ground and Serial Data
Driver and Front Passenger
Left Doors
Courtesy Lamp Supply Voltage - 2 of 4
Exterior Illumination Lamps
Front Door Switches
Figure 3:

Driver Door Module References - 2 of 3


Object Number: 1252753  Size: FS
Master Electrical Component List
Door Ajar Indicator Description and Operation
Driver Door Module References - 3 of 3
Driver Door Module References - 1 of 3
Mirror Motors and Position Sensors - Driver
Figure 4:

Driver Door Module References - 3 of 3


Object Number: 1252754  Size: FS
Master Electrical Component List
Door Ajar Indicator Description and Operation
Front Passenger Door Module References - 1 of 2
Driver Door Module References - 2 of 3
Left Turn Signals - Domestic
I/P Dimming Supply Voltage - 4 of 7
Power, Ground, Serial Data and Switch Signals - AN3
Heat Controls - AN3
Heated Mirror and Electrochromic Controls
Ground and Electrochromic
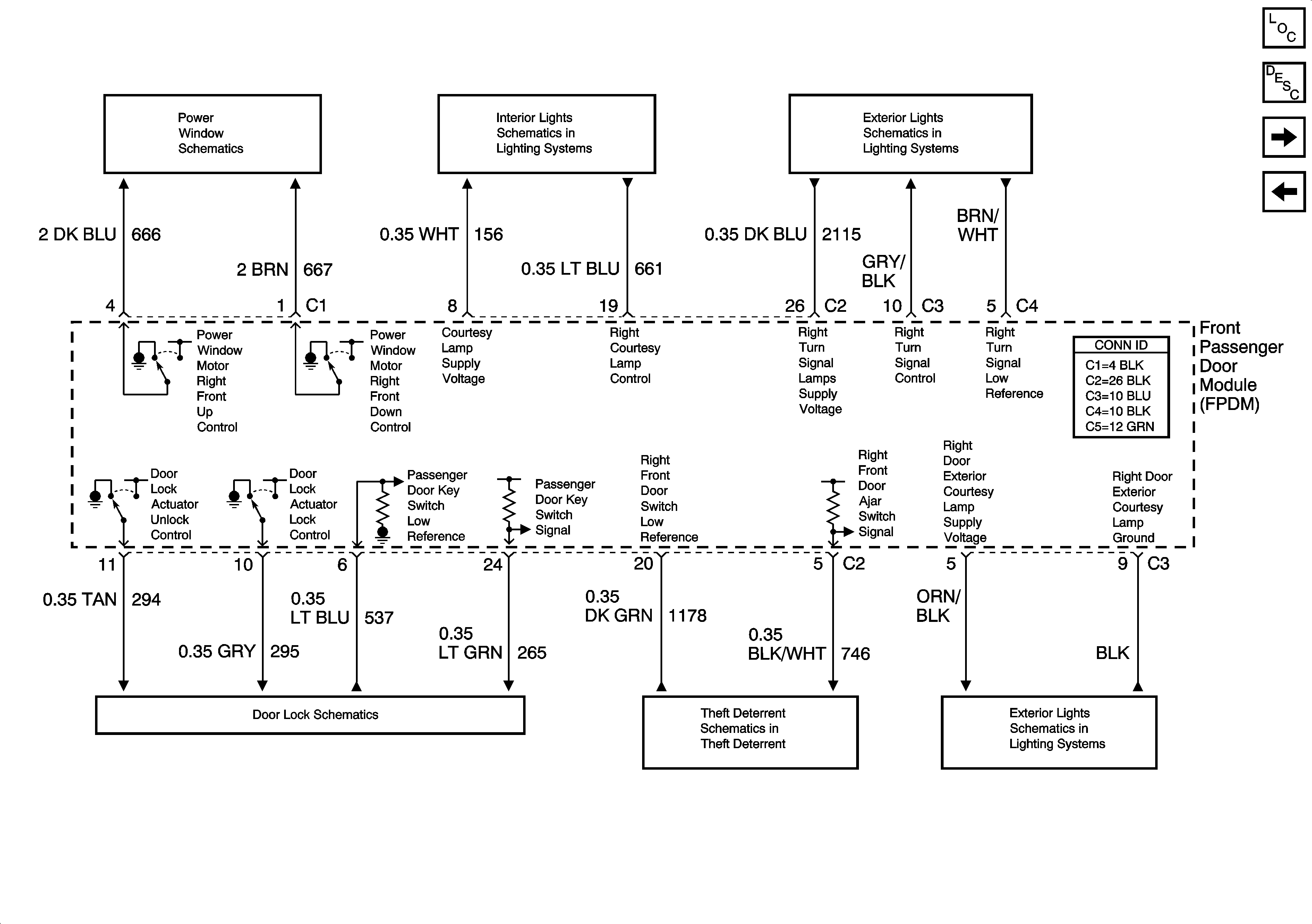
Figure 5:

Front Passenger Door Module References - 1 of 2


Object Number: 1252755  Size: FS
Master Electrical Component List
Door Ajar Indicator Description and Operation
Front Passenger Door Module References - 2 of 2
Driver Door Module References - 3 of 3
Right Doors
Courtesy Lamp Supply Voltage - 2 of 4
Right Turn Signals - Domestic
Driver and Front Passenger
Front Door Switches
Exterior Illumination Lamps
Figure 6:

Front Passenger Door Module References - 2 of 2


Object Number: 1252757  Size: FS
Master Electrical Component List
Door Ajar Indicator Description and Operation
Front Passenger Door Module References - 1 of 2
Heated Mirror and Electrochromic Controls
Heat Controls - 1 of 2 - AN3
Heat Controls - 1 of 2 - AN3
Mirror Motors and Position Sensors - Front Passenger