GM Service Manual Online
For 1990-2009 cars only

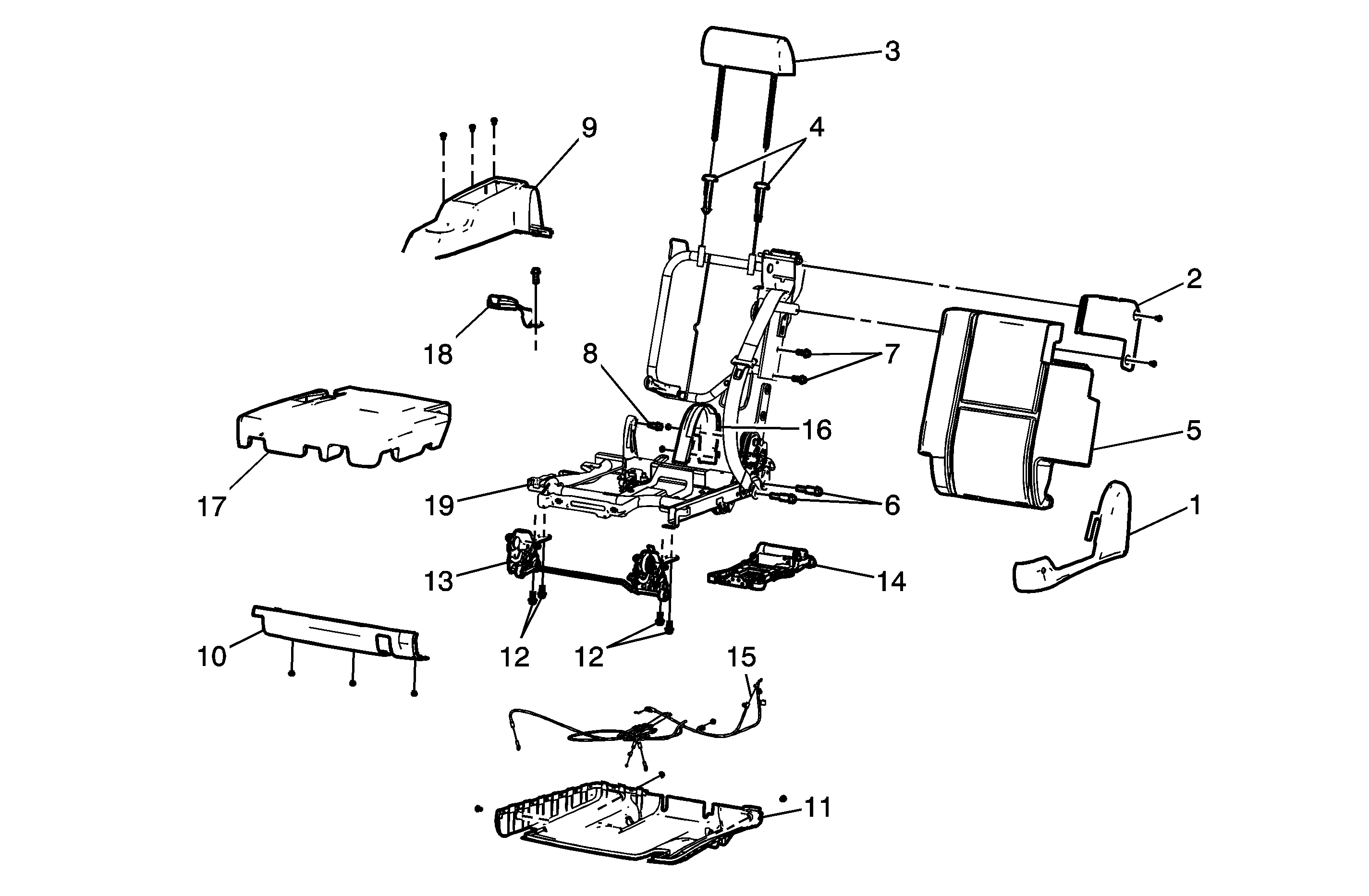
Object Number: 1683934  Size: MF

Callout

Component Name

Preliminary Procedure

Remove the rear seat. Refer to Rear Number 2 Seat Replacement .

1

Rear Seat No. 2 Back Cushion Latch Finish Cover

Refer to Rear Seat Number 2 Cushion Panel Replacement .

2

Rear Seat Hinge Finish Cover

Refer to Rear Seat Number 2 Hinge Finish Cover Replacement .

3

Rear Seat No. 2 Head Restraint Assembly

Refer to Rear Seat Number 2 Head Restraint Replacement .

4

Rear Seat No. 2 Head Restraint Guide (Qty: 2)

Refer to Rear Seat Number 2 Head Restraint Guide Replacement .

5

Rear Seat Back No. 2 Cushion Cover and Pad

Refer to Rear Seat Number 2 Back Cushion Cover and Pad Replacement .

6

Rear Seat No. 2 Cushion Frame Bolt (Qty: 2)

Notice: Refer to Fastener Notice in the Preface section.

Tighten
9 N·m (80 lb in)

7

Rear Seat No. 2 Back Bolt (Qty: 2)

Tighten
9 N·m (80 lb in)

8

Rear Seat No. 2 Back Bolt

Tighten
9 N·m (80 lb in)

9

Rear Seat No. 2 Cushion Compartment

Refer to Rear Seat Cushion Compartment Replacement .

10

Rear Seat No. 2 Back Cushion Latch Cover

Refer to Rear Seat Number 2 Cushion Panel Replacement .

11

Rear Seat No. 2 Back Cushion Latch Cover

Refer to Rear Seat Number 2 Cushion Panel Replacement .

12

Rear Seat No. 2 Load Floor Latch Bolt (Qty: 4)

Tighten
9 N·m (80 lb in)

13

Rear Seat No. 2 Load Floor Latch

Refer to Rear Seat Number 2 Riser Latch Assembly Replacement .

14

Rear Seat No. 2 Latch Release Handle Assembly

Refer to Rear Seat Number 2 Load Floor Latch Cable Replacement .

15

Rear Seat No. 2 Back Cushion Latch Cable

Refer to Rear Seat Number 2 Back Cushion Latch Cable Replacement .

16

Rear Seat No. 2 Back Inner Hinge Finish Panel

17

Rear Seat No. 2 Cushion Cover and Pad

Refer to Rear Seat Number 2 Cushion Cover and Pad Replacement .

18

Rear Seat No. 2 Belt Buckle

Refer to Rear Seat Number 2 Belt Buckle Replacement .

19

Rear Seat No. 2 Cushion Frame

Refer to Rear Seat Number 2 Cushion Frame Replacement .