GM Service Manual Online
For 1990-2009 cars only

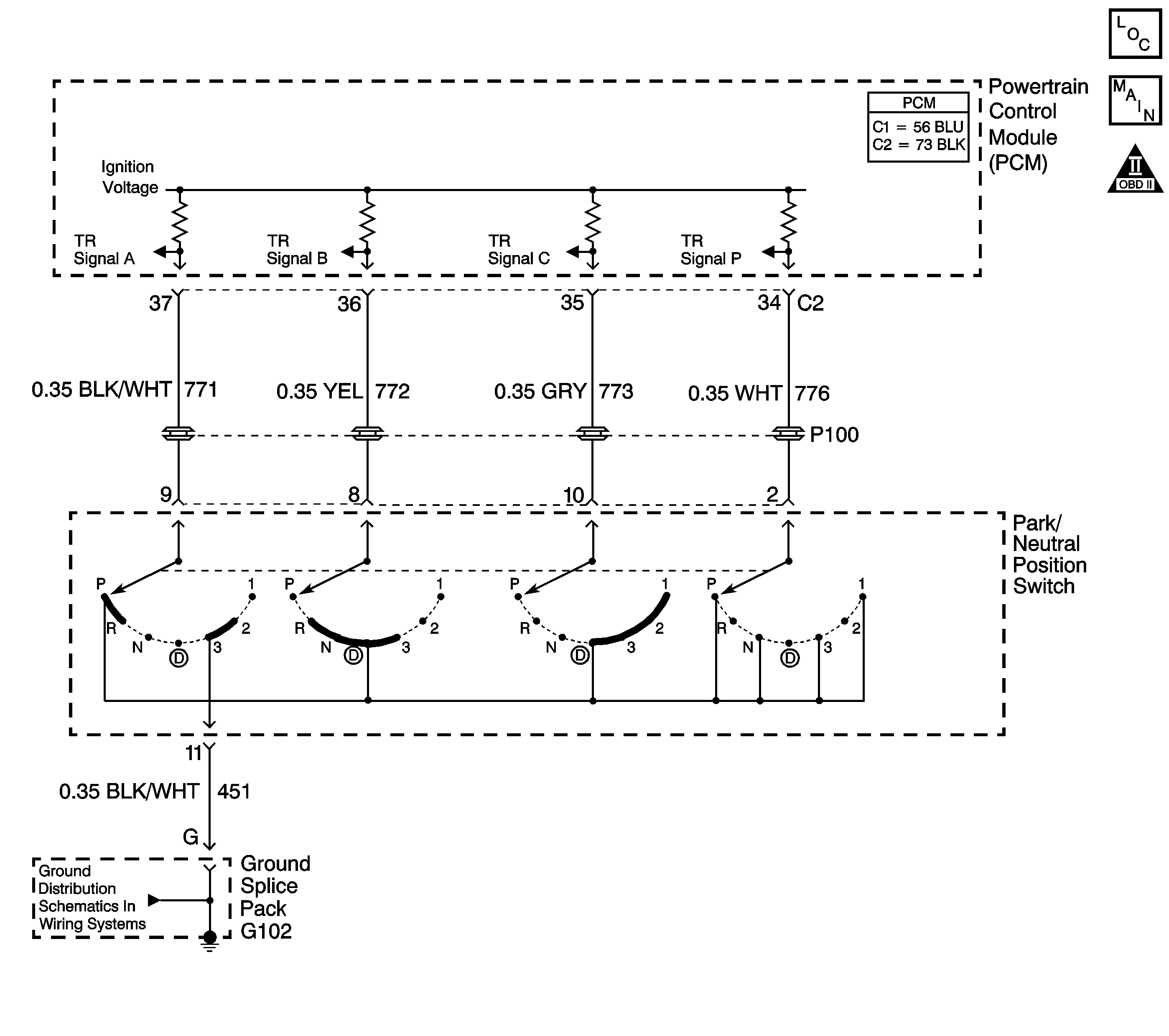
Object Number: 1277961  Size: LF
Master Electrical Component List
Automatic Transmission Controls Schematics
OBD II Symbol Description Notice

Circuit Description

The transmission range (TR) switch is part of the park/neutral position switch assembly and is mounted on the transmission manual shaft. The TR switch is a multi-signal switch. The PCM supplies ignition voltage to the TR switch on four signal circuits, A, B, C, and P. Each gear selector lever position grounds one or more of the signal circuits in a unique pattern. In order to determine the gear range selected by the driver, the PCM compares the voltage combination on the signal circuits to a TR switch combination table stored in memory. Refer to Transmission Range Switch Logic .

When the PCM detects an invalid combination of TR switch signals, then DTC P0705 sets. DTC P0705 is a type C DTC.

Conditions for Running the DTC

    • The engine is running for 5 seconds.
    • The vehicle speed is greater than 8 km/h (5 mph).

Conditions for Setting the DTC

The combination of TR switch signals is invalid for 20 seconds. Refer to Transmission Range Switch Logic .

Action Taken When the DTC Sets

    • The PCM does not illuminate the malfunction indicator lamp (MIL).
    • The PCM records the operating conditions when the Conditions for Setting the DTC are met. The PCM stores this information as Failure Records.
    • The PCM stores DTC P0705 in PCM history.

Conditions for Clearing the DTC

    • A scan tool can clear the DTC.
    • The PCM clears the DTC from PCM history if the vehicle completes 40 warm-up cycles without a non-emission related diagnostic fault occurring.
    • The PCM cancels the DTC default actions when the fault no longer exists and the DTC passes.

Test Description

The numbers below refer to the step numbers on the diagnostic table.

  1. By disconnecting the TR switch, the ground path for all TR switch circuits would be removed and the PCM should recognize all circuits as open. The scan tool should display HI for all range signals.

  2. This step tests the TR switch wiring for an open or lack of signal voltage from the PCM.

  3. This step tests the TR switch wiring and the PCM by providing a ground path through a fused jumper wire. When grounded, the scan tool range signal A should change to LOW.

  4. This step tests the TR switch wiring and the PCM by providing a ground path through a fused jumper wire. When grounded, the scan tool range signal B should change to LOW.

  5. This step tests the TR switch wiring and the PCM by providing a ground path through a fused jumper wire. When grounded, the scan tool range signal C should change to LOW.

Step

Action

Value(s)

Yes

No

1

Did you perform the Diagnostic System Check - Engine Controls?

--

Go to Step 2

Go to Diagnostic System Check - Engine Controls in Engine Controls - 2.2L

2

  1. Install a scan tool.
  2. Turn ON the ignition, with the engine OFF.
  3. Select TR Sw. on the scan tool.
  4. With the scan tool, observe the TR Sw. display while selecting each transmission range: P, R, N, D4, D3, D2 and D1.

Does each selected transmission range match the scan tool TR Sw. display?

--

Go to Intermittent Conditions in Engine Controls - 2.2L

Go to Step 3

3

  1. Inspect the PNP switch assembly for the following:
  2. • Damage
    • Loose or missing mounting hardware
    • Proper adjustment
  3. Inspect the shift cable for the following:
  4. • Damaged or stretched cable
    • Proper adjustment
    • Refer to Transmission Control Replacement on page 7-263.

Did you find and correct a condition?

--

Go to Step 16

Go to Step 4

4

With the scan tool, observe the TR Sw. A/B/C/P display.

Does the scan tool TR Sw. A/B/C/P parameter indicate HI for all range signal states?

--

Go to Step 13

Go to Step 5

5

  1. Turn OFF the ignition.
  2. Disconnect the PNP switch connector.
  3. Turn ON the ignition, with the engine OFF.

Does the scan tool TR Sw. A/B/C/P parameter indicate HI for all range signal states?

--

Go to Step 6

Go to Step 10

6

  1. Using the DMM and the J 35616 GM-approved terminal test kit, measure the voltage from the TR signal A circuit to ground.
  2. Measure the voltage from the TR signal B circuit to ground.
  3. Measure the voltage from the TR signal C circuit to ground.
  4. Measure the voltage from the TR signal P circuit to ground.

Does the voltage measure within the specified value at all four terminals?

10-12 V

Go to Step 7

Go to Step 11

7

Connect a fused jumper wire from the TR signal A circuit to ground while monitoring the scan tool TR Sw. A/B/C/P parameter.

When the TR signal A circuit is grounded, do any other signal circuits indicate LOW?

--

Go to Step 12

Go to Step 8

8

Connect a fused jumper wire from the TR signal B circuit to ground while monitoring the scan tool TR Sw. A/B/C/P parameter.

When the TR signal B circuit is grounded, do any other signal circuits indicate LOW?

--

Go to Step 12

Go to Step 9

9

Connect a fused jumper wire from the TR signal C circuit to ground while monitoring the scan tool TR Sw. A/B/C/P parameter.

When the TR signal C circuit is grounded, do any other signal circuits indicate LOW?

--

Go to Step 12

Go to Step 14

10

Test the TR signal circuit or circuits of the PNP switch that did not indicate HI for a short to ground.

Refer to Testing for Short to Ground and Wiring Repairs in Wiring Systems.

Did you find and correct the condition?

--

Go to Step 16

Go to Step 15

11

Test the TR signal circuit or circuits of the PNP switch that did not indicate proper voltage for an open.

Refer to Testing for Continuity and Wiring Repairs in Wiring Systems.

Did you find and correct the condition?

--

Go to Step 16

Go to Step 15

12

Test the affected TR signal circuits of the PNP switch for a shorted together condition.

Refer to Circuit Testing and Wiring Repairs in Wiring Systems.

Did you find and correct the condition?

--

Go to Step 16

Go to Step 15

13

Test the ground circuit of the PNP switch for an open.

Refer to Testing for Continuity and Wiring Repairs in Wiring Systems.

Did you find and correct the condition?

--

Go to Step 16

Go to Step 14

14

Replace the PNP switch.

Refer to Park/Neutral Position Switch Replacement .

Did you complete the replacement?

--

Go to Step 16

--

15

Replace the PCM.

Refer to Powertrain Control Module Replacement in Engine Controls - 2.2L.

Did you complete the replacement?

--

Go to Step 16

--

16

Perform the following procedure in order to verify the repair:

  1. Select DTC.
  2. Select Clear Info.
  3. Road test the vehicle.
  4. Select Specific DTC.
  5. Enter DTC P0705.

Has the test run and passed?

--

Go to Step 17

Go to Step 2

17

With the scan tool, observe the stored information, capture info and DTC info.

Does the scan tool display any DTCs that you have not diagnosed?

--

Go to Diagnostic Trouble Code (DTC) List in Engine Controls - 2.2L

System OK