GM Service Manual Online
For 1990-2009 cars only

Object Number: 1277975  Size: MF
Master Electrical Component List
Automatic Transmission Controls Schematics
OBD II Symbol Description Notice

Circuit Description

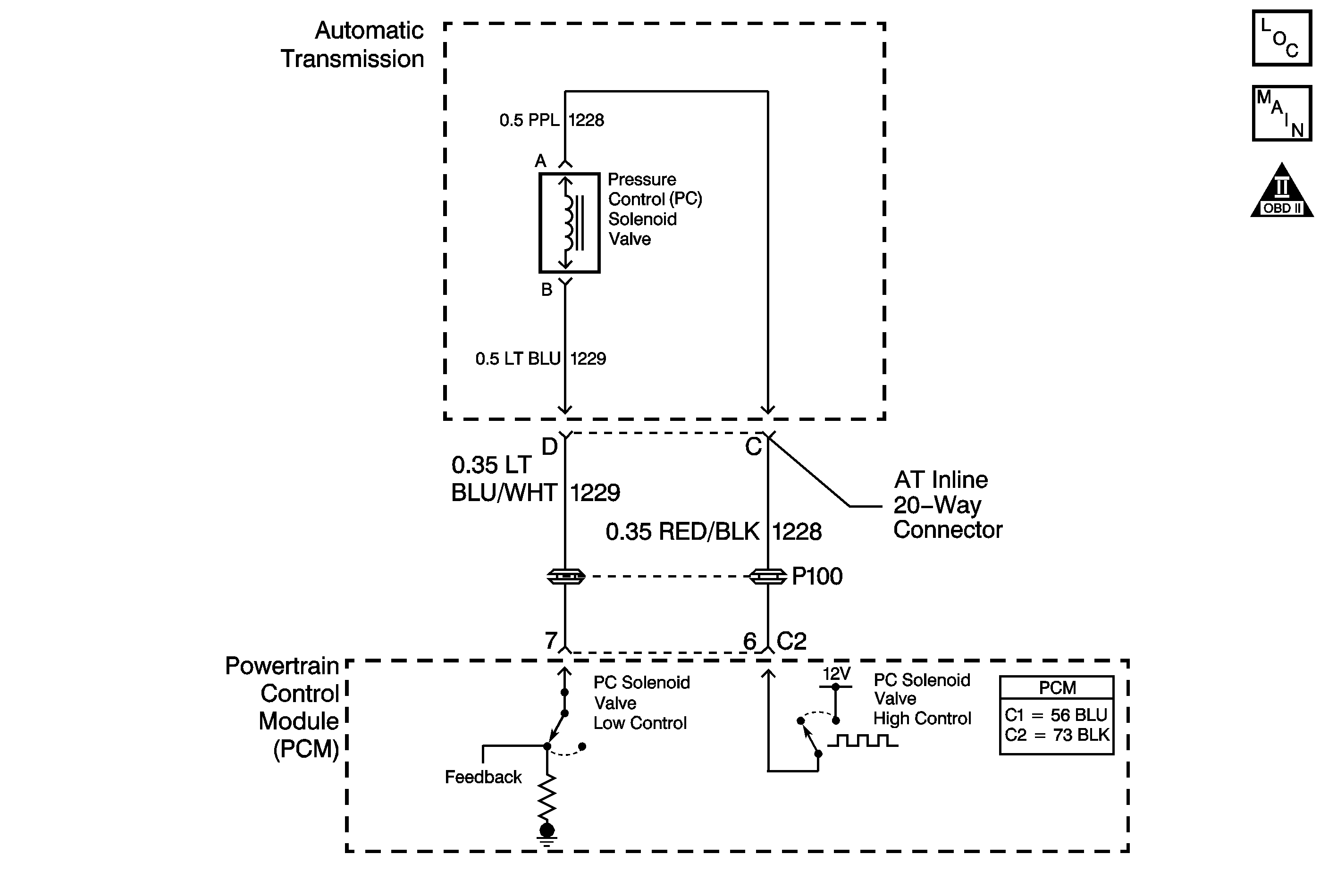
The PCM uses the pressure control (PC) solenoid valve in order to regulate the transmission line pressure. The PC solenoid valve consists of an electrical connector, a coil, an armature, a regulating spring, and a poppet valve. The PC solenoid valve is attached to the control valve body. The PCM compares TP voltage, fluid temperature, gear states, and other inputs in order to determine the line pressure appropriate for a given load. The PCM regulates the pressure by applying a varying amperage to the PC solenoid valve. The applied amperage varies from 0.1 amps for maximum line pressure to 1.1 amps for minimum line pressure. The PCM then monitors the amperage at the return line.

When the PCM detects a continuous open, short to ground, or short to voltage in the PC solenoid valve circuit, then DTC P0748 sets. DTC P0748 is a type C DTC.

Conditions for Running the DTC

The ignition is ON.

Conditions for Setting the DTC

The PC solenoid valve duty cycle is 0 percent, or greater than 95 percent.

Action Taken When the DTC Sets

    • The PCM does not illuminate the malfunction indicator lamp (MIL).
    • The PCM commands maximum line pressure.
    • The PCM freezes transmission adaptive functions.
    • The PCM records the operating conditions when the Conditions for Setting the DTC are met. The PCM stores this information as Failure Records.
    • The PCM stores DTC P0748 in PCM history.

Conditions for Clearing the DTC

    • A scan tool can clear the DTC.
    • The PCM clears the DTC from PCM history if the vehicle completes 40 warm-up cycles without a non-emission-related diagnostic fault occurring.
    • The PCM cancels the DTC default actions when the ignition switch is OFF long enough in order to power down the PCM.

Test Description

The numbers below refer to the step numbers on the diagnostic table.

  1. This step verifies the ability of the PCM to command the PC solenoid valve.

  2. This step verifies that the automatic transmission wiring harness and the PC solenoid valve have correct resistance.

Step

Action

Value(s)

Yes

No

1

Did you perform the Diagnostic System Check - Engine Controls?

--

Go to Step 2

Go to Diagnostic System Check - Engine Controls in Engine Controls - 2.2L

2

  1. Install a scan tool.
  2. Turn ON the ignition, with the engine OFF.
  3. Important: Before clearing the DTC, use the scan tool in order to record the Failure Records. Using the Clear Info function erases the Failure Records from the PCM.

  4. Record the DTC Failure Records.
  5. Clear the DTC.
  6. Start the engine.
  7. Using the scan tool, apply 0.1 amps through 1.0 amps.
  8. Observe the scan tool display.

Does the PC Sol. Actual Current reading vary from the PC Sol. Ref. Current reading by more than the specified amount?

0.16 amps

Go to Step 3

Go to Intermittent Conditions in Engine Controls - 2.2L

3

  1. Turn OFF the ignition .
  2. Disconnect the AT inline 20-way connector. Additional DTCs may set.
  3. Install the J 44152 jumper harness (20 pins) on the transmission side of the AT inline 20-way connector.
  4. Using the DMM and the J 35616 GM-approved terminal test kit, measure the resistance between the PC solenoid valve high control and low control circuits of the J 44152 .
  5. Refer to Automatic Transmission Inline 20-Way Connector End View .

Is the resistance within the specified range?

3-7 ohms

Go to Step 7

Go to Step 4

4

Is the resistance greater than the specified value?

7 ohms

Go to Step 5

Go to Step 6

5

  1. Test the high control circuit of the PC solenoid valve for an open between the AT inline 20-way connector and the PC solenoid valve.
  2. Test the low control circuit of the PC solenoid valve for an open between the AT inline 20-way connector and the PC solenoid valve.

Refer to Testing for Continuity in Wiring Systems.

Did you find a condition?

--

Go to Step 19

Go to Step 20

6

Test the high control circuit and the low control circuit of the PC solenoid valve for being shorted together between the AT inline 20-way connector and the PC solenoid valve.

Refer to Circuit Testing in Wiring Systems.

Did you find a condition?

--

Go to Step 19

Go to Step 20

7

Measure the resistance from the PC solenoid valve high control circuit of the J 44152 to ground.

Refer to Automatic Transmission Inline 20-Way Connector End View .

Is the resistance less than the specified value?

1,000 ohms

Go to Step 8

Go to Step 9

8

  1. Test the high control circuit of the PC solenoid valve for a short to ground between the AT inline 20-way connector and the PC solenoid valve.
  2. Test the low control circuit of the PC solenoid valve for a short to ground between the AT inline 20-way connector and the PC solenoid valve.

Refer to Testing for Short to Ground in Wiring Systems.

Did you find a condition?

--

Go to Step 19

Go to Step 20

9

Measure the resistance between the PC solenoid valve high control circuit and all other terminals, except the PC solenoid valve low control circuit, of the J 44152 .

Refer to Automatic Transmission Inline 20-Way Connector End View .

Is the resistance less than the specified value?

10 ohms

Go to Step 19

Go to Step 10

10

  1. Disconnect the J 44152 from the transmission side of the AT inline 20-way connector.
  2. Install the J 44152 on the engine side of the AT inline 20-way connector.
  3. Disconnect PCM connector C2. Additional DTCs may set.
  4. Using the DMM and the J 35616 , measure the resistance from the PC solenoid valve low control circuit of the J 44152 to ground.

Refer to Automatic Transmission Inline 20-Way Connector End View .

Is the resistance less than the specified value?

10 ohms

Go to Step 11

Go to Step 12

11

Test the low control circuit of the PC solenoid valve for a short to ground between the PCM connector C2 and the AT inline 20-way connector.

Refer to Testing for Short to Ground and Wiring Repairs in Wiring Systems.

Did you find and correct the condition?

--

Go to Step 22

--

12

Using the DMM and the J 35616 , measure the resistance of the PC solenoid valve low control circuit between the J 44152 and the PCM connector C2.

Refer to Automatic Transmission Inline 20-Way Connector End View .

Is the resistance less than the specified value?

10 ohms

Go to Step 14

Go to Step 13

13

Test the low control circuit of the PC solenoid valve for an open between the PCM connector C2 and the AT inline 20-way connector.

Refer to Testing for Continuity and Wiring Repairs in Wiring Systems.

Did you find and correct the condition?

--

Go to Step 22

--

14

Using the DMM and the J 35616 , measure the resistance of the PC solenoid valve high control circuit at the J 44152 to ground.

Refer to Automatic Transmission Inline 20-Way Connector End View .

Is the resistance less than the specified value?

10 ohms

Go to Step 15

Go to Step 16

15

Test the high control circuit of the PC solenoid valve for a short to ground between the PCM connector C2 and the AT inline 20-way connector.

Refer to Testing for Short to Ground and Wiring Repairs in Wiring Systems.

Did you find and correct the condition?

--

Go to Step 22

--

16

Using the DMM and the J 35616 , measure the resistance of the PC solenoid valve high control circuit at the J 44152 and the PCM connector C2.

Refer to Automatic Transmission Inline 20-Way Connector End View .

Is the resistance less than the specified value?

10 ohms

Go to Step 17

Go to Step 18

17

Test the high control circuit and the low control circuit of the PC solenoid for a short to voltage.

Refer to Testing for a Short to Voltage and Wiring Repairs in Wiring Systems.

Did you find and correct the condition?

--

Go to Step 22

Go to Step 21

18

Test the high control circuit of the PC solenoid valve for an open between the PCM connector C2 and the AT inline 20-way connector.

Refer to Testing for Continuity and Wiring Repairs in Wiring Systems.

Did you find and correct the condition?

--

Go to Step 22

--

19

Replace the automatic transmission wiring harness.

Refer to Wiring Harness Replacement .

Did you complete the replacement?

--

Go to Step 22

--

20

Replace the PC solenoid valve.

Refer to Pressure Control Solenoid Valve Replacement .

Did you complete the replacement?

--

Go to Step 22

--

21

Replace the PCM.

Refer to Powertrain Control Module Replacement in Engine Controls - 2.2L.

Did you complete the replacement?

--

Go to Step 22

--

22

Perform the following procedure in order to verify the repair:

  1. Select DTC.
  2. Select Clear Info.
  3. Turn ON the ignition, with the engine OFF.
  4. Select Specific DTC.
  5. Enter DTC P0748.

Has the test run and passed?

--

Go to Step 23

Go to Step 2

23

With the scan tool, observe the stored information, capture info and DTC info.

Does the scan tool display any DTCs that you have not diagnosed?

--

Go to Diagnostic Trouble Code (DTC) List in Engine Controls - 2.2L

System OK