GM Service Manual Online
For 1990-2009 cars only
Makes
🢒
Chevrolet
🢒
2005
🢒
Classic
🢒
Vehicle Control Systems
🢒
Vehicle DTC Information
🢒 Radio/Audio System Schematics
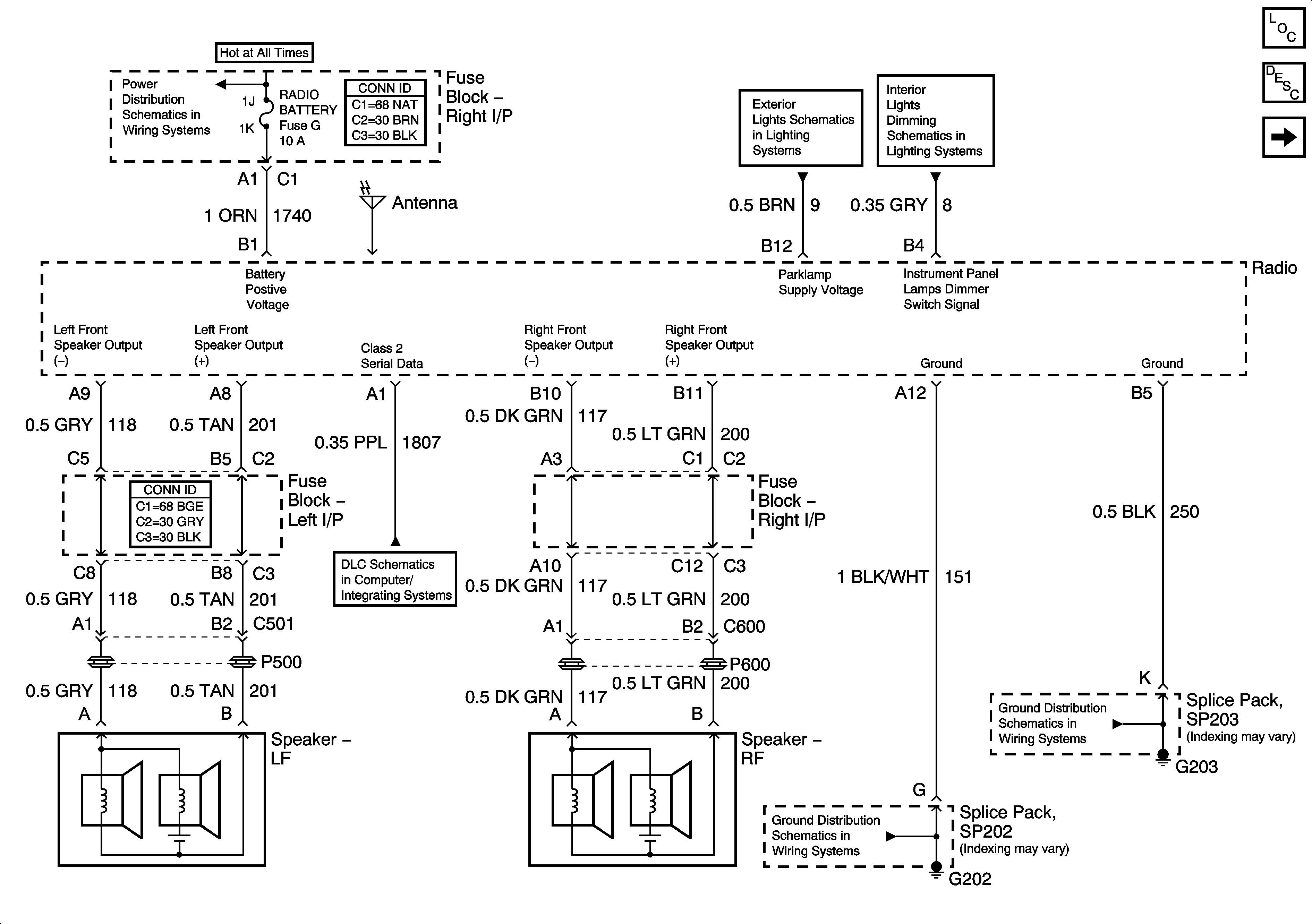
Figure
1:
Power and Front Speakers
Master Electrical Component List
Radio/Audio System Description and Operation
Rear Speakers w/ Radio Amplifier
RR DEFOG, HORN, HI BLO MOT, RH BEC BATT, COOL FANS, and ABS Fuses
Power, Grounds, and Park Lamp Relay
Dimmer Switch
Data Link Connector (DLC) Schematics
SP202
SP203
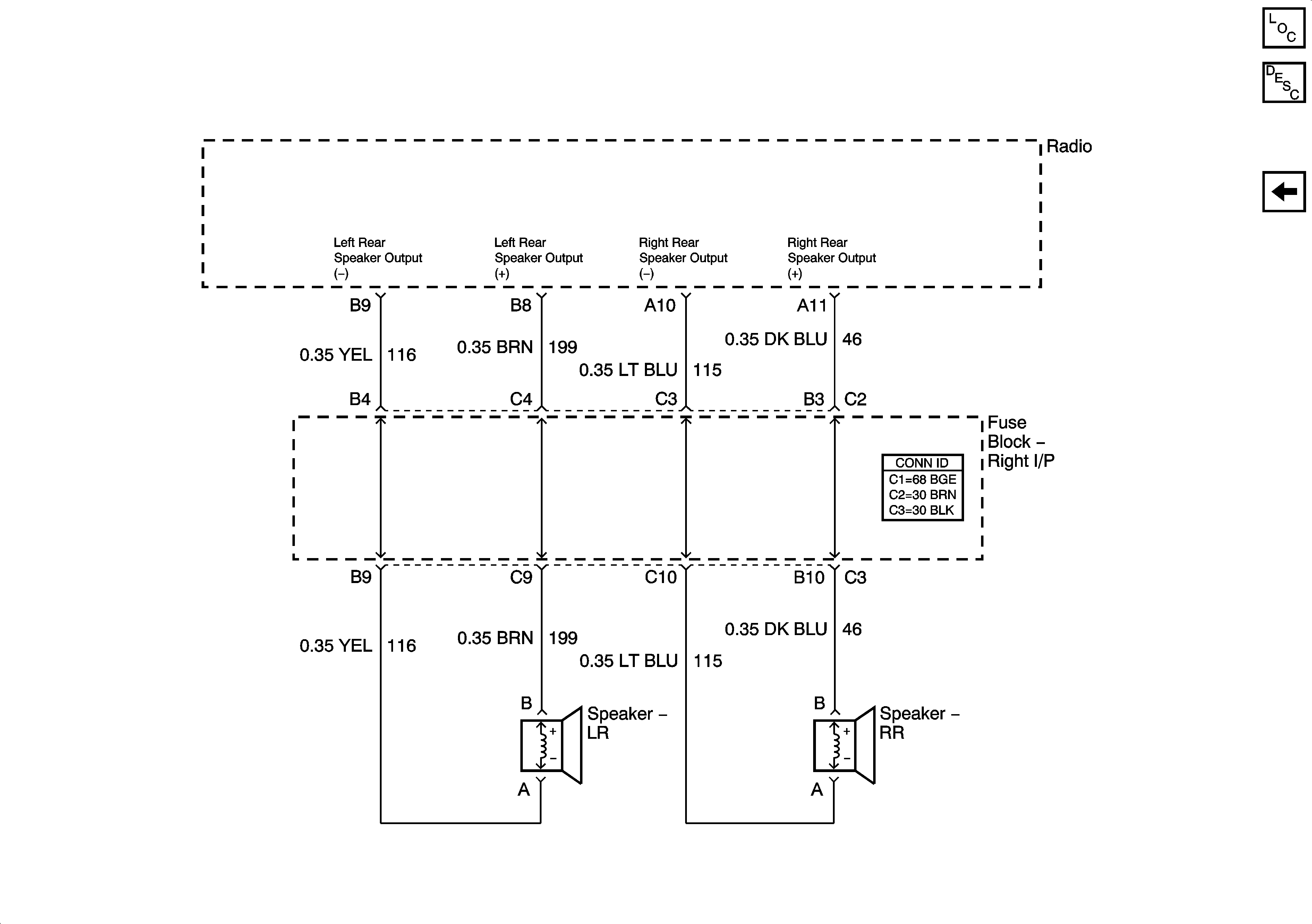
Figure
2:
Rear Speakers with Radio Amplifier
Master Electrical Component List
Radio/Audio System Description and Operation
Rear Speakers w/o Radio Amplifier
Power and Front Speakers
BATT 1, PWR Seat, PWR Mirror, DR Lock, Trunk Release/RFA
SP401
Figure
3:
Rear Speakers without Radio Amplifier
Master Electrical Component List
Radio/Audio System Description and Operation
Rear Speakers w/ Radio Amplifier