GM Service Manual Online
For 1990-2009 cars only
Makes
🢒
Chevrolet
🢒
2004
🢒
Colorado Pickup - 2WD
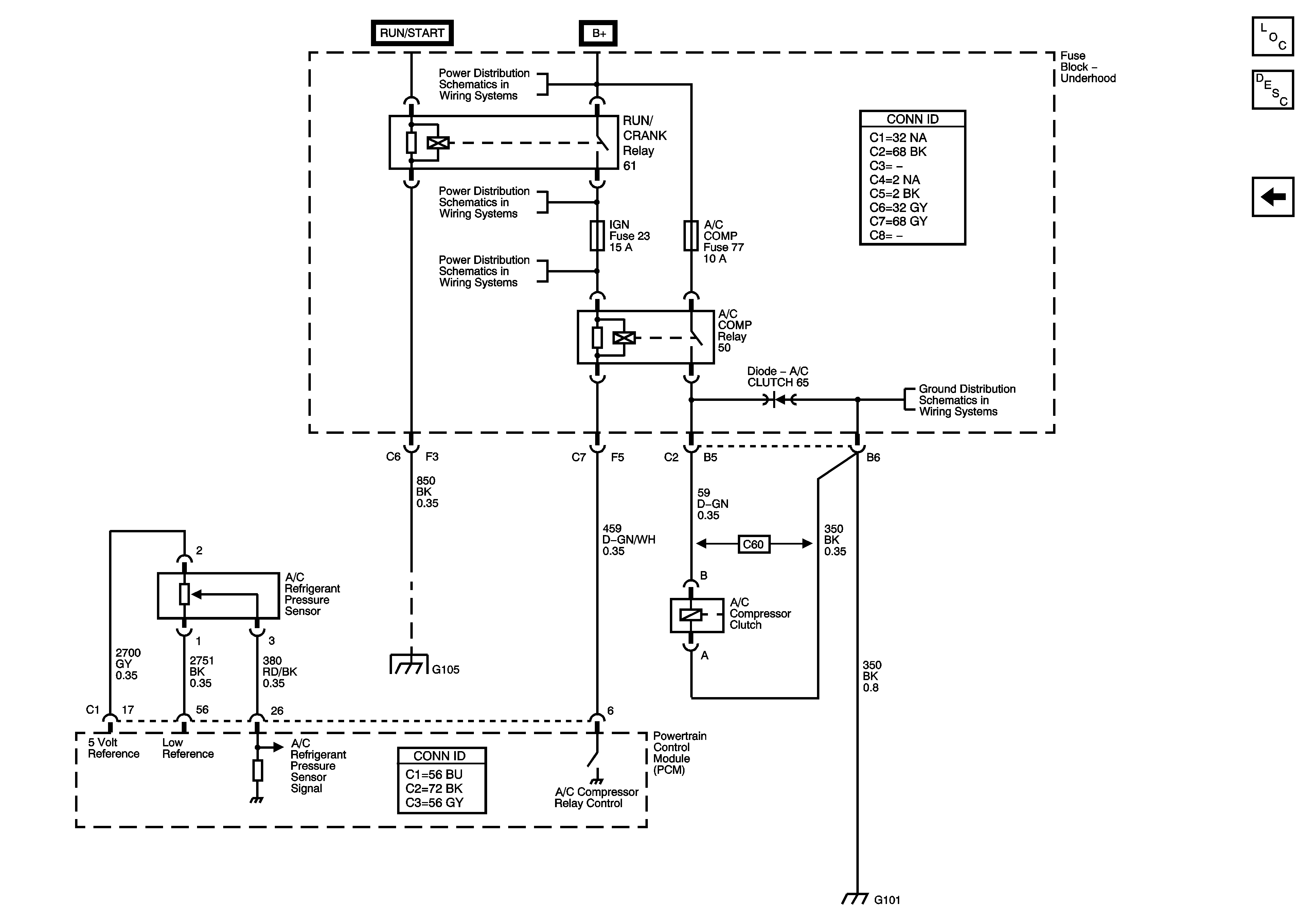
🢒 Compressor Controls (C60)
Compressor Controls (C60)
Compressor Controls - C60
Master Electrical Component List
Air Delivery Description and Operation
Primary Blower, and Air Delivery Controls (C60/C42)
B+ Bus - Underhood Fuse Block
SIR, CRUISE/MISC, TRANS, BACK UP, and ABS Fuses
SIR, CRUISE/MISC, TRANS, BACK UP, and ABS Fuses
G100, G104, G102, G103, and G101
Splice Pack SP105 and G105 - 1 of 2