GM Service Manual Online
For 1990-2009 cars only

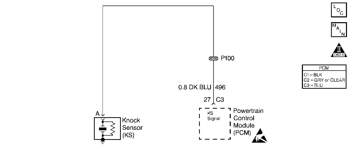
Object Number: 32855  Size: SF
Engine Controls Components
Ignition Controls
OBD II Symbol Description Notice
Handling ESD Sensitive Parts Notice

Circuit Description

The knock sensor system detects for an engine detonation. The knock sensor produces an AC voltage signal. This signal then travels to the KS module that is an internal part of the PCM. The amplitude and the frequency of the AC voltage signal is dependent upon the knock level being detected. Then, the PCM will retard the spark timing based on the signals from the KS module.

Conditions for Setting the DTC

    • Engine run time is greater than 20 seconds.
    • Engine Coolant Temperature (ECT) is greater than 55° C (131° F).
    • KS voltage is less than 0.19 V or greater than 4.99 V.
    • Engine speed is between 2200 RPM and 6375 RPM.
    • Throttle Position (TP) angle is greater than 5 %.
    • DTC(s) P0122, P0123 not set.

OR

    • Knock is present for greater than 4.5 seconds over a 5 second interval.
    • DTC(s) P0122, P0123 not set.

Action Taken When the DTC Sets

    • The Malfunction Indicator Lamp (MIL) will illuminate.
    • The PCM will record operating conditions at the time the diagnostic fails. This information will store in the Freeze Frame and Failure Records buffers.
    • A history DTC stores.
    • The coolant fan turns ON.
    • The PCM will default to 6 degrees timing.

Conditions for Clearing the MIL/DTC

    • The MIL will turn OFF after three consecutive ignition cycles in which the diagnostic runs without a fault.
    • A history DTC will clear after 40 consecutive warm-up cycles without a fault.
    • The MIL/DTCs can be cleared by using the scan tool.

Diagnostic Aids

    • Check and correct any abnormal engine noise before using the diagnostic table.
    • Thoroughly check any suspected circuitry for the following conditions:
       - Backed out terminals
       - Improper mating
       - Broken locks
       - Improperly formed connectors
       - Damaged terminals
       - Poor terminal to wiring connections
       - Physical damage to the wiring harness

Test Description

Number(s) below refer to the step number(s) on the Diagnostic Table.

  1. The Powertrain OBD System Check prompts the technician to complete some basic checks and store the freeze frame and failure records data on the scan tool if applicable. This creates an electronic copy of the data taken when the fault occurred. The information is then stored on the scan tool for later reference.

  2. If the conditions for the test as described above are met, a DTC P0325 will set and MIL will illuminated.

  3. If the engine has an internal knock or audible noise that causes a knocking type noise on the engine block, the knock sensor may be responding to the noise.

  4. The scan tool displays knock sensor activity in counts, approximately 20-50 at idle. The counts should increase when engine speed is increased and the counts should decrease when engine speed is decreased.

  5. Any circuitry, that is suspected as causing the complaint, should be thoroughly checked for backed out terminals, improper mating, broken locks, improperly formed or damaged terminals, poor terminal to wiring connections or physical damage to the wiring harness.

  6. If the KS module was previously replaced and the DTC resets, a faulty PCM is indicated.

  7. Replacement PCMs must be reprogrammed. Refer to the latest Techline information for programming procedures.

  8. Checking the internal resistance of the knock sensor verifies if the knock sensor or the wiring to the knock sensor is OK.

DTC P0325-Knock Sensor (KS) Circuit

Step

Action

Value(s)

Yes

No

1

Was the Powertrain On-Board Diagnostic (OBD) System Check performed?

--

Go to Step 2

Go to Powertrain On Board Diagnostic (OBD) System Check

2

  1. Start the engine.
  2. Install a scan tool.
  3. Clear the DTCs.
  4. Run the engine at slightly more than 10% throttle angle.

Does the Malfunction Indicator Lamp (MIL) illuminate?

--

Go to Step 4

Go to Step 3

3

  1. Turn the ignition switch ON, with engine OFF.
  2. Review the Freeze Frame data and note the parameters.
  3. Operate the vehicle within the conditions and Conditions For Setting The DTC as noted.

Does the Malfunction Indicator Lamp (MIL) illuminate?

--

Go to Step 4

Go to Step 15

4

Listen to the engine while raising and lowering the engine speed.

Is a knock or audible noise present?

--

Go to Step 5

Go to Step 6

5

Repair the mechanical engine problem or a loose bracket or component.

Is the action complete?

--

Go to Step 15

--

6

Slowly increase the engine speed to the specified value.

Does the KS Activity increase with the engine speed?

2500 RPM

Go to Step 7

Go to Step 11

7

Check for a poor connection at the PCM connector, Knock sensor signal circuit and repair as necessary.

Was a repair necessary?

--

Go to Step 15

Go to Step 8

8

Was the KS module previously replaced?

--

Go to Step 9

Go to Step 10

9

Replace the PCM.

Is the action complete?

--

Go to Step 15

--

10

Replace the KS module.

Is the action complete?

--

Go to Step 15

--

11

  1. Turn the ignition switch OFF.
  2. Disconnect the PCM connectors at the PCM.
  3. With a DVM connected to ground, measure the resistance of the knock sensor through the knock sensor signal circuit at the PCM connector.

Is the measured value within the specified value?

90k-110kohms

Go to Step 7

Go to Step 12

12

Check the knock sensor electrical connector for a poor connection and repair as necessary.

Was a repair necessary?

--

Go to Step 15

Go to Step 13

13

Check the knock sensor signal circuit for an open or a short to ground or to voltage and repair as necessary.

Was a repair necessary?

--

Go to Step 15

Go to Step 14

14

Replace the Knock Sensor (KS).

Is the action complete?

--

Go to Step 15

--

15

  1. Using the scan tool, clear the DTCs.
  2. Start the engine and idle at normal operating temperature.
  3. Operate the vehicle within the conditions for setting this DTC as specified in the supporting text.

Does the scan to indicate that this diagnostic has ran and passed?

--

Go to Step 16

Go to Step 2

16

Check if any additional DTCs are set.

Are any DTCs displayed that have not been diagnosed?

--

Go to applicable DTC table

System OK