GM Service Manual Online
For 1990-2009 cars only

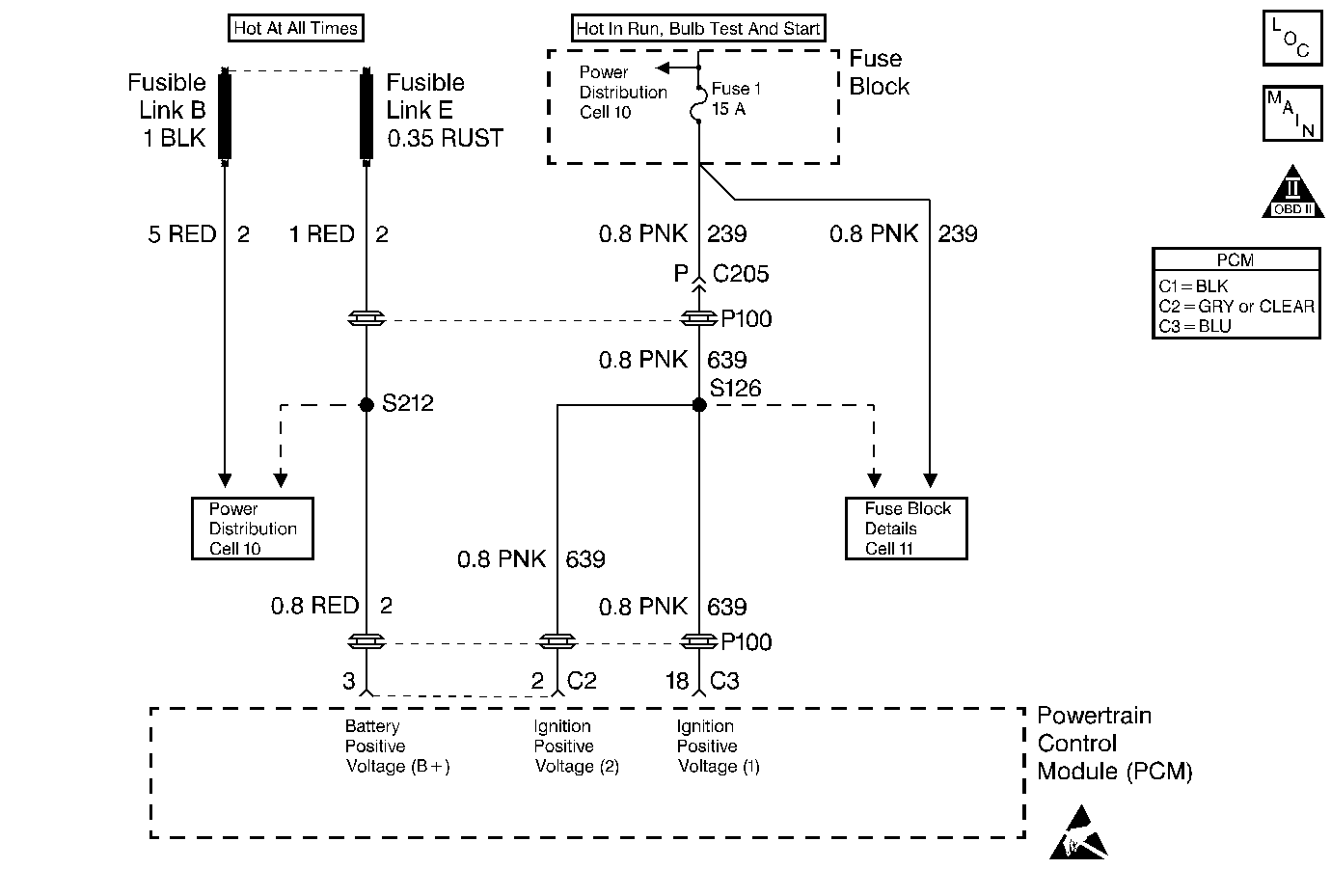
Object Number: 32859  Size: MF
Engine Controls Components
Power, Ground, MIL, and DLC
OBD II Symbol Description Notice
Handling ESD Sensitive Parts Notice

Circuit Description

The Powertrain Control Module (PCM) monitors the ignition voltage on the ignition feed #2 circuit to the PCM. A system voltage DTC will set whenever the voltage is above or below a calibrated value.

Conditions for Setting the DTC

    • The engine speed is greater than 1300 RPM.
    • The ignition voltage is less than 10 volts for 240 seconds.

Action Taken When the DTC Sets

    • The PCM will record the operating conditions at the time during which the diagnostic fails. This information will store in the Failure Records buffer.
    • A history DTC stores.
    • The coolant fan turns ON.

Conditions for Clearing the MIL/DTC

    • A history DTC will clear after 40 consecutive warm up cycles without a fault.
    • A scan tool can clear the MIL/DTCs.

Diagnostic Aids

    • If the DTC sets when you operate an accessory, check for a poor electrical connection or an excessive current draw.
    • Thoroughly check any suspected circuitry for the following conditions:
       - Backed out terminals
       - Improper mating
       - Broken locks
       - Improperly formed connectors
       - Damaged terminals
       - Poor terminal to wiring connections
       - Physical damage to the wiring harness

Test Description

Number(s) below refer to the step number(s) on the Diagnostic Table.

  1. The Powertrain OBD System Check prompts the technician to complete some basic checks and store the freeze frame and failure records data on the scan tool if applicable. This creates an electronic copy of the data taken when the fault occurred. The information is then stored on the scan tool for later reference.

  2. This checks if the generator is faulty under load conditions.

  3. PCM Controlled Generator Diagnosis will further check the PCM's control of the generator.

  4. Checks ignition feed circuit #2 for excessive resistance. An open circuit will cause a no start condition.

  5. Replacement PCMs must be reprogrammed. Refer to the latest Techline information for programming procedures.

  6. If no faults have been found at this point and no additional DTCs were set, refer to Diagnostic Aids for additional checks and information.

DTC P0562-System Voltage Low

Step

Action

Value(s)

Yes

No

1

Was the Powertrain On-Board Diagnostic (OBD) System Check performed?

--

Go to Step 2

Go to Powertrain On Board Diagnostic (OBD) System Check

2

  1. Install a scan tool.
  2. Start the engine and raise the engine speed to the specified value.
  3. Load the electrical system by turning on the headlights, high blower motor, etc.

Is the ignition voltage less than the specified value?

1400 RPM

10V

Go to Step 3

Go to Step 8

3

  1. With the engine still running at the specified value.
  2. Using a DVM, measure the battery voltage at the battery.

Is the battery voltage greater than the specified value?

1400 RPM

12V

Go to Step 4

Go to Section 6D3

4

  1. Turn the ignition switch OFF.
  2. Disconnect the PCM connector at the PCM.
  3. Turn the ignition switch ON, with the engine OFF.
  4. Using a DVM, measure the ignition voltage at the ignition feed circuit #2.

Is the ignition voltage greater than the specified value?

10V

Go to Step 5

Go to Step 6

5

Check for a faulty connections at the PCM harness terminals and repair as necessary.

Was a repair necessary?

--

Go to Step 8

Go to Step 7

6

Repair the poor connection (high resistance) in the ignition feed circuit #2.

Is the action complete?

--

Go to Step 8

--

7

Replace the PCM.

Is the action complete?

--

Go to Step 8

--

8

  1. Using the scan tool, clear the DTCs.
  2. Start the engine and idle at normal operating temperature.
  3. Operate the vehicle within the conditions for setting this DTC as specified in the supporting text.

Does the scan tool indicate that this diagnostic has ran and passed?

--

Go to Step 9

Go to Step 2

9

Check if any additional DTCs set.

Are any DTCs displayed that have not been diagnosed?

--

Go to applicable DTC table

System OK, Refer to Diagnostic Aids