GM Service Manual Online
For 1990-2009 cars only

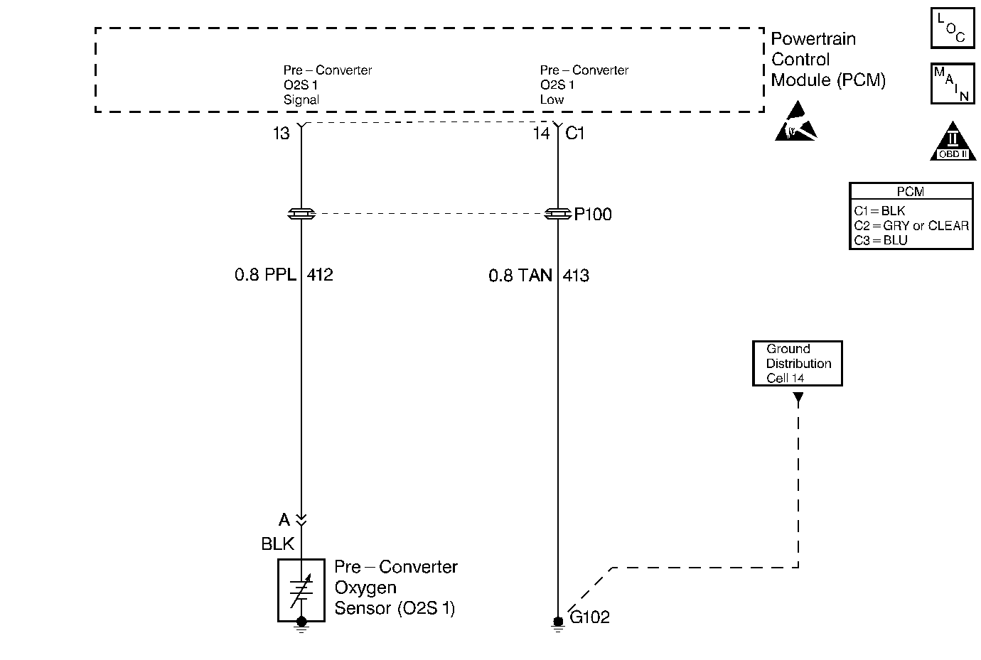
Object Number: 32851  Size: MF
Engine Controls Components
Oxygen Sensors
OBD II Symbol Description Notice
Handling ESD Sensitive Parts Notice

Circuit Description

The PCM continuously monitors the oxygen sensor 1 (O2S 1) activity for 100 seconds. During the monitor period, the PCM counts the number of times that the O2S 1 switches from rich to lean and from lean to rich. You can determine a total for all of the switches with this information. If the number of switches is too low, a DTC P1133 will set.

Conditions for Setting the DTC

    • DTC's P0106, P0107, P0112, P0113, P0117, P0118, P0121, P0122, P0123, P0200, P0300, P0301, P0302, P0303, P0304, P0506, P0507, P1406, P1441 not set.
    • The number of rich to lean counts is less than 30 or the lean to rich counts is less than 40 (auto trans).
    • The number of rich to lean counts is less than 10 or the lean to rich counts is less than 15 (manual trans).
    • Engine speed is between 1600 RPM and 2600 RPM.
    • TP angle is between 8 % and 20 %.
    • Evaporative emissions control system is commanded open for greater than 36 % PWM (auto trans).
    • Evaporative emissions control system is commanded open for greater than 50 % PWM (manual trans).
    • Purge learned memory is greater than 128 (auto trans).
    • Purge learned memory is greater than 191 (manual trans).

Action Taken When the DTC Sets

    • The Malfunction Indicator Lamp (MIL) will illuminate.
    • The PCM will record the operating conditions at the time that the diagnostic fails. This information will store in the Freeze Frame and Failure Records buffers.
    • A history DTC stores.
    • The coolant fan turns ON.
    • The vehicle will operate in an Open Loop operation.

Conditions for Clearing the MIL/DTC

    • The MIL will turn OFF after three consecutive ignition cycles in which the diagnostic runs without a fault.
    • A history DTC will clear after 40 consecutive warm-up cycles without a fault.
    • The MIL/DTCs can be cleared by using the scan tool.

Diagnostic Aids

DTC P1133 is most likely caused by one of the following:

    • Fuel pressure - The system will go rich if fuel pressure is to high. The PCM can compensate for some increase, however, if it gets too high, a DTC P0132 will be set. Refer to Fuel System Diagnosis .
    • Leaking injector - A leaking or malfunctioning injector can cause the system to go rich.
    • MAP sensor - An output that causes the PCM to sense a higher than normal manifold pressure (low vacuum) can cause the system to go rich. Disconnecting the MAP sensor will allow the PCM to set a fixed value for the MAP sensor. Substitute a different MAP sensor if the rich condition is gone while the sensor is disconnected.
    • Pressure regulator - Check for a leaking fuel pressure regulator diaphragm by checking for the presence of liquid fuel in the vacuum line to the regulator.
    • TP sensor - An intermittent TP sensor output will cause the system to go rich due to a false indication of the engine accelerating.
    • O2S 1 contamination - Inspect O2S 1 for silicone contamination from fuel or use of improper RTV sealant. The sensor may have a white powdery coating and result in a high but false voltage signal (rich exhaust indication). The PCM will then reduce the amount of fuel delivered to the engine causing a severe surge or driveability problem.

Test Description

Number(s) below refer to the step number(s) on the Diagnostic Table.

  1. The Powertrain OBD System Check prompts the technician to complete some basic checks and store the freeze frame and failure records data on the scan tool if applicable. This creates an electronic copy of the data taken when the fault occurred. The information is then stored in the scan tool for later reference.

  2. Replacement PCMs must be reprogrammed. Refer to the latest Techline information for programming procedures.

  3. If no faults have been found at this point and no additional DTCs were set, refer to Diagnostic Aids for additional checks and information.

DTC P1133-Oxygen Sensor (O2S) Insufficient Switching (Sensor 1)

Step

Action

Value(s)

Yes

No

1

Was the Powertrain On-Board Diagnostic (OBD) System Check performed?

--

Go to Step 2

Go to Powertrain On Board Diagnostic (OBD) System Check

2

Are any component DTCs set?

--

Go to Component DTC table

Go to Step 3

3

  1. Install a scan tool.
  2. Turn the ignition switch ON and at operating temperature.
  3. Operate the vehicle within the parameters specified under the Conditions for setting the DTC criteria.
  4. Monitor the Lean/Rich Transition and Rich/Lean Transitions noting the number of switches.

Do the parameters show fewer transitions than the specified values?

30-40  (auto)

10-15  (man)

Go to Step 4

Go to Step 18

4

Visually/physically inspect the following items:

    • O2S 1 is securely installed.
    • Check for corrosion on the terminals.
    • Check for terminals tension (at O2S 1 and at the PCM).
    • Check the O2S 1 ground circuit for a good connection.
    • Check for damaged wiring.

Was a problem found in any of the above areas?

--

Go to Step 9

Go to Step 5

5

Check the exhaust manifold for an exhaust leak near the engine and repair as necessary.

Was a exhaust leak found?

--

Go to Step 3

Go to Step 6

6

  1. Turn the ignition switch OFF.
  2. Disconnect the O2S 1 at the sensor.

Does the scan tool voltage indicate the O2S 1 voltage within the specified value?

407-509mV

Go to Step 7

Go to Step 10

7

Jumper the O2S 1 high circuit (PCM side) signal circuit to ground.

Does the scan tool voltage indicate the O2S 1 voltage within the specified value?

200mV

Go to Step 8

Go to Step 11

8

Replace the Oxygen Sensor (O2S 1).

    • Fuel contamination.
    • Use of improper RTV sealant.
    • Engine oil/coolant consumption.

Is the action complete?

--

Go to Step 17

--

9

Repair the condition as necessary.

Is the action complete?

--

Go to Step 17

--

10

Repair the O2S 1 signal circuit for a short to ground.

Is the action complete?

--

Go to Step 17

--

11

  1. Remove the jumper wire.
  2. Using a DVM, measure the voltage between the O2S 1 high signal circuit and ground.

Does the O2S 1 voltage measure above the specified value?

407mV

Go to Step 12

Go to Step 13

12

    • Turn the ignition switch OFF.
    • Disconnect the PCM connectors and check the O2S 1 low circuit for continuity.
    • If the O2S 1 low circuit measures over the specified value, repair the open or poor connection as necessary.

Was an O2S 1 signal circuit problem found and corrected?

5ohms

Go to Step 17

Go to Step 14

13

  1. Turn the ignition switch OFF.
  2. Disconnect the PCM connectors and check the O2S 1 signal circuit for continuity.
  3. If the O2S 1 low circuit measures over the specified value, repair the open or the poor connection as necessary.

Was an O2S 1 signal circuit problem found and corrected?

5ohms

Go to Step 17

Go to Step 15

14

Check the O2S 1 low circuit terminal connection at the PCM and replace the terminal if necessary.

Did the terminal require replacement?

--

Go to Step 17

Go to Step 16

15

Check the O2S 1 signal circuit terminal connection at the PCM and replace the terminal if necessary.

Did the terminal require replacement?

--

Go to Step 17

Go to Step 16

16

Replace the PCM.

Is the action complete?

--

Go to Step 17

--

17

  1. Using the scan tool, clear the DTCs.
  2. Start the engine and idle at normal operating temperature.
  3. Operate the vehicle within the condition for setting this DTC as specified in the supporting text.

Does the scan tool indicate that this diagnostic has ran and passed?

--

Go to Step 18

Go to Step 2

18

Check if any additional DTCs are set.

Are any DTCs displayed that have not been diagnosed?

--

Go to applicable DTC table

System OK, Refer to Diagnostic Aids