GM Service Manual Online
For 1990-2009 cars only

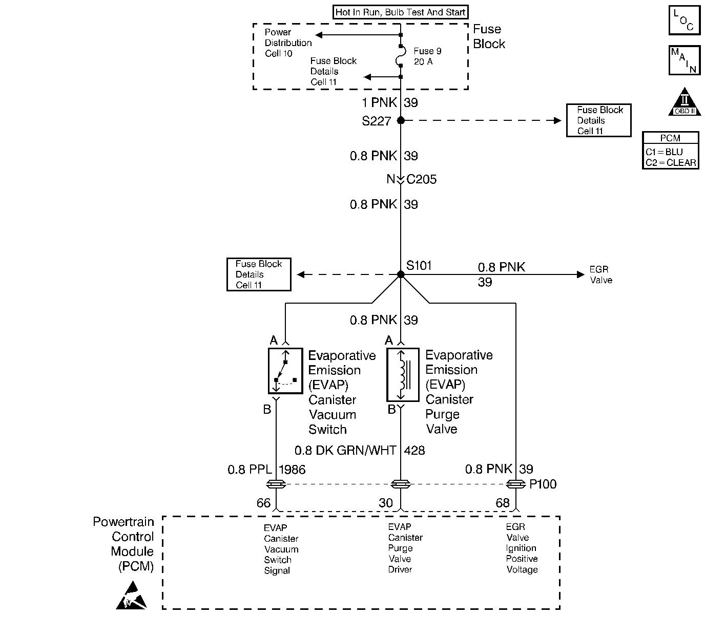
Object Number: 30365  Size: LF
Engine Controls Components
MAF Sensor, EVAP Canister Vacuum Switch, EVAP Canister Purge Valve, and EGR Valve
OBD II Symbol Description Notice
Handling ESD Sensitive Parts Notice

Circuit Description

Canister purge is controlled by a solenoid valve that allows manifold vacuum to purge the canister. The Powertrain Control Module (PCM) supplies a ground to energize the solenoid valve (purge ON). The EVAP purge solenoid control is Pulse Width Modulated (PWM) or turned ON and OFF several times a second. The duty cycle (pulse width) is determined by engine operating conditions including load, throttle position, coolant temperature and ambient temperature. The duty cycle is calculated by the PCM and the output is commanded when the appropriate conditions have been met.

The EVAP purge vacuum switch is a normally closed switch positioned in the purge line between the canister and the EVAP purge solenoid. The EVAP purge vacuum switch will open when vacuum increases to greater than 5 inches of water in the purge line. The PCM monitors the EVAP purge vacuum switch signal to determine if the evaporative emission control system is working properly. If the switch is open (purge flow detected) when the PCM is not commanding the EVAP purge solenoid ON, DTC P1441 will be set.

Conditions for Setting the DTC

    • No active TP sensor, MAP sensor, MAF sensor, or EGR DTC(s) set.
    • BARO reading is above 70 kPa.
    • Engine speed is between 550 RPM and 5000 RPM.
    • Engine Coolant Temperature is below 114°C (237°F).
    • Intake Air Temperature is between 0°C (32°F) and 70°C (158°F).
    • The difference between ECT and IAT is less than 100°C (212°F).
    • EVAP Purge PWM is below 3%.
    • EVAP purge vacuum switch is open.
    • Above conditions for longer than 4 seconds.

Action Taken When the DTC Sets

    • The PCM will illuminate the malfunction indicator lamp (MIL) during the second consecutive trip in which the diagnostic test has been run and failed.
    • The PCM will store conditions which were present when the DTC set as Freeze Frame and Failure Records data.

Conditions for Clearing the MIL/DTC

    • The PCM will turn OFF the MIL during the third consecutive trip in which the diagnostic has been run and passed.
    • The History DTC will clear after 40 consecutive warm-up cycles have occurred without a malfunction.
    • The DTC can be cleared by using the scan tool.

Diagnostic Aids

Check for the following conditions:

    • Poor connection at PCM. Inspect harness connectors for backed out terminals, improper mating, broken locks, improperly formed or damaged terminals, and poor terminal to wire connection.
    • Damaged harness. Inspect the wiring harness for damage. If the harness appears to be OK, observe the EVAP vacuum switch display on the scan tool while moving connectors and wiring harnesses related to the sensor. A change in the display will indicate the location of the fault.
    • Incorrect vacuum hose routing. Verify that the vacuum hose routing to the canister purge vacuum switch and the canister purge solenoid is correct and that the vacuum hoses to the canister purge solenoid are not switched.

Reviewing the Fail Records vehicle mileage since the diagnostic test last failed may help determine how often the condition that caused the DTC to be set occurs. This may assist in diagnosing the condition.

Test Description

Number(s) below refer to the step number(s) on the Diagnostic Chart.

  1. The canister purge vacuum switch is normally closed when no vacuum (purge) is present. With the key ON and the engine OFF, there should not be any vacuum (purge) present in the EVAP system.

  2. Checks if the PCM is able to control the EVAP purge solenoid valve.

  3. Checks if the DTC will set under the conditions present when the DTC was originally stored. If not, the fault is intermittent.

  4. Checks for a grounded EVAP purge solenoid driver circuit, a faulty EVAP vacuum switch, or a leaking EVAP purge solenoid valve.

DTC P1441 - EVAP System Flow During Non-Purge

Step

Action

Value(s)

Yes

No

1

Was the Powertrain On-Board Diagnostic System Check performed?

--

Go to Step 2

Go to Powertrain OBD System Check

2

With the ignition ON, engine not running, observe EVAP Vacuum Switch display on the scan tool Engine 1 data list.

Does EVAP Vacuum Switch display No Purge?

--

Go to Step 3

Go to DTC P1442

3

Engine idling, observe EVAP Vacuum Switch while commanding the EVAP purge solenoid OFF with the scan tool.

Does EVAP Vacuum Switch display No Purge with the EVAP purge solenoid commanded OFF?

--

Go to Step 4

Go to Step 5

4

  1. Ignition ON, engine OFF.
  2. Review and record scan tool Fail Records data.
  3. Operate vehicle within Fail Records conditions as noted.
  4. Using a scan tool, monitor STATUS THIS IGN for DTC P1441.

Does scan tool indicate DTC P1441 failed?

--

Go to Step 5

Go to Diagnostic Aids

5

  1. Disconnect the EVAP purge solenoid electrical connector.
  2. Engine idling, observe EVAP Vacuum Switch display on the scan tool.

Does EVAP Vacuum Switch display No Purge?

--

Go to Step 6

Go to Step 7

6

  1. Ignition OFF, disconnect the PCM.
  2. Check the EVAP canister purge solenoid driver circuit for a short to ground.
  3. If a problem is found, locate and repair the short to ground as necessary. Refer to Repair Procedures in Electrical Diagnosis section 8A.

Was a problem found?

--

Go to Step 14

Go to Step 8

7

  1. Leave the EVAP purge solenoid electrical connector disconnected.
  2. Disconnect the vacuum signal hose from the EVAP purge vacuum switch.
  3. Connect a vacuum gauge to the vacuum signal hose.
  4. With the engine idling observe the vacuum reading at the vacuum signal hose.

Is vacuum greater than the specified value?

5 in H2O

Go to Step 9

Go to Step 11

8

Replace the PCM.

Important: The replacement PCM must be programmed. Refer to PCM Replacement/Programming.

Is action complete?

--

Go to Step 14

--

9

  1. Check for incorrect vacuum hose routing or switched vacuum lines at the EVAP purge solenoid.
  2. If a problem is found, repair as necessary.

Was a problem found?

--

Go to Step 14

Go to Step 10

10

Replace the EVAP purge solenoid.

Is action complete?

--

Go to Step 14

--

11

Replace the EVAP vacuum switch.

Is action complete?

--

Go to Step 14

--

14

  1. Review and record scan tool Fail Records data.
  2. Clear DTCs.
  3. Operate vehicle within Fail Records conditions as noted.
  4. Using a scan tool, monitor SPECIFIC DTC info for DTC P1441

Does scan tool indicate DTC P1441 failed?

--

Go to Step 2

Repair complete