GM Service Manual Online
For 1990-2009 cars only

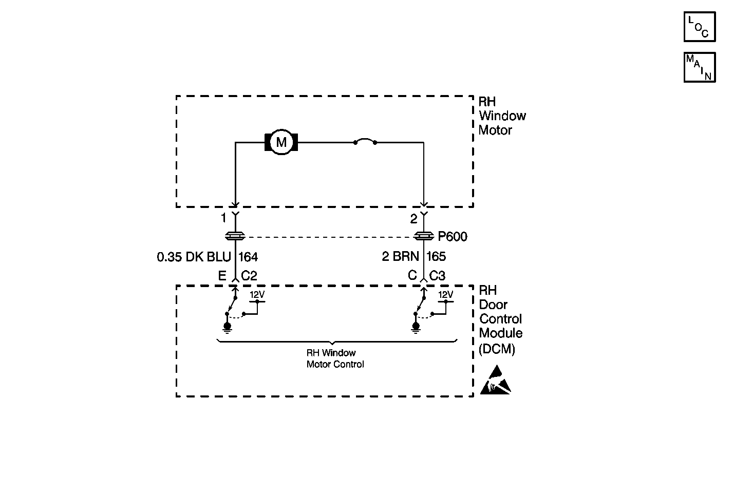
Object Number: 97839  Size: MF
Power Door Systems Components
Door Control Module Schematics

DTC B2275 -- Window Motor -- Fault -- DCM-Right

Step

Action

Value(s)

Yes

No

1

  1. Disconnect the right window motor.
  2. Connect a DMM from the right window motor terminal A to terminal B.
  3. Move the right window switch UP and then DOWN.

Does the DMM display specified voltage, in both positions?

10.0-14.0V

Go to Step 2

Go to Step 3

2

Replace the right window motor.

Is the repair complete?

Recheck the System Operation

3

  1. Check for open in CKT 164 and CKT 165.
  2. If OK, replace the right Door Control Module (DCM).

Is the repair complete?

Recheck the System Operation