GM Service Manual Online
For 1990-2009 cars only

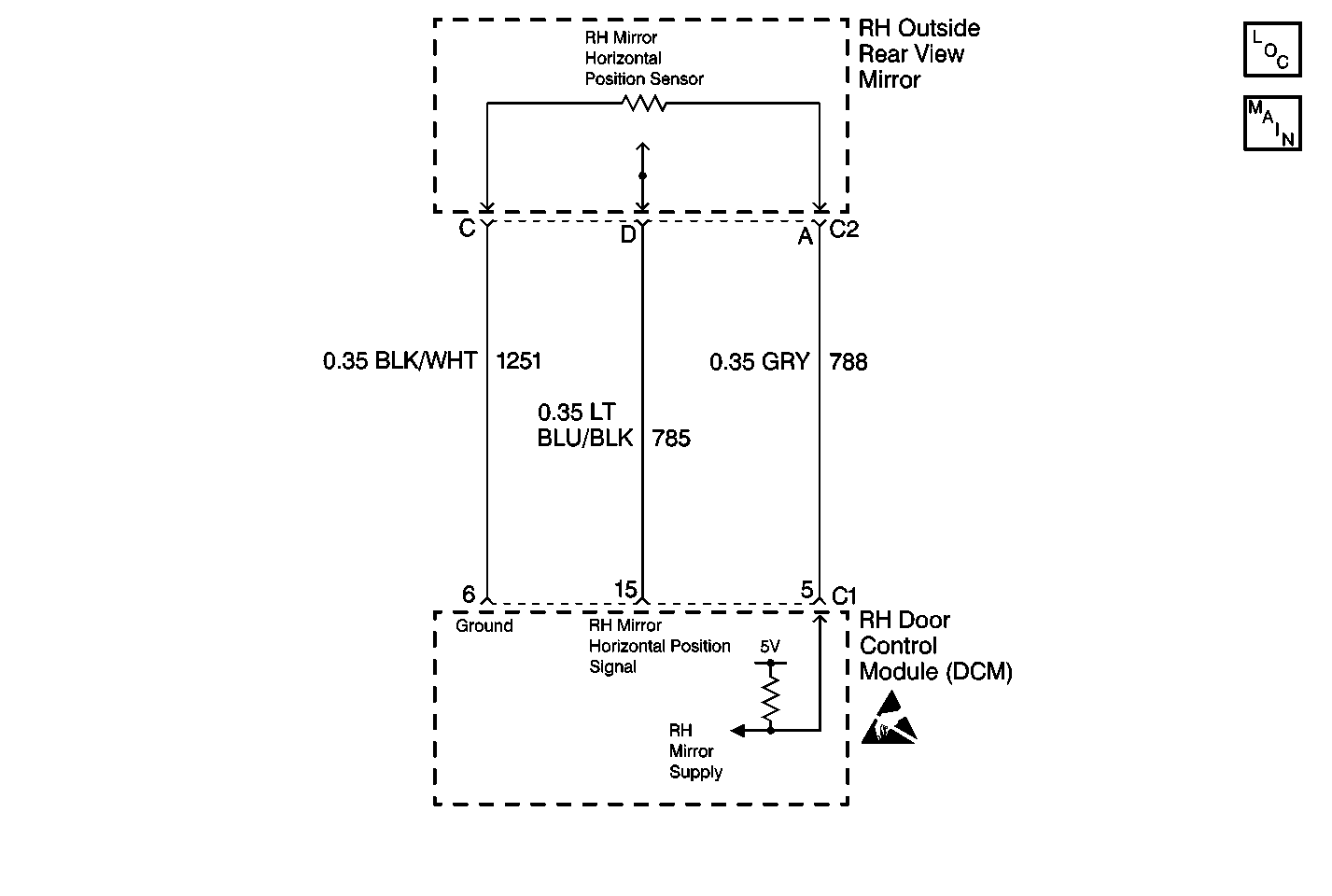
Object Number: 97854  Size: MF
Power Door Systems Components
Door Control Module Schematics

DTC B2263 -- Horizontal Position Sensor -- Fault -- DCM-Right

Step

Action

Value(s)

Yes

No

1

Is DTC B2265 also set?

Go to Step 2

Go to Step 6

2

  1. Disconnect the right power mirror connector C2.
  2. Measure the voltage between the right power mirror connector C2 terminal A to ground.

Is the voltage within the specified range?

4.5-5.5V

Go to Step 3

Go to Step 5

3

Measure the voltage between the right power mirror connector C2 terminal A and terminal C.

Is the voltage within specified range?

4.5-5.5V

Go to Step 4

Go to Step 9

4

Replace the right power mirror.

Is the repair completed?

Recheck the System Operation

5

Check for an open or short to ground in CKT 788. If OK, replace the right Door Control Module (DCM).

Is the repair complete?

Recheck the System Operation

6

  1. Disconnect the right power mirror
  2. Measure the voltage between the right power mirror connector C2 terminal D and ground.

Is the voltage within the specified range?

3.5-5.5V

Go to Step 7

Go to Step 8

7

Replace the right power mirror.

Is the repair complete?

Recheck the System Operation

8

  1. Check for an open, a short to ground, or a short to battery in CKT 785.
  2. If OK, replace the right Door Control Module (DCM).

Is the repair complete?

Recheck the System Operation

9

  1. Check for an open or a short to battery in CKT 1251.
  2. If OK, replace the right Door Control Module (DCM).

Is the repair complete?

Recheck the System Operation