GM Service Manual Online
For 1990-2009 cars only

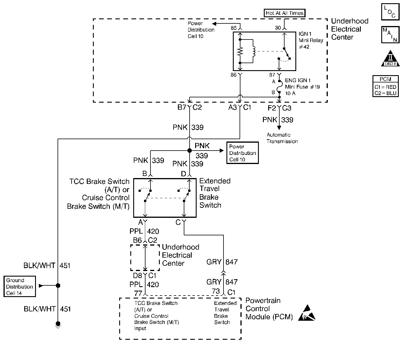
Object Number: 105933  Size: LF
Engine Controls Components
Cell 20: Automatic Transmission Controls
OBD II Symbol Description Notice
Handling ESD Sensitive Parts Notice

Circuit Description

This diagnostic test functions on the assumption that a brake application causes a sudden decrease in non-drive wheel speed,

The Extended Travel Brake Switch is a normally closed switch. When the Extended Travel Brake Switch is closed, the PCM senses ignition voltage on the Extended Travel Brake Switch signal circuit.

If the PCM senses a voltage on the Extended Travel Brake Switch signal circuit when the Extended Travel Brake Switch should be open, this DTC sets.

Conditions for Setting the DTC

    • Engine speed is greater than 700 RPM.
    • Engine operating longer than 2.0 second.
    • Wheel speed must be greater than 30 MPH in order to enable the diagnostic. The diagnostic will disable when the wheel speed is below 10 MPH.
    • Vehicle speed is decreasing at a rate greater than 10.4 MPH over a one second period.
    • The PCM detects voltage on the Extended Travel Brake Switch circuit when the Extended Travel Brake Switch should be open.
    • The above conditions present for 1.5 seconds.

Action Taken When the DTC Sets

    • The powertrain control module (PCM) stores the DTC information into memory when the diagnostic runs and fails.
    • The malfunction indicator lamp (MIL) will not illuminate.
    • The PCM records the operating conditions at the time the diagnostic fails. The PCM stores this information in the Failure Records.

Conditions for Clearing the MIL/DTC

    • A last test failed, or the current DTC, clears when the diagnostic runs and does not fail.
    • A history DTC clears after 40 consecutive warm-up cycles, if failures are not reported by this or any other emission related diagnostic.
    • Use a scan tool in order to clear the MIL/DTC.

Diagnostic Aids

In order to adjust the Extended Travel Brake Switch perform the following:

  1. With the brake pedal depressed, insert the Brake Lamp Switch into the retainer until the switch body seats in the retainer. You can hear clicks as you push the threaded portion of the switch through the retainer.
  2. Slowly pull the brake pedal fully rearward against the stop until you can no longer hear the clicks.

Test Description

The numbers below refer to the step numbers on the diagnostic table.

  1. This step determines if the fault is present.

  2. This step checks for a Extended Travel Brake Switch circuit for being shorted to B+.

  3. This DTC will not report a pass. The scan tool status for this DTC will never report a pass. The scan tool will only display when the diagnostic fails. The repair is not complete if the scan tool indicates that the diagnostic ran and failed.

Step

Action

Value(s)

Yes

No

1

Did you perform the Powertrain On-Board Diagnostic (OBD) System Check?

--

Go to Step 2

Go to Powertrain On Board Diagnostic (OBD) System Check

2

  1. Install a scan tool.
  2. Start the engine.
  3. Monitor the Extended Brake Travel switch using the scan tool.
  4. Depress the brake pedal approximately half-way.

Does the display indicate Applied?

--

Fault not present. Refer to Diagnostic Aids

Go to Step 3

3

Check the adjustment of the extended brake travel switch. Refer to Diagnostic Aids .

Was an adjustment necessary?

--

Go to Step 9

Go to Step 4

4

  1. Turn OFF the engine.
  2. Disconnect the extended brake travel switch.
  3. Turn ON the ignition.
  4. Monitor the Extended Brake Travel switch using the scan tool.

Does the display indicate Applied?

--

Go to Step 5

Go to Step 7

5

  1. Turn OFF the ignition.
  2. Disconnect the PCM connector located on the same side as the manufacturer's logo. Refer to Powertrain Control Module/Throttle Actuator Control Module Replacement
  3. Turn ON the ignition.
  4. Install a brown connector from the connector test adaptor kit J 35616 into the extended brake travel switch signal circuit.
  5. Measure the voltage on the extended brake travel switch signal circuit using a DMM.

Is the voltage greater than the specified value?

0.5V

Go to Step 6

Go to Step 8

6

Repair the short to voltage on the extended brake travel switch signal circuit.

Is the action complete?

--

Go to Step 9

--

7

Replace the extended brake travel switch.

Is the action complete?

--

Go to Step 9

--

8

Important:: Program the replacement PCM. Refer to Powertrain Control Module/Throttle Actuator Control Module Replacement .

Replace the PCM.

Is the action complete?

--

Go to Step 9

--

9

  1. Select the Diagnostic Trouble Codes (DTC) option and the Clear DTC Information option using the scan tool.
  2. Idle the engine at the normal operating temperature.
  3. Select the Specific DTC option under the Diagnostic Trouble Code (DTC) option using a scan tool.
  4. Operate vehicle within the conditions for setting this DTC as specified in the supporting text (if applicable).

Does the scan tool indicate that this test failed?

--

Go to Step 2

Go to Step 10

10

Select the Capture Info option and the Review Info option using the scan tool.

Are any DTCs displayed that you have not diagnosed?

--

Go to applicable DTC table

System OK