GM Service Manual Online
For 1990-2009 cars only

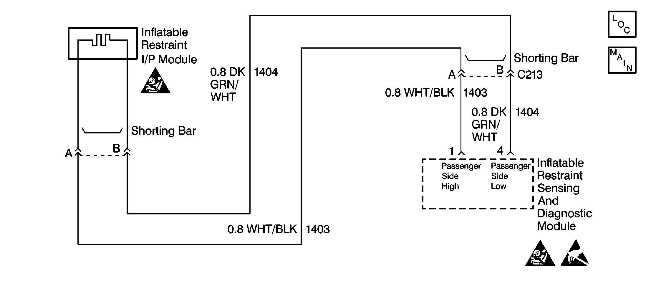
Object Number: 69667  Size: SF
SIR Components
Supplemental Inflatable Restraint Schematics
SIR Caution
Handling ESD Sensitive Parts Notice
SIR Caution

Circuit Description

When you first turn the ignition switch to the ON position, the inflatable restraint Sensing and Diagnostic Module (SDM) performs tests to diagnose critical malfunctions within itself. Upon passing these tests IGNITION 1, 23VLR and the deployment loop voltages are measured to make sure they are within their respective normal voltage ranges. The SDM monitors the voltages at DRIVER SIDE LOW terminal 3 and PASSENGER SIDE LOW terminal 4 to detect shorts to ground in the inflator module circuits. The service wait time is 10 minutes. Refer to ENABLE/DISABLE procedures.

Conditions for Setting the DTC

    • The driver and passenger deployment loops are not open.
    • The driver deployment loop is not shorted to voltage.
    • The voltage at DRIVER SIDE LOW terminal 3 is more than 3.3 volts.
    • The voltage at PASSENGER SIDE LOW terminal 4 is less than 3.3 volts for 500 milliseconds.

The following tests check for this DTC. These tests occur when IGNITION 1 is within the normal operating voltage range.

    • POWER-ON-When the malfunction is detected in this test, the RESISTANCE MEASUREMENT test will not be performed.
    • CONTINUOUS MONITORING

Action Taken When the DTC Sets

    • The SDM sets DTC B1018 and also DTC B1071.
    • The SDM turns ON the AIR BAG warning lamp.

Conditions for Clearing the MIL/DTC

DTC B1018 is a latched code. You cannot clear a latched code. Repair the malfunction that set this DTC before you replace the SDM.

Diagnostic Aids

A short-to-ground in the inflatable restraint I/P module circuit can cause an intermittent condition. A DTC B1018 would be accompanied by DTC B1071. Inspect CKT 1403 and CKT 1404 carefully for cutting or chafing. Wiring pigtail damage requires replacement of the inflatable restraint I/P module. A careful inspection of the circuits and components indicated on the DTC B1018 table is essential in order to prevent damage to the replacement inflatable restraint Sensing and Diagnostic Module (SDM). The diagnostic table directs the technician to note the entry value of PASSENGER SENSELO. Comparing the value of PASSENGER SENSELO can be helpful in determining if an intermittent condition exists.

When measurements are requested in this table, use J 39200 Digital Multimeter with the correct terminal adapter from J 35616 Connector Test Adapter Kit. When a check for proper connection is requested, refer to General Electrical Diagnosis Procedures in Wiring Systems. When a wire, connector or terminal repair is requested, use J-38125 Terminal Repair Kit and refer to Wiring Repair .

Test Description

The numbers below refer to the step numbers on the diagnostic table:

  1. This test determines the passenger side low voltage measured by the inflatable restraint Sensing and Diagnostic Module (SDM). A reading of 3.3 V or more indicates that an intermittent condition may exist.

  2. This test isolates the malfunction to one side of the inflatable restraint I/P module yellow 2-way connector.

  3. This test determines whether the malfunction is due to the inflatable restraint I/P module or the module jumper.

  4. This test determines whether the malfunction is in CKT 1403.

  5. This test determines whether the malfunction is in CKT 1404.

Notice: When DTC B1018 or B1024 has been set it is necessary to replace the inflatable restraint Sensing and Diagnostic Module (SDM). Setting DTC B1018 or B1024 will also cause DTC B1071 to set. When a scan tool clear codes command is issued and the malfunction is no longer present, DTC B1018 or B1024 and DTC B1071 will remain current. Make sure that the short to ground condition is repaired prior to installing a replacement SDM to avoid damaging the SDM.

DTC B1018 Pass. Deployment Loop Short to Ground

Step

Action

Value(s)

Yes

No

1

Was the SIR Diagnostic System Check performed?

--

Go to Step 2

Go to SIR Diagnostic System Check

2

  1. Turn the ignition switch OFF.
  2. Connect a scan tool to the DLC.
  3. Turn the ignition switch to ON.
  4. Request the SIR data list display.
  5. Read and record on the repair order the passenger side low voltage PASSENGER SENSELO.

Is PASSENGER SENSELO less than the specified value?

3.3 V

Go to Step 3

Refer to Diagnostic Aids

3

  1. Turn the ignition switch OFF.
  2. Disconnect the inflatable restraint steering wheel and I/P module yellow 2-way connectors at the base of the steering column.
  3. Connect J 38715-A SIR Driver/Passenger Load Tool to the harness connectors.
  4. Turn the ignition switch to ON.
  5. Using the scan tool, request the SIR data list display.
  6. Read the passenger side low voltage PASSENGER SENSELO.

Is PASSENGER SENSELO less than the specified value?

3.3 V

Go to Step 7

Go to Step 4

4

  1. Turn the ignition switch OFF.
  2. Disconnect the inflatable restraint I/P module jumper harness connector from the J 38715-A .
  3. Connect the connector to the jumper.
  4. Connect J 38715-A to the inflatable restraint I/P module side of the jumper.
  5. Turn the ignition switch to ON.
  6. Using the scan tool, request the SIR data list display.
  7. Read the passenger side low voltage PASSENGER SENSELO.

Is PASSENGER SENSELO less than the specified value?

3.3 V

Go to Step 5

Go to Step 6

5

  1. Turn the ignition switch OFF.
  2. Repair the short-to-ground condition in the jumper harness.

Are the repairs complete?

--

Go to Step 11

--

6

  1. Turn the ignition switch OFF.
  2. Inspect the inflatable restraint I/P module pigtail for damage and proper routing.
  3. Replace the inflatable restraint I/P module. Refer to Inflatable Restraint Instrument Panel Inflator Module .

Are the repairs complete?

--

Go to Step 11

--

7

  1. Turn the ignition switch OFF.
  2. Disconnect the inflatable restraint Sensing and Diagnostic Module (SDM).
  3. Disconnect the J 38715-A .
  4. Measure the resistance on the SDM harness connector from terminals 1 to 6 (ground).

Is the resistance less than the specified value?

OL

Go to Step 8

Go to Step 9

8

Repair a short-to-ground condition in CKT 1403.

Are the repairs complete?

--

Go to Step 11

--

9

Measure the resistance on the SDM harness connector from terminals 4 to 6 (ground).

Is the resistance less than the specified value?

OL

Go to Step 10

Go to Integrity Check

10

Repair a short-to-ground condition in CKT 1404.

Are the repairs complete?

--

Go to Step 11

--

11

  1. Reconnect all the SIR system components, make sure all the components are properly mounted.
  2. Turn the ignition switch to ON.
  3. Make sure PASSENGER SENSELO is more than the specified value.
  4. Replace the inflatable restraint Sensing and Diagnostic Module (SDM). Refer to Inflatable Restraint Sensing and Diagnostic Module .

Have all the SIR components been reconnected and properly mounted?

3.3 V

Go to SIR Diagnostic System Check

--