GM Service Manual Online
For 1990-2009 cars only

DTC C1286 Steering Sensor Bias Malfunction Without RPO JL4


Object Number: 313990  Size: MF
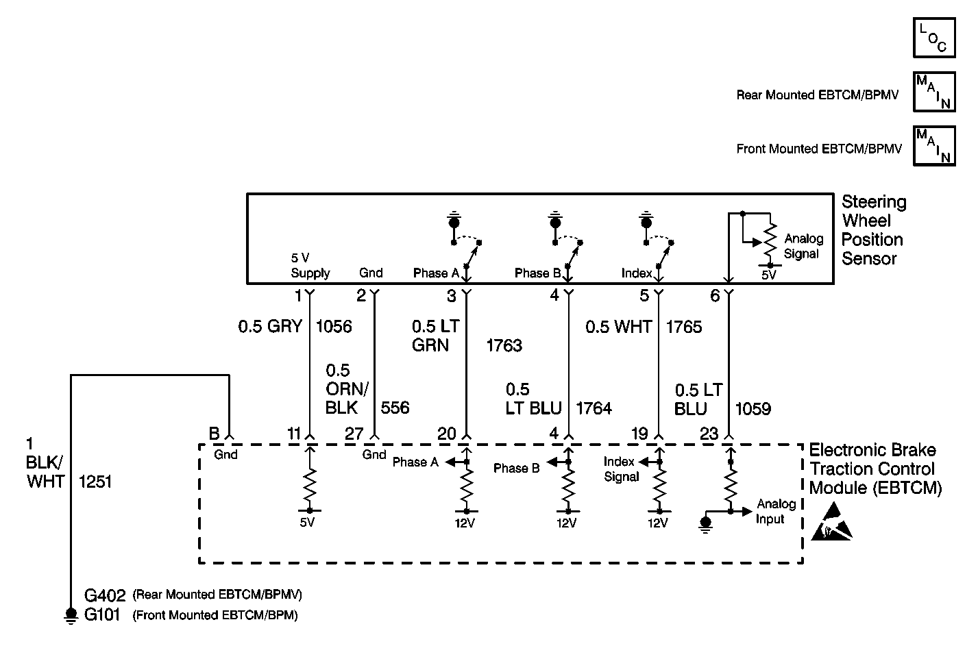
ABS/TCS Schematics Front Mounted EBTCM/BPMV
ABS Components

Circuit Description

The EBTCM runs a centering routine when the vehicle speed goes above 30 Km/h (18 mph). When the vehicle reaches 30 Km/h (18 mph), the EBTCM monitors the Steering Wheel Position Sensor inputs (Phase A, Phase B and Analog voltage) to see if the steering wheel is moving. If the steering wheel is not moving for a set period of time then the EBTCM assumes the vehicle is going in a straight line. At this point, the EBTCM looks at the analog voltage signal and reads the voltage. This voltage normally around 2.5V, is then considered the center position and the digital degrees also become zero at the same time. This centering routine is necessary to compensate for wear in the steering and suspension. Wear in the steering and suspension can result in a change in the relationship between the steering wheel and the front wheels. By running the centering routine the EBTCM can compensate for these changes by changing the digital and analog center position.

Conditions for Setting the DTC

    • DTC C1286 can be set after the centering routines completion if the bias value is ± 30 degrees from the previous bias value.
    • DTC C1286 can also be set at start up if the bias value was out of range on the last ignition cycle.

Action Taken When the DTC Sets

Magnasteer®2 is disabled, ABS/TCS remains active.

Messages displayed on the DIC:

Service Vehicle Soon

Conditions for Clearing the DTC

    • Condition for DTC is no longer present and scan tool clear DTC function is used.
    • Fifty ignition cycles have passed with no DTCs detected.

Diagnostic Aids

Possible causes:

    • Steering wheel rotated with steering gear disconnected.
    • Faulty Steering Wheel Position Sensor.
    • Faulty EBTCM.

Test Description

The numbers below refer to the step numbers on the diagnostic table.

  1. Recenters the Steering Wheel Position Sensor.

DTC C1286 Steering Sensor Bias Malfunction

Step

Action

Value(s)

Yes

No

1

Was the Diagnostic System Check performed?

--

Go to Step 2

Go to Diagnostic System Check

2

Is this vehicle equipped with Active Handling (RPO JL4)?

--

Go to DTC C1286 Steering/Lateral Accelerometer Sensor Bias Malfunction

Go to Step 3

3

  1. Point the front wheels straight ahead.
  2. Using a scan tool check the Steering Wheel Position Sensor Analog voltage.

Is the voltage within the range specified within the value(s) column?

2-3 V

Go to Step 4

Go to Step 5

4

Replace the EBTCM. Refer to Electronic Brake Control Module Replacement .

Is the repair complete?

--

Go to Diagnostic System Check

--

5

  1. Turn the ignition switch to the OFF position.
  2. Disable the Supplemental Inflatable Restraint (SIR). Refer to Disabling the SIR System in SIR.
  3. Remove the Inflatable Restraint Wheel Module Coil. Refer to Steering Wheel Inflator Module Coil Replacement in Steering Wheel and Column.
  4. Remove the Intermediate Shaft. Refer to Intermediate Steering Shaft Replacement in Steering Wheel and Column.
  5. Turn the ignition switch to the ON position, engine off.
  6. Using a scan tool monitor the Steering Wheel Position Sensors analog voltage as you rotate the steering column shaft.
  7. Turn the steering column shaft until the analog voltage is close to 2.5 volts.

Does the analog voltage move to or close to 2.5 volts?

--

Go to Step 7

Go to Step 6

6

Replace the Steering Wheel Position Sensor. Refer to Steering Wheel Position Sensor Replacement in Steering Wheel and Column.

Is the replacement complete?

Go to Diagnostic System Check

--

7

  1. Leave the steering column shaft centered at 2.5 volts.
  2. Turn the ignition switch to the OFF position.
  3. Install the Intermediate Shaft. Refer to Intermediate Steering Shaft Replacement in Steering Wheel and Column.
  4. Install the Inflatable Restraint Wheel Module Coil. Refer to Steering Wheel Inflator Module Coil Replacement in Steering Wheel and Column.
  5. Enable the SIR. Refer to Enabling the SIR System in SIR.

Is the repair complete?

--

Go to Step 8

--

8

  1. Turn the ignition switch to the ON position, engine off.
  2. Using a scan tool clear DTC C1286.
  3. Drive vehicle above 30 Km/h (18 mph) for several minutes.
  4. Using a scan tool check for DTC C1286.

Did DTC C1286 set as a current DTC?

--

Go to Step 4

Go to Diagnostic System Check