GM Service Manual Online
For 1990-2009 cars only

DTC C1237 High System Supply Voltage Rear Mounted EBTCM/BPMV


Object Number: 278748  Size: MF
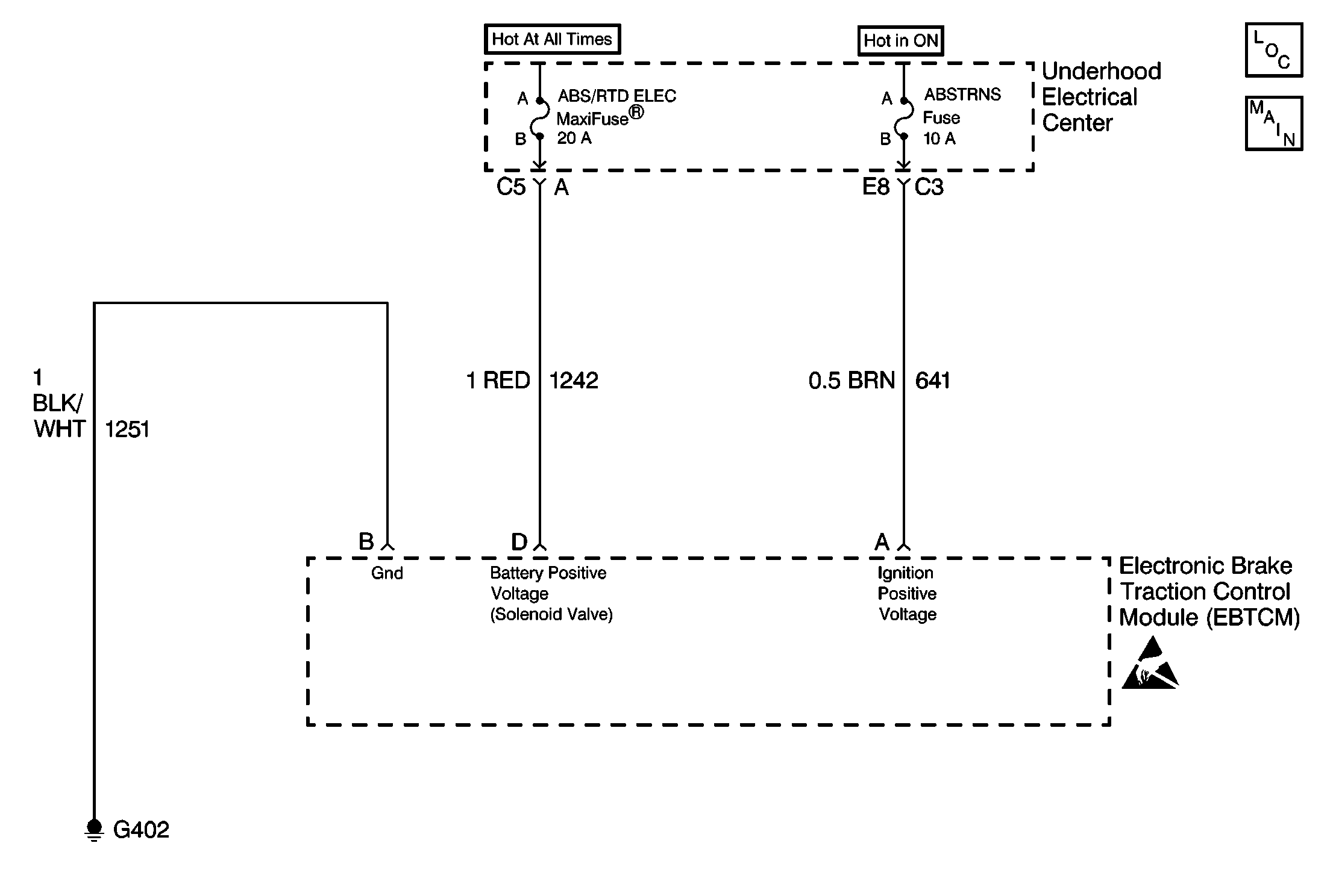
ABS/TCS Schematics Front Mounted EBTCM/BPMV
ABS Components

Circuit Description

This circuit is designed to detect high vehicle voltage levels to the solenoid relay. High voltage may cause damage to the system.

Conditions for Setting the DTC

DTC C1237 can only be set if the vehicle's speed is greater than 8 km/h (5 mph). If the battery voltage is greater than 17 volts, a malfunction exists.

Action Taken When the DTC Sets

ABS/TCS are disabled.

    • Indicators that turn on:
       - ABS indicator
       - Car Icon (TCS indicator)
    • Messages displayed on the DIC:
       - Service ABS
       - Service Traction System

Conditions for Clearing the DTC

    • Condition for DTC is no longer present and scan tool clear DTC function is used.
    • Fifty ignition cycles have passed with no DTCs detected.

Diagnostic Aids

    • If an intermittent malfunction exists refer to Testing for Electrical Intermittents in Wiring Systems.
    • Possible causes for DTC C1237 to set:
    • Overcharging

Test Description

The numbers below refer to step numbers on the diagnostic table.

  1. Checks to see what the EBTCM is reading as the voltage.

  2. Checks the actual battery voltage.

DTC C1237 High System Voltage

Step

Action

Value(s)

Yes

No

1

Was the Diagnostic System Check performed?

--

Go to Step 2

Go to Diagnostic System Check

2

  1. Turn all accessories off.
  2. Start engine.
  3. Using the scan tool select ABS/TCS DATA LIST and monitor battery voltage while running engine at approximately 2000 RPM

Is the voltage within the range specified in the Value(s) column?

Less than 17 V

Go to Step 4

Go to Step 3

3

Check actual battery voltage, using J 39200 DMM, while running engine at approximately 2000 RPM.

Is the voltage within the range specified in the Value(s) column?

Less than 17 V

Go to Step 4

Refer to Charging System Check in Engine Electrical.

4

Carefully test drive vehicle above 8 km/h (5 mph).

Does DTC C1237 reset as a current DTC?

--

Go to Step 5

Go to Diagnostic System Check

5

Replace the EBTCM. Refer to Electronic Brake Control Module Replacement .

Is repair complete?

--

Go to Diagnostic System Check

--

DTC C1237 High System Supply Voltage Front Mounted EBTCM/BPMV


Object Number: 479929  Size: MF
ABS/TCS Schematics Front Mounted EBTCM/BPMV
ABS Components

Circuit Description

This circuit is designed to detect high vehicle voltage levels to the solenoid relay. High voltage may cause damage to the system.

Conditions for Setting the DTC

DTC C1237 can only be set if the vehicle's speed is greater than 8 km/h (5 mph). If the battery voltage is greater than 17 volts, a malfunction exists.

Action Taken When the DTC Sets

ABS/TCS/Active Handling (if equipped with RPO JL4) are disabled.

    • Indicators that turn on:
       - ABS indicator
       - Car Icon (TCS indicator)
    • Messages displayed on the DIC:
       - Service ABS
       - Service Traction System
       - Service Active HNDLG (if equipped with Active Handling RPO JL4)

Conditions for Clearing the DTC

    • Condition for DTC is no longer present and scan tool clear DTC function is used.
    • Fifty ignition cycles have passed with no DTCs detected.

Diagnostic Aids

    • If an intermittent malfunction exists refer to Testing for Electrical Intermittents in Wiring Systems.
    • Possible causes for DTC C1237 to set:
    • Overcharging

Test Description

The numbers below refer to step numbers on the diagnostic table.

  1. Checks to see what the EBTCM is reading as the voltage.

  2. Checks the actual battery voltage.

DTC C1237 High System Voltage

Step

Action

Value(s)

Yes

No

1

Was the Diagnostic System Check performed?

--

Go to Step 2

Go to Diagnostic System Check

2

  1. Turn all accessories off.
  2. Start engine.
  3. Using the scan tool select ABS/TCS or ABS/TCS/Active Handling DATA LIST and monitor battery voltage while running engine at approximately 2000 RPM

Is the voltage within the range specified in the Value(s) column?

Less than 17 V

Go to Step 4

Go to Step 3

3

Check actual battery voltage, using J 39200 DMM, while running engine at approximately 2000 RPM.

Is the voltage within the range specified in the Value(s) column?

Less than 17 V

Go to Step 4

Refer to Charging System Check in Engine Electrical.

4

Carefully test drive vehicle above 8 km/h (5 mph).

Does DTC C1237 reset as a current DTC?

--

Go to Step 5

Go to Diagnostic System Check

5

Replace the EBTCM. Refer to Electronic Brake Control Module Replacement .

Is repair complete?

--

Go to Diagnostic System Check

--