GM Service Manual Online
For 1990-2009 cars only

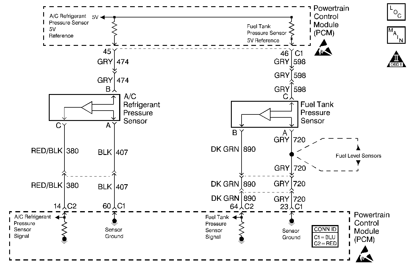
Object Number: 383779  Size: MF
Engine Controls Component Views
Engine Controls Schematics
OBD II Symbol Description Notice
Handling ESD Sensitive Parts Notice
Handling ESD Sensitive Parts Notice

Circuit Description

The Fuel Tank Pressure sensor changes resistance based on the fuel tank pressure (or vacuum). A vacuum is considered negative pressure.

The PCM provides a 5.0 volt reference and a ground. The Fuel Tank Pressure sensor signal varies between ground and 5.0 volts as the fuel tank pressure varies. The Fuel Tank Pressure sensor voltage increases as the fuel tank pressure decreases. The Fuel Tank Pressure sensor voltage decreases as the fuel tank pressure increases. The PCM uses the Fuel Tank Pressure sensor voltage for EVAP system leak detection. This DTC sets when the Fuel Tank Pressure sensor signal goes below a predetermined value.

Conditions for Running the DTC

The engine is operating.

Conditions for Setting the DTC

    • The Fuel Tank Pressure sensor voltage is less than 0.1 volts.
    • All conditions present for greater than 5.0 seconds.

Action Taken When the DTC Sets

    • The PCM illuminates the malfunction indicator lamp (MIL) on the second consecutive ignition cycle that the diagnostic runs and fails.
    • The PCM records the operating conditions at the time the diagnostic fails. The first time the diagnostic fails, the PCM stores this information in the Failure Records. If the diagnostic reports a failure on the second consecutive ignition cycle, the PCM records the operating conditions at the time of the failure. The PCM writes the conditions to the Freeze Frame and updates the Failure Records.

Conditions for Clearing the MIL/DTC

    • The PCM turns OFF the malfunction indicator lamp (MIL) after 3 consecutive ignition cycles that the diagnostic runs and does not fail.
    • A last test failed, or current DTC, clears when the diagnostic runs and does not fail.
    • A history DTC clears after 40 consecutive warm-up cycles, if no failures are reported by this or any other emission related diagnostic.
    • Use a scan tool in order to clear the MIL and the DTC.

Diagnostic Aids

Important: 

   • Remove any debris from the PCM\TAC module connector surfaces before servicing the PCM\TAC module. Inspect the PCM\TAC module connector gaskets when diagnosing/replacing the modules. Ensure that the gaskets are installed correctly. The gaskets prevent contaminate intrusion into the PCM\TAC modules.
   • For any test that requires probing the PCM or a component harness connector, use the Connector Test Adapter Kit J 35616 . Using this kit prevents damage to the harness/component terminals. Refer to Using Connector Test Adapters in Wiring Systems.

    • The following may cause an intermittent:
       - Poor connections; Refer to Intermittents and Poor Connections Diagnosis in Wiring Systems.
       - Mis-routed harness.
       - Rubbed through wire insulation.
       - Broken wire inside the insulation.
    • The EVAP Pressure Sensor range is 7.5 in. H2O of pressure to -17.5  in. H2O of pressure (vacuum).
    • The vacuum and pressure in the EVAP system is measured in inches of H2O (water). Most gauges measure vacuum in inches of Hg (mercury) and pressure in psi (pounds per square inch). The following shows how the values compare:

in. H2O

in. Hg.

psi

1 in. H2O

0.07 in. Hg

0.0361 psi.

5 in. H2O

0.36 in. Hg

0.180 psi.

10 in. H2O

0.73 in. Hg

0.361 psi.

15 in. H2O

1.10 in. Hg

0.541 psi.

    • Using Freeze Frame and/or Failure Records data may aid in locating an intermittent condition. If you cannot duplicate the DTC, the information included in the Freeze Frame and/or Failure Records data can aid in determining how many miles since the DTC set. The Fail Counter and Pass Counter can also aid determining how many ignition cycles the diagnostic reported a pass and/or a fail. Operate the vehicle within the same freeze frame conditions (RPM, load, vehicle speed, temperature etc.) that you observed. This isolates when the DTC failed.
    • For an intermittent, refer to Symptoms .

Test Description

The numbers below refer to the step numbers on the diagnostic table.

  1. If DTCs P1635 and P1639 set at the same time, this indicates that the 5 volt reference circuit or the signal circuit is shorted to a voltage. The 5 volt reference circuit is internally connected within the PCM.

  1. If DTC P1639 sets at the same time, this indicates that the 5 volt reference circuit is shorted to a ground. The 5 volt reference circuit is internally connected within the PCM. The A/C Refrigerant Pressure Sensor may be causing this DTC to set. Refer to DTC P1639 for further diagnosis

  2. This step determines if the condition is present.

  3. Using the Freeze Frame and/or Failure Records data may aid in locating an intermittent condition. If you cannot duplicate the DTC, the information included in the Freeze Frame and/or Failure Records data can help determine how many miles since the DTC set. The Fail Counter and Pass Counter can also help determine how many ignition cycles the diagnostic reported a pass and/or a fail. Operate the vehicle within the same freeze frame conditions (RPM, load, vehicle speed, temperature etc.) that you observed. This will isolate when the DTC failed.

  4. If the scan tool displays 5 volts, the Fuel Tank Pressure sensor signal circuit, the Fuel Tank Pressure sensor 5 volt reference circuit and the PCM are OK. For any test that requires probing the PCM or component harness connectors, use the Connector Test Adapter Kit J 35616 . Using this kit prevents any damage to the harness connector terminals. Refer to Using Connector Test Adapters in Wiring Systems.

Step

Action

Value(s)

Yes

No

1

Did you perform the Powertrain On-Board Diagnostic (OBD) System Check?

--

Go to Step 2

Go to Powertrain On Board Diagnostic (OBD) System Check

2

  1. Install a scan tool.
  2. Idle the engine.
  3. Monitor the Failed This Ignition option under the DTC Information option using the scan tool.

Did DTC P1635 and P1639 fail this ignition cycle?

--

Go to DTC P1635 5 Volt Reference 1 Circuit

Go to Step 3

3

Did DTC P1639 fail this ignition?

--

Go to DTC P1639 5 Volt Reference 2 Circuit

Go to Step 4

4

Monitor the Fuel Tank Pressure sensor voltage on Engine 2 Data List on the scan tool.

Is the Fuel Tank Pressure sensor voltage below the specified value?

0.10V

Go to Step 6

Go to Step 5

5

  1. Turn ON the ignition leaving the engine OFF.
  2. Review the Freeze Frame and/or Failure Records data for this DTC and observe the parameters.
  3. Turn OFF the ignition for 15 seconds.
  4. Idle the engine.
  5. Operate the vehicle within the conditions required for this diagnostic to run, and as close to the conditions recorded in the Freeze Frame/Failure Records as possible. Special operating conditions that you need to meet before the PCM will run this diagnostic, where applicable, are listed in Conditions for Running the DTC.
  6. Select the Diagnostic Trouble Code (DTC) option, the Specific DTC option, then enter the DTC number using the scan tool.

Does the scan tool indicate that this diagnostic failed this ignition?

--

Go to Step 6

Go to Diagnostic Aids

6

  1. Remove the left rear wheelhouse panel. Refer to Wheelhouse Panel Replacement in Body Rear End.
  2. Disconnect the Fuel Tank Pressure sensor electrical connector.
  3. Jumper the 5.0 volt reference circuit and the Fuel Tank Pressure sensor signal circuit together at the Fuel Tank Pressure sensor electrical connector (PCM side).
  4. Observe the Fuel Tank Pressure sensor voltage display on the scan tool.

Is the Fuel Tank Pressure sensor voltage near the specified value?

5.0V

Go to Step 7

Go to Step 8

7

  1. Inspect for poor connections at the Fuel Tank Pressure Sensor electrical connector. Refer to Intermittents and Poor Connections Diagnosis in Wiring Systems.
  2. If you find a poor connection repair the terminal as necessary. Refer to Connector Repairs in Wiring Systems.

Did you find and correct the condition?

--

Go to Step 15

Go to Step 13

8

  1. Connect the test lamp J 35616-200 between B+ and the Fuel Tank Pressure sensor signal circuit at the Fuel Tank Pressure sensor electrical connector. Refer to Probing Electrical Connectors in Wiring Systems .
  2. Observe the Fuel Tank Pressure sensor voltage display on the scan tool.

Is the Fuel Tank Pressure sensor voltage near the specified value?

5.0V

Go to Step 9

Go to Step 11

9

  1. Turn OFF the ignition.
  2. Disconnect the PCM connector C1 located on the same side as the manufacturer's logo. Refer to Powertrain Control Module/Throttle Actuator Control Module Replacement .
  3. Check the 5.0 volt reference circuit for an open or short to a ground.
  4. If you find the 5.0 volt reference circuit is open or shorted to a ground, repair the circuit as necessary. Refer to Wiring Repairs in Wiring Systems .

Did you find the 5.0 volt reference circuit open or shorted to a ground?

--

Go to Step 15

Go to Step 10

10

  1. Check the 5.0 volt reference circuit for a poor connection at the PCM. Refer to Intermittents and Poor Connections Diagnosis in Wiring Systems .
  2. If you find a poor connection repair the terminal as necessary. Refer to Connector Repairs in Wiring Systems.

Did you find and correct the condition?

--

Go to Step 15

Go to Step 14

11

  1. Turn OFF the ignition.
  2. Disconnect the PCM connector C2 located on the opposite side of the manufacturer's logo. Refer to Powertrain Control Module/Throttle Actuator Control Module Replacement .
  3. Check the Fuel Tank Pressure sensor signal circuit for the following:
  4. • Open circuit
    • Short to a ground
    • Short to sensor ground circuit
  5. If you find the Fuel Tank Pressure sensor signal circuit is open or shorted to a ground, repair the circuit as necessary. Refer Wiring Repairs in Wiring Systems.

Did you find the Fuel Tank Pressure sensor signal circuit open or shorted to a ground?

--

Go to Step 15

Go to Step 12

12

  1. Inspect the Fuel Tank Pressure Sensor signal circuit for poor connections at the PCM. Refer to Intermittents and Poor Connections Diagnosis in Wiring Systems.
  2. If you find a poor connection repair the terminal as necessary. Refer to Connector Repairs in Wiring Systems.

Did you find and correct the condition?

--

Go to Step 15

Go to Step 14

13

Important: Before replacing the Fuel Tank Pressure sensor inspect the Fuel Tank Pressure Sensor hose for restrictions, being disconnected, or cracked.

Replace the Fuel Tank Pressure sensor. Refer to Fuel Tank Pressure Sensor Replacement .

Is the action complete?

--

Go to Step 15

--

14

Important:: Program the replacement PCM. Refer to Powertrain Control Module/Throttle Actuator Control Module Replacement .

Replace the PCM.

Is the action complete?

--

Go to Step 15

--

15

  1. Select the Diagnostic Trouble Code (DTC) option and the Clear DTC Information option using the scan tool.
  2. Idle the engine at the normal operating temperature.
  3. Select the Diagnostic Trouble Code (DTC) option and the Specific DTC option, then enter the DTC number using the scan tool.
  4. Operate the vehicle within the Conditions for Running the DTC as specified in the supporting text, if applicable.

Does the scan tool indicate that this test ran and passed?

--

Go to Step 16

--

16

Select the Capture Info option and the Review Info option using the scan tool.

Does the scan tool display any DTCs that you have not diagnosed?

--

Go to the applicable DTC

System OK