GM Service Manual Online
For 1990-2009 cars only

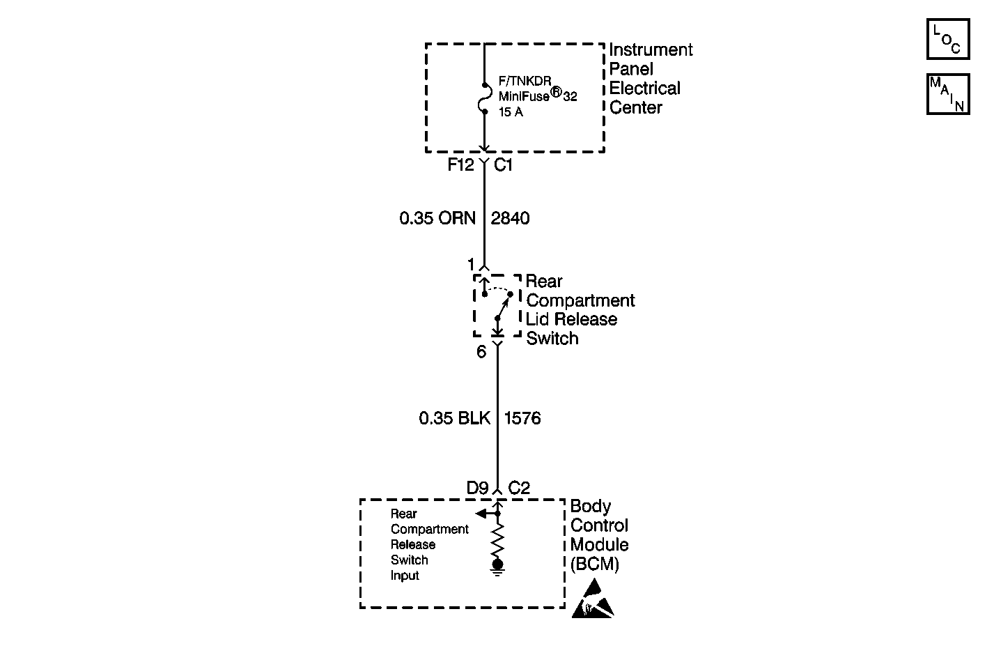
Object Number: 472952  Size: MF
Body Control Module Components
Body Control System Schematics
Handling Electrostatic Discharge Sensitive Parts Notice

Circuit Description

The hatch release switch circuit provides a direct battery input to the BCM when the switch is pressed. This input allows the BCM to detect a hatch release request. If the BCM detects battery voltage on CKT 1576, the BCM will energize the hatch release relay. The BCM monitors the hatch release switch circuit and determines how long voltage has been applied.

Conditions for Setting the DTC

The BCM detects battery voltage on CKT 1576 for longer than 60 seconds.

Action Taken When the DTC Sets

    • Stores a DTC B2573 in the BCM memory.
    • No driver warning message will be displayed for this DTC.

Conditions for Clearing the DTC

    • The BCM no longer detects battery voltage on CKT 1576 for longer than 60 seconds.
    • A history DTC will clear after 50 consecutive ignition cycles if the condition for the malfunction is no longer present.
    • Use the IPC clearing DTCs feature.
    • Use a scan tool.

Diagnostic Aids

    • The following conditions may cause an intermittent malfunction:
       - There is an intermittent short to voltage in CKT 1576.
       - The hatch release switch is shorted to voltage internally or is sticking.
       - The hatch release switch is pressed for longer than 60 seconds.
    • If CKT 1576 is shorted to voltage with the ignition ON, the hatch will release once and then will remain inoperative. If the short occurred when the ignition was turned OFF, the hatch will release as soon as the ignition is turned ON and will then remain inoperative. The BCM will remember the last transition that took place from the hatch release switch and will not release the hatch again until the BCM detects a change from the hatch release switch.
    • If the DTC is a history DTC, the problem may be intermittent. Perform the tests shown while moving related wiring and connectors. This can often cause the malfunction to occur. Refer to Intermittents and Poor Connections Diagnosis .

Test Description

The numbers below refer to the step numbers on the diagnostic table:

  1. This test determines the status of the hatch release switch using a scan tool. The scan tool will display the hatch release switch status as ACTIVE (button pressed) and INACTIVE (button released).

  2. This test checks if the hatch release switch is shorted to ground or stuck. If the hatch release switch status changes from ACTIVE to INACTIVE when the hatch release switch is disconnected, then the hatch release switch must be replaced.

DTC B2573 -- Hatch release Switch Circuit Short to Voltage

Step

Action

Value(s)

Yes

No

1

Were you sent here from the BCM Diagnostic System Check?

--

Go to Step 2

Go to Diagnostic System Check - Body Control System

2

  1. Turn ON the ignition switch.
  2. Using a scan tool, select BCM input display and monitor the hatch release switch status.

Does the scan tool display hatch release switch status as ACTIVE?

--

Go to Step 3

Go to Step 7

3

  1. Disconnect the hatch release switch connector.
  2. Using a scan tool, select BCM input display and monitor the hatch release switch status.

Does the scan tool display hatch release switch status as ACTIVE?

--

Go to Step 4

Go to Step 5

4

Check for a short to voltage in CKT 1576.

Was a problem found and repaired?

--

Go to Step 9

Go to Step 6

5

Replace the hatch release switch. Refer to Rear Compartment Lid Switch Replacement in Body Rear End.

Is the replacement complete?

--

Go to Step 9

--

6

  1. Replace the BCM. Refer to Body Control Module Replacement
  2. Program the BCM. Refer to Body Control Module (BCM) Programming/RPO Configuration

Is the replacement complete?

--

Go to Step 9

--

7

Check the hatch release switch circuit for an intermittent malfunction. Refer to Diagnostic Aids.

Was a problem found and repaired?

--

Go to Step 9

Go to Step 8

8

  1. Turn OFF the ignition switch.
  2. Reconnect or install any connectors or components that were disconnected or removed.
  3. Turn ON the ignition switch.
  4. Clear any DTCs.
  5. Wait 60 seconds.

Does DTC B2573 set as current?

--

Go to Step 6

System OK

9

  1. Turn OFF the ignition switch.
  2. Reconnect or install any connectors or components that were disconnected or removed.
  3. Turn ON the ignition switch.
  4. Clear any DTCs.

Is the repair complete?

--

Go to Diagnostic System Check - Body Control System

--