GM Service Manual Online
For 1990-2009 cars only

Object Number: 97837  Size: MF
Power Door Systems Components
Door Control Module Schematics
Handling Electrostatic Discharge Sensitive Parts Notice

Circuit Description

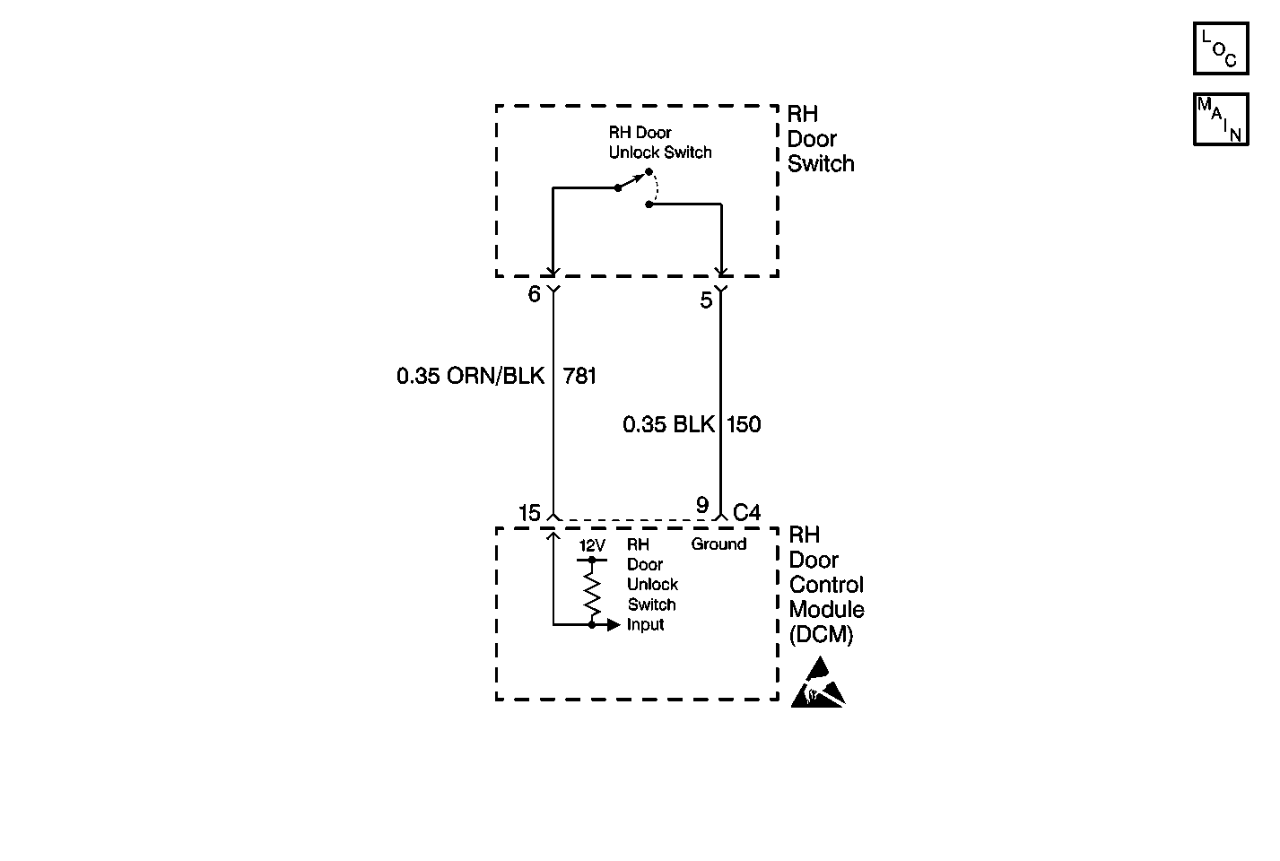
The RH door switch circuit provides input to the RH Door Control Module (RDCM) when the switch is pressed to the LOCK or UNLOCK position. This input allows the RDCM to detect a door LOCK or UNLOCK request. The RDCM provides both power and ground to the door lock and unlock switches. When the RH door LOCK switch is pressed, a ground is supplied through the RH door switch to the RH door lock switch input which is pulled low. When the RDCM detects low voltage on the RH door lock switch input, the RDCM will LOCK the RH door and also send a message on the serial data line to the LH Door Control Module (LDCM) to LOCK the LH door. When the RH door UNLOCK switch is pressed, the RDCM will unlock the RH door and also send a second message on the serial data line to the LDCM to UNLOCK the LH door. The RDCM monitors both the RH door lock and unlock switch input circuits and determines how long a ground (switch pressed) has been applied. If the ground is applied for longer than expected, a malfunction is present and a DTC will set.

Conditions for Setting the DTC

    • The RDCM detects a low voltage level (short to ground) at the RH door unlock switch input circuit.
    • Condition must be present for 20 seconds.

Action Taken When the DTC Sets

    • Stores a history DTC B2239 in the RDCM memory.
    • This DTC can only be set as a history code even if the malfunction is current.
    • No driver warning message will be displayed for this DTC.

Conditions for Clearing the DTC

    • The RDCM no longer detects a low voltage level (short to ground) at the RH door unlock switch input circuit for longer than 20 seconds.
    • Use the IPC clearing DTCs feature.
    • Use a scan tool.

Diagnostic Aids

    • The following conditions may cause an intermittent malfunction:
       - There is an intermittent short to ground in the RH door unlock switch input circuit (CKT 781).
       - The RH door unlock switch is shorted to ground internally or is sticking.
       - The RH door unlock switch was pressed for longer than 20 seconds.
    • If CKT 781 is shorted to ground or the RH door unlock switch is stuck closed, the RDCM and LDCM will continuously unlock both doors.
    • Using a scan tool, select RDCM inputs and monitor the door unlock switch status. If the scan tool displays ACTIVE, disconnect the door unlock switch and check if the door unlock switch status changes to INACTIVE. If the status changed, then replace the door unlock switch. If the status did not change, then check CKT 781 for a short to ground.
    • If the DTC does not reset after the code is cleared, then the problem may be intermittent. Perform the tests shown while moving related wiring and connectors. This can often cause the malfunction to occur. Refer to Intermittents and Poor Connections .

Test Description

The numbers below refer to the step numbers on the diagnostic table:

  1. This test determines the status of the RH door unlock switch using a scan tool. The scan tool will display the RH door unlock switch status as ACTIVE (button pressed) and INACTIVE (button released).

  2. This test checks if the RH door unlock switch is shorted to ground or stuck. If the RH door unlock switch status changes from ACTIVE to INACTIVE when the RH door unlock switch is disconnected, then the RH door switch assembly must be replaced.

DTC B2239

Step

Action

Value(s)

Yes

No

1

Were you sent here from the Power Door Diagnostic System Check?

--

Go to Step 2

Go to Diagnostic System Check - Power Door Systems

2

Using a scan tool, select RDCM input display and monitor the door unlock switch status.

Does the scan tool display door unlock switch status as ACTIVE?

--

Go to Step 3

Go to Step 7

3

  1. Disconnect the RH door unlock switch connector.
  2. Using a scan tool, select RDCM input display and monitor the door unlock switch status.

Does the scan tool display door unlock switch status as ACTIVE?

--

Go to Step 4

Go to Step 5

4

Check for a short to ground in CKT 781.

Was a problem found and repaired?

--

Go to Step 9

Go to Step 6

5

Replace the RH door switch assembly. Refer to Door Lock Switch Replacement .

Is the replacement complete?

--

Go to Step 9

--

6

  1. Replace the RDCM. Refer to Door Control Module Replacement .
  2. Program the replacement DCM (hardtop only). Refer to Door Control Module Programming/RPO Configuration .

Is the replacement complete?

--

Go to Step 9

--

7

Check the RH door unlock switch circuit for an intermittent malfunction. Refer to Diagnostic Aids.

Was a problem found and repaired?

--

Go to Step 9

Go to Step 8

8

  1. Turn OFF the ignition switch.
  2. Reconnect or install any connectors or components that were disconnected or removed.
  3. Turn ON the ignition switch.
  4. Clear any DTCs.
  5. Wait 20 seconds.

Does DTC B2239 set as history?

--

Go to Step 6

System OK

9

  1. Turn OFF the ignition switch.
  2. Reconnect or install any connectors or components that were disconnected or removed.
  3. Turn ON the ignition switch.
  4. Clear any DTCs.

Is the repair complete?

--

Go to Diagnostic System Check - Power Door Systems

--