GM Service Manual Online
For 1990-2009 cars only

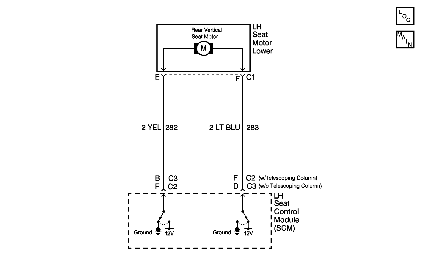
Object Number: 517634  Size: MF
Memory Seats Schematics
Power Seat Systems Components

Circuit Description

The LH Seat Control Module (SCM) controls the output functions of the LH seat motor lower after it receives a valid seat switch input. The LH seat switch circuit provides the input to the SCM when the rear of the switch is pressed UP or DOWN. When the SCM detects an active seat command from the switch, the SCM will command the rear vertical seat motor in the appropriate direction. The SCM accomplishes this by providing either a voltage or ground to CKT 282 or CKT 283, depending on the desired seat position. The SCM monitors the amount of current draw on the rear vertical seat motor control circuits. If the current draw is not within the acceptable range, a malfunction is present and a DTC will set.

Conditions for Setting the DTC

    • The SCM detects a low current (open), or high current (short to ground) condition in the rear vertical seat motor control circuit.
    • Condition must be present for 2 seconds.

Action Taken When the DTC Sets

    • Stores a history DTC B2012 in the SCM memory.
    • This DTC can only be set as a history code even if the malfunction is current.
    • No driver warning message will be displayed for this DTC.
    • The operation/function of the faulted motor is disabled until the fault is corrected.

Conditions for Clearing the DTC

    • The SCM no longer detects a low current (open), or high current (short to ground) condition in the rear vertical seat motor control circuit for longer than 2 seconds.
    • Use the IPC clearing DTCs feature.
    • Using a scan tool.

Diagnostic Aids

    • If the DTC does not reset after the code is cleared, then the problem may be intermittent. Perform the tests shown while moving related wiring and connectors. This can often cause the malfunction to occur. Refer to Intermittents and Poor Connections Diagnosis in Wiring Systems.
    • The following conditions may also cause an intermittent malfunction:
       - There is an intermittent open or short in the rear vertical seat motor control circuit .
       - The rear vertical seat motor is open or shorted internally.
    • If the rear vertical seat motor circuit is open or shorted to ground, the seat will operate only in certain directions depending on what circuit was affected.
    • Using a scan tool, select SCM inputs and monitor the rear vertical seat motor current while operating the seat motor in the rear vertical direction. If the scan tool displays lower than normal seat motor current, check the seat motor circuit for opens. If the scan tool displays higher than normal seat motor current, check the seat motor circuit for shorts.

Test Description

The numbers below refer to the step numbers on the diagnostic table:

  1. This test checks the LH seat rear vertical adjustment motor control circuit by measuring the voltage.

DTC B2012

Step

Action

Value(s)

Yes

No

1

Were you sent here from the Power Seat Diagnostic System Check?

--

Go to Step 2

Go to Power Seats System Check

2

  1. Turn OFF the ignition switch.
  2. Disconnect the LH seat adjuster motor connector C1.
  3. Turn ON the ignition switch.
  4. Measure the voltage between terminals E and F at the adjuster motor connector C1 (harness side).
  5. Operate the LH seat rear UP and DOWN.

Is the voltage within the specified range in the UP and DOWN positions?

10.0-14.0 V

Go to Step 6

Go to Step 3

3

Check for an open or short (to ground or voltage) in CKT 282 or CKT 283.

Was a problem found and repaired?

--

Go to Step 7

Go to Step 5

4

Replace the LH seat adjuster motor assembly. Refer to Front Seat Adjuster Motor Replacement .

Is the replacement complete?

--

Go to Step 7

--

5

Replace the SCM. Refer to Memory Seat Control Module Replacement .

Is the replacement complete?

--

Go to Step 7

--

6

Check the LH seat rear vertical adjuster motor circuit for an intermittent malfunction. Refer to Diagnostic Aids.

Was a problem found and repaired?

--

Go to Step 7

Go to Step 4

7

  1. Turn OFF the ignition switch.
  2. Reconnect or install any connectors or components that were disconnected or removed.
  3. Turn ON the ignition switch.
  4. Clear any DTCs.

Is the repair complete?

--

Go to Power Seats System Check

--