GM Service Manual Online
For 1990-2009 cars only

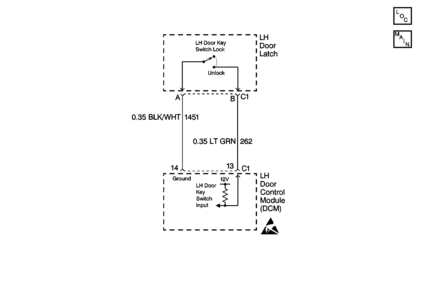
Object Number: 97830  Size: MF
Power Door Systems Components
Door Control Module Schematics
Handling Electrostatic Discharge Sensitive Parts Notice

Circuit Description

The LH door key switch circuit provides input to the LH Door Control Module (LDCM) when the LH door key switch is rotated the UNLOCK position. This input allows the LDCM to detect when the door is unlocked. This information is sent on the serial data line and used by other systems to execute certain functions (UTD, Illuminated entry, hatch release, etc.). The LDCM provides both power and ground to the LH door key switch. When the LH door key switch is rotated the UNLOCK position, a ground is supplied through the LH door key switch to the LH door key switch input which is pulled low. When the LDCM detects low voltage on the LH door key switch input, the LDCM will UNLOCK the driver door and will also send a message on the serial data line to the RH Door Control Module (RDCM) to UNLOCK the passenger door. The LDCM monitors the LH door key switch input circuit and determines how long a ground (switch activated) has been applied. If the ground is applied for longer than expected, a malfunction is present and a DTC will set.

Conditions for Setting the DTC

    • The LDCM detects a low voltage level (short to ground) at the LH door key switch input circuit.
    • Condition must be present for 20 seconds.

Action Taken When the DTC Sets

    • Stores a history DTC B2252 in the LDCM memory.
    • This DTC can only be set as a history code even if the malfunction is current.
    • No driver warning message will be displayed for this DTC.

Conditions for Clearing the DTC

    • The LDCM no longer detects a low voltage level (short to ground) at the LH door key switch input circuit for longer than 20 seconds.
    • Use the IPC clearing DTCs feature.
    • Use a scan tool.

Diagnostic Aids

    • The following conditions may cause an intermittent malfunction:
       - There is an intermittent short to ground in the LH door key switch input circuit (CKT 262).
       - The LH door key switch is shorted to ground internally or is sticking.
       - The LH door key switch was activated for longer than 20 seconds.
    • Using a scan tool, select LDCM inputs and monitor the LH door key switch status. If the scan tool displays ACTIVE, disconnect the LH door key switch and check if the driver LH door key switch status changes to INACTIVE. If the status changed, then replace the LH door key switch. If the status did not change, then check CKT 262 for a short to ground.
    • If the DTC does not reset after the code is cleared, then the problem may be intermittent. Perform the tests shown while moving related wiring and connectors. This can often cause the malfunction to occur. Refer to Intermittents and Poor Connections .

Test Description

The numbers below refer to the step numbers on the diagnostic table:

  1. This test determines the status of the LH door key switch using a scan tool. The scan tool will display the LH door key switch status as ACTIVE (button pressed) and INACTIVE (button released).

  2. This test checks if the LH door key switch is shorted to ground or stuck. If the LH door key switch status changes from ACTIVE to INACTIVE when the LH door key switch is disconnected, then the LH door switch assembly must be replaced.

DTC B2252

Step

Action

Value(s)

Yes

No

1

Were you sent here from the Power Door Diagnostic System Check?

--

Go to Step 2

Go to Diagnostic System Check - Power Door Systems

2

Using a scan tool, select LDCM input display and monitor the door key unlock switch status.

Does the scan tool display door key unlock switch status as ACTIVE?

--

Go to Step 3

Go to Step 7

3

  1. Disconnect the LH door key switch connector.
  2. Using a scan tool, select LDCM input display and monitor the door key unlock switch status.

Does the scan tool display door key unlock switch status as ACTIVE?

--

Go to Step 4

Go to Step 5

4

Check for a short to ground in CKT 262.

Was a problem found and repaired?

--

Go to Step 9

Go to Step 6

5

Replace the LH door latch assembly. Refer to Door Lock Replacement .

Is the replacement complete?

--

Go to Step 9

--

6

  1. Replace the LDCM. Refer to Door Control Module Replacement .
  2. Program the replacement DCM (hardtop only). Refer to Door Control Module Programming/RPO Configuration .

Is the replacement complete?

--

Go to Step 9

--

7

Check the LH door key switch circuit for an intermittent malfunction. Refer to Diagnostic Aids.

Was a problem found and repaired?

--

Go to Step 9

Go to Step 8

8

  1. Turn OFF the ignition switch.
  2. Reconnect or install any connectors or components that were disconnected or removed.
  3. Turn ON the ignition switch.
  4. Clear any DTCs.
  5. Wait 20 seconds.

Does DTC B2252 set as history?

--

Go to Step 6

System OK

9

  1. Turn OFF the ignition switch.
  2. Reconnect or install any connectors or components that were disconnected or removed.
  3. Turn ON the ignition switch.
  4. Clear any DTCs.

Is the repair complete?

--

Go to Diagnostic System Check - Power Door Systems

--