GM Service Manual Online
For 1990-2009 cars only

Object Number: 97838  Size: MF
Power Door Systems Components
Door Control Module Schematics
Handling Electrostatic Discharge Sensitive Parts Notice

Circuit Description

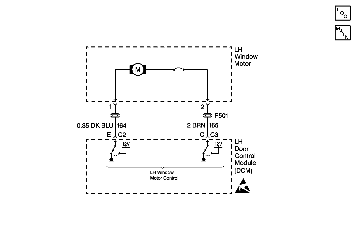
The LH Door Control Module (LDCM) provides the LH window motor control output functions. This output control allows the LDCM to command the LH power window UP or DOWN. The LH door switch circuit provides an input to the LDCM when the window switch is pressed UP or DOWN. When the LDCM detects an active window command from the LH window switch, the DCM will command the LH window motor in the appropriate direction. The LDCM accomplishes this by applying a ground or voltage to CKT 164 and CKT 165 depending on the desired window direction. The LDCM monitors the amount of current draw on the LH window motor circuit. If the current draw is not within the acceptable range, a malfunction is present and a DTC will set.

Conditions for Setting the DTC

    • The LDCM detects a short to voltage condition in the LH window motor control circuit when the LH window motor is not activated.
    • Condition must be present for 120 ms.

Action Taken When the DTC Sets

    • Stores a history DTC B2274 in the LDCM memory.
    • This DTC can only be set as a history code even if the malfunction is current.
    • No driver warning message will be displayed for this DTC.

Conditions for Clearing the DTC

    • The LDCM no longer detects a short to voltage condition in the LH window motor control circuit for longer than 120 ms.
    • Use the IPC clearing DTCs feature.
    • Use a scan tool.

Diagnostic Aids

    • The following conditions may cause an intermittent malfunction:
       - There is an intermittent short to voltage in CKT 164 or CKT 165.
       - The LH window motor is shorted internally.
    • If the LH window motor circuit is shorted to voltage, the LH window will operate only in certain directions depending on what circuit was affected.
    • Using a scan tool, select LDCM inputs and monitor the window motor load while operating the LH window motor UP and DOWN. If the scan tool displays the window motor load as 0, then check the LH window motor circuit for opens.
    • If the DTC does not reset after the code is cleared, then the problem may be intermittent. Perform the tests shown while moving related wiring and connectors. This can often cause the malfunction to occur. Refer to Intermittents and Poor Connections .

Test Description

The numbers below refer to the step numbers on the diagnostic table:

  1. This test checks the LH window motor control circuit by measuring the voltage.

DTC B2274

Step

Action

Value(s)

Yes

No

1

Were you sent here from the Power Door Diagnostic System Check?

--

Go to Step 2

Go to Diagnostic System Check - Power Door Systems

2

  1. Turn OFF the ignition switch.
  2. Disconnect the LH window motor connector.
  3. Turn ON the ignition switch.
  4. Measure the voltage between terminals A and B at the LH window motor connector (harness side).
  5. Operate the LH window UP and DOWN.

Is the voltage within the specified range in the UP and DOWN positions?

10.0-14.0 V

Go to Step 6

Go to Step 3

3

Check for an open or short (to ground or voltage) in CKT 164 or CKT 165.

Was a problem found and repaired?

--

Go to Step 7

Go to Step 5

4

Replace the LH window motor. Refer to Door Window Regulator Replacement .

Is the replacement complete?

--

Go to Step 7

--

5

  1. Replace the LDCM. Refer to Door Control Module Replacement .
  2. Program the replacement DCM (hardtop only). Refer to Door Control Module Programming/RPO Configuration .

Is the replacement complete?

--

Go to Step 7

--

6

Check the power window motor circuit for an intermittent malfunction. Refer to Diagnostic Aids.

Was a problem found and repaired?

--

Go to Step 7

Go to Step 4

7

  1. Turn OFF the ignition switch.
  2. Reconnect or install any connectors or components that were disconnected or removed.
  3. Turn ON the ignition switch.
  4. Clear any DTCs.

Is the repair complete?

--

Go to Diagnostic System Check - Power Door Systems

--