GM Service Manual Online
For 1990-2009 cars only

Object Number: 97840  Size: MF
Power Door Systems Components
Door Control Module Schematics
Handling Electrostatic Discharge Sensitive Parts Notice

Circuit Description

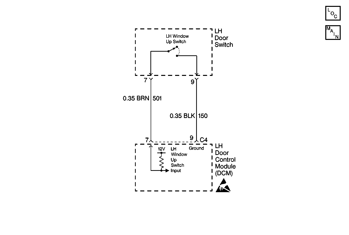
The LH door switch circuit provides input to the LH Door Control Module (LDCM) when the LH window switch is pressed UP or DOWN. This input allows the LDCM to detect a LH window UP or DOWN request. The LDCM provides both power and ground to the window switches. When the LH window up or down switch is pressed, a ground is supplied through the LH window switch to the LH window up or down switch input which is pulled low. When the LDCM detects low voltage on the LH window up or down switch input, the LDCM will command the LH window in the UP or DOWN direction. When the switch is released the LDCM will command the LH window to stop (window express down feature not activated). The LDCM monitors both the LH window switch input circuits and determines how long a ground (switch pressed) has been applied. If the ground is applied for longer than expected, a malfunction is present and a DTC will set.

Conditions for Setting the DTC

    • The LDCM detects a low voltage level (short to ground) at the LH window up switch input circuit.
    • Condition must be present for 20 seconds.

Action Taken When the DTC Sets

    • Stores a history DTC B2202 in the LDCM memory.
    • This DTC can only be set as a history code even if the malfunction is current.
    • No driver warning message will be displayed for this DTC.

Conditions for Clearing the DTC

    • The LDCM no longer detects a low voltage level (short to ground) at the LH window up switch input circuit for longer than 20 seconds.
    • Use the IPC clearing DTCs feature.
    • Use a scan tool.

Diagnostic Aids

    • The following conditions may cause an intermittent malfunction:
       - There is an intermittent short to ground in the LH window up switch input circuit (CKT 501).
       - The LH window up switch is shorted to ground internally or is sticking.
       - The LH window up switch was pressed for longer than 20 seconds.
    • If CKT 501 is shorted to ground or the LH window up switch is stuck closed, the LH window will remain up at all times.
    • Using a scan tool, select LDCM inputs and monitor the driver window up switch status. If the scan tool displays ACTIVE, disconnect the LH window switch and check if the window status changes to INACTIVE. If the status changed, then replace the LH window switch. If the status did not change, then check CKT 501 for a short to ground.
    • If the DTC does not reset after the code is cleared, then the problem may be intermittent. Perform the tests shown while moving related wiring and connectors. This can often cause the malfunction to occur. Refer to Intermittents and Poor Connections .

Test Description

The numbers below refer to the step numbers on the diagnostic table:

  1. This test determines the status of the LH window up switch using a scan tool. The scan tool will display the LH window up switch status as ACTIVE (button pressed) and INACTIVE (button released).

  2. This test checks if the LH window up switch is shorted to ground or stuck. If the LH window up switch status changes from ACTIVE to INACTIVE when the LH window up switch is disconnected, then the LH door switch assembly must be replaced.

DTC B2202

Step

Action

Value(s)

Yes

No

1

Were you sent here from the Power Door Diagnostic System Check?

--

Go to Step 2

Go to Diagnostic System Check - Power Door Systems

2

Using a scan tool, select LDCM input display and monitor the driver window up switch status.

Does the scan tool display driver window up switch status as ACTIVE?

--

Go to Step 3

Go to Step 7

3

  1. Disconnect the LH window up switch connector.
  2. Using a scan tool, select LDCM input display and monitor the driver window up switch status.

Does the scan tool display driver window up switch status as ACTIVE?

--

Go to Step 4

Go to Step 5

4

Check for a short to ground in CKT 501.

Was a problem found and repaired?

--

Go to Step 9

Go to Step 6

5

Replace the LH door switch assembly. Refer to Front Side Door Window Switch Replacement .

Is the replacement complete?

--

Go to Step 9

--

6

  1. Replace the LDCM. Refer to Door Control Module Replacement .
  2. Program the replacement DCM (hardtop only). Refer to Door Control Module Programming/RPO Configuration .

Is the replacement complete?

--

Go to Step 9

--

7

Check the LH window up switch circuit for an intermittent malfunction. Refer to Diagnostic Aids.

Was a problem found and repaired?

--

Go to Step 9

Go to Step 8

8

  1. Turn OFF the ignition switch.
  2. Reconnect or install any connectors or components that were disconnected or removed.
  3. Turn ON the ignition switch.
  4. Clear any DTCs.
  5. Wait 20 seconds.

Does DTC B2202 set as history?

--

Go to Step 6

System OK

9

  1. Turn OFF the ignition switch.
  2. Reconnect or install any connectors or components that were disconnected or removed.
  3. Turn ON the ignition switch.
  4. Clear any DTCs.

Is the repair complete?

--

Go to Diagnostic System Check - Power Door Systems

--