GM Service Manual Online
For 1990-2009 cars only

Object Number: 97845  Size: MF
Power Door Systems Components
Door Control Module Schematics
Handling Electrostatic Discharge Sensitive Parts Notice

Circuit Description

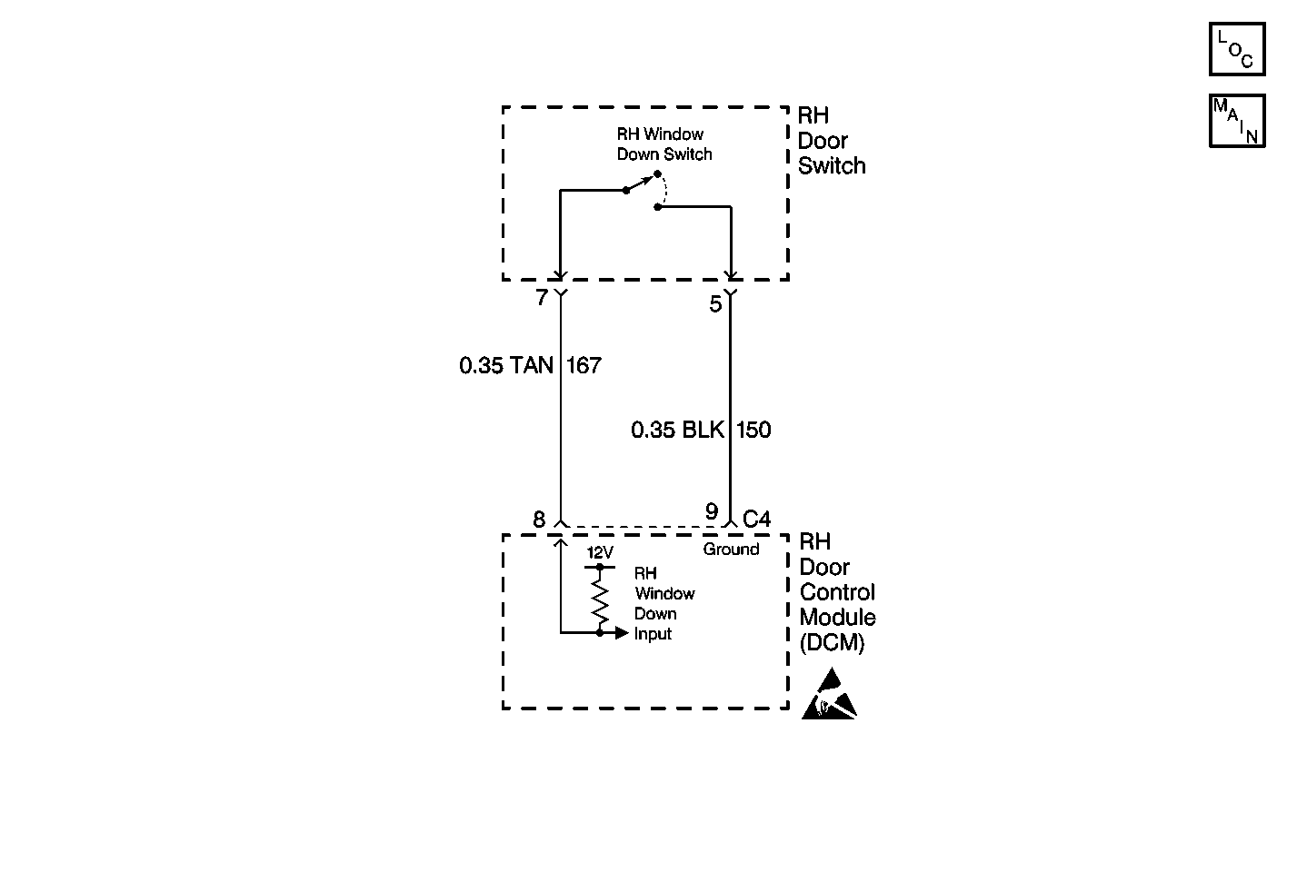
The RH door switch circuit provides input to the RH Door Control Module (RDCM) when the RH window switch is pressed UP or DOWN. This input allows the RDCM to detect a RH window UP or DOWN request. The RDCM provides both power and ground to the window switches. When the RH window up or down switch is pressed, a ground is supplied through the RH window switch to the RH window up or down switch input which is pulled low. When the RDCM detects low voltage on the RH window up or down switch input, the RDCM will command the RH window in the UP or DOWN direction. When the switch is released the RDCM will command the RH window to stop (window express down feature not activated). The RDCM monitors both of the RH window switch input circuits and determines how long a ground (switch pressed) has been applied. If the ground is applied for longer than expected, a malfunction is present and a DTC will set.

Conditions for Setting the DTC

    • The RDCM detects a low voltage level (short to ground) at the RH window down switch input circuit.
    • Condition must be present for 20 seconds.

Action Taken When the DTC Sets

    • Stores a history DTC B2205 in the RDCM memory.
    • This DTC can only be set as a history code even if the malfunction is current.
    • No driver warning message will be displayed for this DTC.

Conditions for Clearing the DTC

    • The RDCM no longer detects a low voltage level (short to ground) at the RH window down switch input circuit for longer than 20 seconds.
    • Use the IPC clearing DTCs feature.
    • Use a scan tool.

Diagnostic Aids

    • The following conditions may cause an intermittent malfunction:
       - There is an intermittent short to ground in the RH window down switch input circuit (CKT 167).
       - The RH window down switch is shorted to ground internally or is sticking.
       - The RH window down switch was pressed for longer than 20 seconds.
    • If CKT 167 is shorted to ground or the RH window down switch is stuck closed, the RH window will remain down at all times.
    • Using a scan tool, select RDCM inputs and monitor the passenger window down switch status. If the scan tool displays ACTIVE, disconnect the RH window switch and check if the window status changes to INACTIVE. If the status changed, then replace the RH window switch. If the status did not change, then check CKT 167 for a short to ground.
    • If the DTC does not reset after the code is cleared, then the problem may be intermittent. Perform the tests shown while moving related wiring and connectors. This can often cause the malfunction to occur. Refer to Intermittents and Poor Connections .

Test Description

The numbers below refer to the step numbers on the diagnostic table:

  1. This test determines the status of the RH window down switch using a scan tool. The scan tool will display the RH window down switch status as ACTIVE (button pressed) and INACTIVE (button released).

  2. This test checks if the RH window down switch is shorted to ground or stuck. If the RH window down switch status changes from ACTIVE to INACTIVE when the RH window down switch is disconnected, then the RH door switch assembly must be replaced.

DTC B2205

Step

Action

Value(s)

Yes

No

1

Were you sent here from the Power Door Diagnostic System Check?

--

Go to Step 2

Go to Diagnostic System Check - Power Door Systems

2

Using a scan tool, select RDCM input display and monitor the passenger window down switch status.

Does the scan tool display passenger window down switch status as ACTIVE?

--

Go to Step 3

Go to Step 7

3

  1. Disconnect the RH window down switch connector.
  2. Using a scan tool, select RDCM input display and monitor the passenger window down switch status.

Does the scan tool display passenger window down switch status as ACTIVE?

--

Go to Step 4

Go to Step 5

4

Check for a short to ground in CKT 167.

Was a problem found and repaired?

--

Go to Step 9

Go to Step 6

5

Replace the RH door switch assembly. Refer to Front Side Door Window Switch Replacement .

Is the replacement complete?

--

Go to Step 9

--

6

  1. Replace the RDCM. Refer to Door Control Module Replacement .
  2. Program the replacement DCM (hardtop only). Refer to Door Control Module Programming/RPO Configuration .

Is the replacement complete?

--

Go to Step 9

--

7

Check the RH window down switch circuit for an intermittent malfunction. Refer to Diagnostic Aids.

Was a problem found and repaired?

--

Go to Step 9

Go to Step 8

8

  1. Turn OFF the ignition switch.
  2. Reconnect or install any connectors or components that were disconnected or removed.
  3. Turn ON the ignition switch.
  4. Clear any DTCs.
  5. Wait 20 seconds.

Does DTC B2205 set as history?

--

Go to Step 6

System OK

9

  1. Turn OFF the ignition switch.
  2. Reconnect or install any connectors or components that were disconnected or removed.
  3. Turn ON the ignition switch.
  4. Clear any DTCs.

Is the repair complete?

--

Go to Diagnostic System Check - Power Door Systems

--