GM Service Manual Online
For 1990-2009 cars only

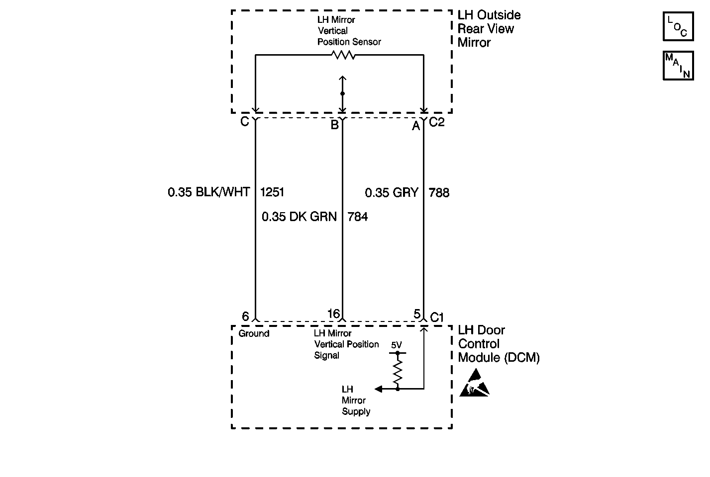
Object Number: 97853  Size: MF
Power Door Systems Components
Door Control Module Schematics
Handling Electrostatic Discharge Sensitive Parts Notice

Circuit Description

The LH Door Control Module (LDCM) receives a vertical position signal from the LH mirror vertical position sensor. This signal is used by the LDCM for memory recall functions to determine the vertical position of the LH mirror. The LDCM commands the mirror memory settings based upon the voltage level the LDCM receives back from the vertical position sensor. The LDCM provides a 5 volt supply (CKT 788), a signal (CKT 784) and a ground (CKT 1251) to the vertical position sensor. The vertical position sensor is a variable resistor which the LDCM monitors the voltage level across. When a memory setting is recalled, the LDCM will command the LH mirror motor in the appropriate direction until the stored position sensor voltage level is achieved. The LDCM also monitors the LH mirror vertical position signal circuit and can determine if the voltage level received is out of range. If the voltage level is out of range, then a malfunction is present and a DTC will set.

Conditions for Setting the DTC

    • The LDCM detects LH mirror vertical position sensor signal voltage range under 0.1 volts or over 4.78 volts.
    • Condition must be present for 2 seconds.

Action Taken When the DTC Sets

    • Stores a history DTC B2264 in the LDCM memory.
    • This DTC can only be set as a history code even if the malfunction is current.
    • No driver warning message will be displayed for this DTC.

Conditions for Clearing the DTC

    • The LDCM detects the correct LH mirror vertical position sensor signal voltage range (0.1-4.78 volts) for longer than 2 seconds.
    • Use the IPC clearing DTCs feature.
    • Use a scan tool.

Diagnostic Aids

    • The following conditions may cause an intermittent malfunction:
       - There is an intermittent open or short (to ground or voltage) in CKT 1251, CKT 784, or CKT 788.
       - The LH mirror vertical position sensor is open or shorted internally.
    • If the LDCM is unable to determine the correct vertical position, manual power mirror functions will still operate, but the LDCM will not be able to recall the correct mirror memory settings.
    • Using a scan tool, select LDCM Data display and monitor the mirror vertical position data. Move the LH power mirror vertically in both direction while monitoring the vertical position sensor data. The voltage range should vary and stay between 0.1-4.78 volts depending on the direction of the mirror. This checks if the mirror vertical position sensor is open or shorted in different positions.
    • If the DTC does not reset after the code is cleared, then the problem may be intermittent. Perform the tests shown while moving related wiring and connectors. This can often cause the malfunction to occur. Refer to Intermittents and Poor Connections .

Test Description

The numbers below refer to the step numbers on the diagnostic table:

  1. This test checks if a DTC B2262 stored in the LDCM memory.

  2. This test checks the mirror vertical position sensor voltage using a scan tool. Normal mirror vertical position sensor voltage range is between 0.1-4.78 volts.

  3. This test checks if the LDCM is sending the correct supply voltage to the LH mirror. The supply voltage measured must be between 4.0-5.5 volts.

  4. This test checks for an open or short to voltage in CKT 1251 or in the LDCM internal ground circuit.

  5. This test checks the output voltage level at the LH mirror vertical position sensor signal circuit. The signal voltage measured must be between 3.5-5.5 volts.

DTC B2264

Step

Action

Value(s)

Yes

No

1

Were you sent here from the Power Door Diagnostic System Check?

--

Go to Step 2

Go to Diagnostic System Check - Power Door Systems

2

Using a scan tool, select LDCM DTC display and check for a DTC B2262.

Is DTC B2262 stored as history?

--

Go to Step 3

Go to Step 6

3

Using a scan tool, select LDCM data display and monitor the mirror vertical position sensor data while operating the LH mirror.

Does the scan tool display mirror vertical position sensor voltage within the specified range?

0.1-4.78 V

Go to Step 12

Go to Step 4

4

  1. Turn OFF the ignition switch.
  2. Disconnect the LH mirror connector C2.
  3. Turn ON the ignition switch.
  4. At the LH mirror connector C2 (harness side), measure the voltage between terminal A and ground while operating the LH mirror.

Is the voltage within the specified range?

4.0-5.5 V

Go to Step 5

Go to Step 7

5

At the LH mirror connector C2 (harness side), measure the voltage between terminals A and C while operating the LH mirror.

Is the voltage within the specified range?

4.0-5.5 V

Go to Step 10

Go to Step 8

6

  1. Turn OFF the ignition switch.
  2. Disconnect the LH mirror connector C2.
  3. Turn ON the ignition switch.
  4. At the LH mirror connector C2 (harness side), measure the voltage between terminal B and ground while operating the LH mirror.

Is the voltage within the specified range?

3.5-5.5 V

Go to Step 10

Go to Step 9

7

Check for an open or short (to ground or voltage) in CKT 788.

Was a problem found and repaired?

--

Go to Step 14

Go to Step 11

8

Check for an open or short to voltage in CKT 1251.

Was a problem found and repaired?

--

Go to Step 14

Go to Step 11

9

Check for an open or short (to ground or voltage) in CKT 784.

Was a problem found and repaired?

--

Go to Step 14

Go to Step 11

10

Replace the LH mirror assembly. Refer to Outside Rearview Mirror Replacement .

Is the replacement complete?

--

Go to Step 14

--

11

  1. Replace the LDCM. Refer to Door Control Module Replacement .
  2. Program the replacement DCM (hardtop only). Refer to Door Control Module Programming/RPO Configuration .

Is the replacement complete?

--

Go to Step 14

--

12

Check the mirror vertical position sensor circuit for an intermittent malfunction. Refer to Diagnostic Aids.

Was a problem found and repaired?

--

Go to Step 14

Go to Step 13

13

  1. Turn OFF the ignition switch.
  2. Reconnect or install any connectors or components that were disconnected or removed.
  3. Turn ON the ignition switch.
  4. Clear any DTCs.
  5. Wait 2 seconds.

Does DTC B2264 set as history?

--

Go to Step 11

System OK

14

  1. Turn OFF the ignition switch.
  2. Reconnect or install any connectors or components that were disconnected or removed.
  3. Turn ON the ignition switch.
  4. Clear any DTCs.

Is the repair complete?

--

Go to Diagnostic System Check - Power Door Systems

--