GM Service Manual Online
For 1990-2009 cars only

Object Number: 405809  Size: MF
Power Seat Systems Components
Memory Seats Schematics
Handling Electrostatic Discharge Sensitive Parts Notice

Circuit Description

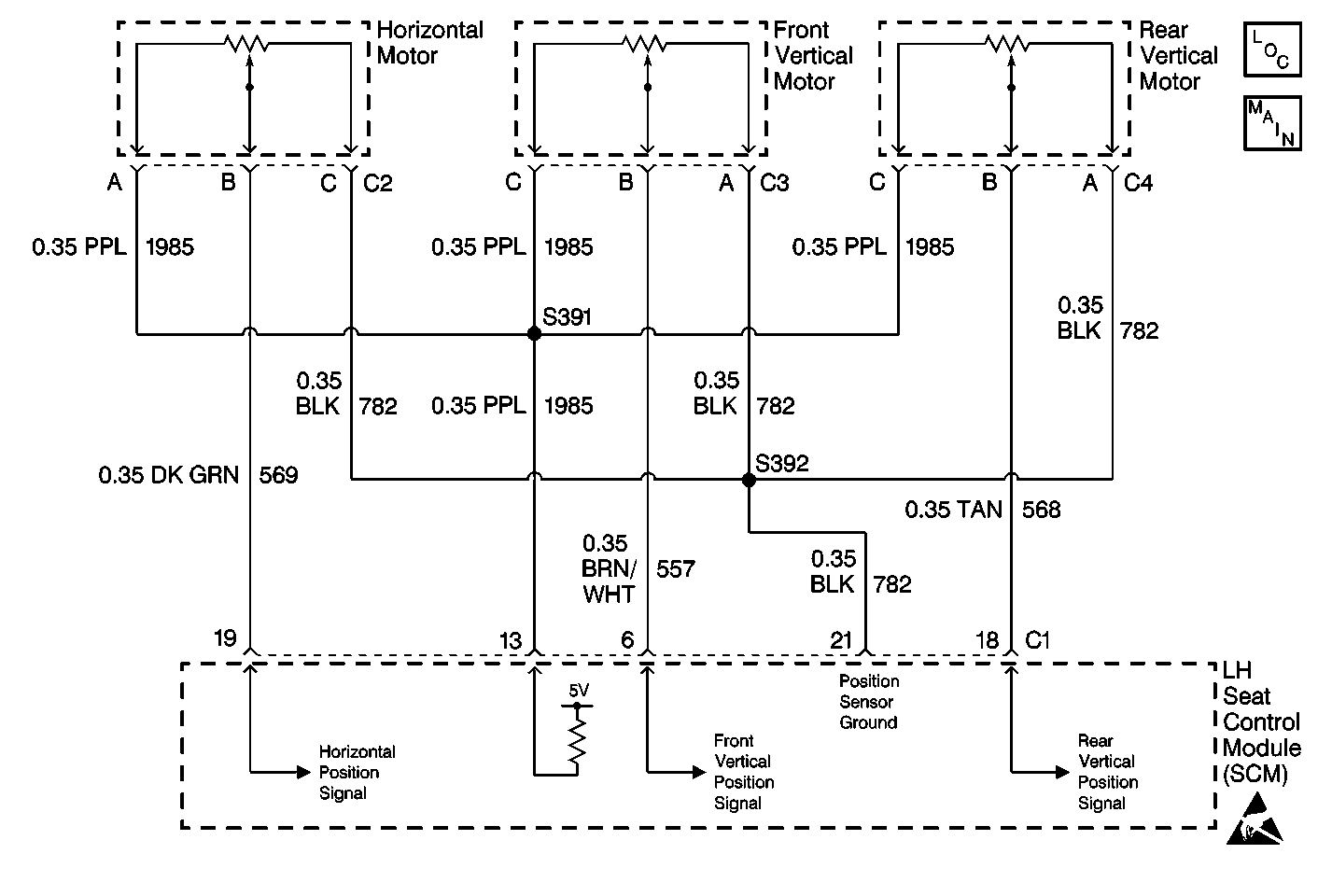
The LH Seat Control Module (SCM) receives both vertical and horizontal position signals from each of the LH seat motors. These signals are used by the SCM for memory recall functions to determine the vertical and horizontal position of the LH seat. The SCM commands the seat memory settings based upon the voltage levels the SCM receives back from the vertical and horizontal position sensors. The SCM provides a 5 volt supply, a signal, and a ground to each of the position sensors. The position sensors are variable resistors which the SCM monitors when a reference voltage is applied across it. When a memory setting is recalled, the SCM will command the LH seat motor in the appropriate direction until both the vertical and horizontal position sensors are within the voltage range stored in memory. The SCM also monitors the LH seat vertical and horizontal position sensor 5 volt supply circuit and can determine if the voltage level received is out of range. If the voltage level is out of range, then a malfunction is present and a DTC will set.

Conditions for Setting the DTC

    • The SCM detects the LH seat vertical and horizontal position sensor supply voltage range under 4.0 volts or over 5.2 volts.
    • Condition must be present for 2 seconds.

Action Taken When the DTC Sets

    • Stores a history DTC B0856 in the SCM memory.
    • This DTC can only be set as a history code even if the malfunction is current.
    • No driver warning message will be displayed for this DTC.
    • The operation/function of the seat motor is disabled until the fault is corrected.

Conditions for Clearing the DTC

    • The SCM detects the LH seat vertical and horizontal position sensor supply voltage range between 4.0-5.2 volts for longer than 2 seconds.
    • Use the IPC clearing DTCs feature.
    • Use a scan tool.

Diagnostic Aids

    • The following conditions may cause an intermittent malfunction:
       - There is an intermittent open or short (to ground or voltage) in CKT 569, CKT 1985, CKT 557, CKT 782, or CKT 568.
       - The LH seat vertical or horizontal sensor is shorted internally.
    • If the SCM is unable to determine the correct vertical or horizontal position, manual power seat functions will still operate, but the SCM will not be able correctly recall the position of the seat when the memory button is pressed.
    • Using a scan tool, select SCM Data display and monitor the seat position sensor data. Move the power seat vertically and horizontally while monitoring the position sensor data. This checks if the seat position sensor supply voltage is within range in different positions.
    • If the DTC does not reset after the code is cleared, then the problem may be intermittent. Perform the tests shown while moving related wiring and connectors. This can often cause the malfunction to occur. Refer to Intermittents and Poor Connections Diagnosis in Wiring Systems.

Test Description

The numbers below refer to the step numbers on the diagnostic table:

  1. This test checks the position sensor reference voltage using a scan tool. Normal seat position sensor reference voltage range is between 4.0-5.2 volts.

  2. This test checks if the SCM is sending the correct supply voltage to the seat position sensors. The supply voltage measured must be between 4.0-5.2 volts.

  3. This test checks for an open or short to voltage in CKT 782 or in the SCM internal ground circuit.

DTC B0856

Step

Action

Value(s)

Yes

No

1

Were you sent here from the Power Seat Diagnostic System Check?

--

Go to Step 2

Go to Power Seats System Check

2

Using a scan tool, select SCM data display and monitor position sensor reference data.

Does the scan tool display position sensor reference voltage within the specified range?

4.0-5.2 V

Go to Step 9

Go to Step 3

3

  1. Turn OFF the ignition switch.
  2. Disconnect a position sensor connector.
  3. Turn ON the ignition switch.
  4. Measure voltage of CKT 1985 while activating one of the seat adjuster motors.

Is the voltage within the specified range?

4.0-5.2 V

Go to Step 4

Go to Step 5

4

Measure voltage of CKT 1985 using CKT 782 as ground while activating one of the seat adjuster motors.

Is the voltage within the specified range?

4.0-5.2 V

Go to Step 7

Go to Step 6

5

Check for an open or short (to ground or voltage) in CKT 1985.

Was a problem found and repaired?

--

Go to Step 11

Go to Step 8

6

Check for an open or short to voltage in CKT 782.

Was a problem found and repaired?

--

Go to Step 11

Go to Step 8

7

Replace the seat adjuster motor assembly. Refer to Front Seat Adjuster Motor Replacement .

Is the replacement complete?

--

Go to Step 11

--

8

Replace the SCM. Refer to Memory Seat Control Module Replacement .

Is the replacement complete?

--

Go to Step 11

--

9

Check the seat adjuster motor position sensor supply circuit for an intermittent malfunction. Refer to Diagnostic Aids.

Was a problem found and repaired?

--

Go to Step 11

Go to Step 10

10

  1. Turn OFF the ignition switch.
  2. Reconnect or install any connectors or components that were disconnected or removed.
  3. Turn ON the ignition switch.
  4. Clear any DTCs.
  5. Wait 2 seconds.

Does DTC B0856 set as history?

--

Go to Step 8

System OK

11

  1. Turn OFF the ignition switch.
  2. Reconnect or install any connectors or components that were disconnected or removed.
  3. Turn ON the ignition switch.
  4. Clear any DTCs.

Is the repair complete?

--

Go to Power Seats System Check

--