GM Service Manual Online
For 1990-2009 cars only

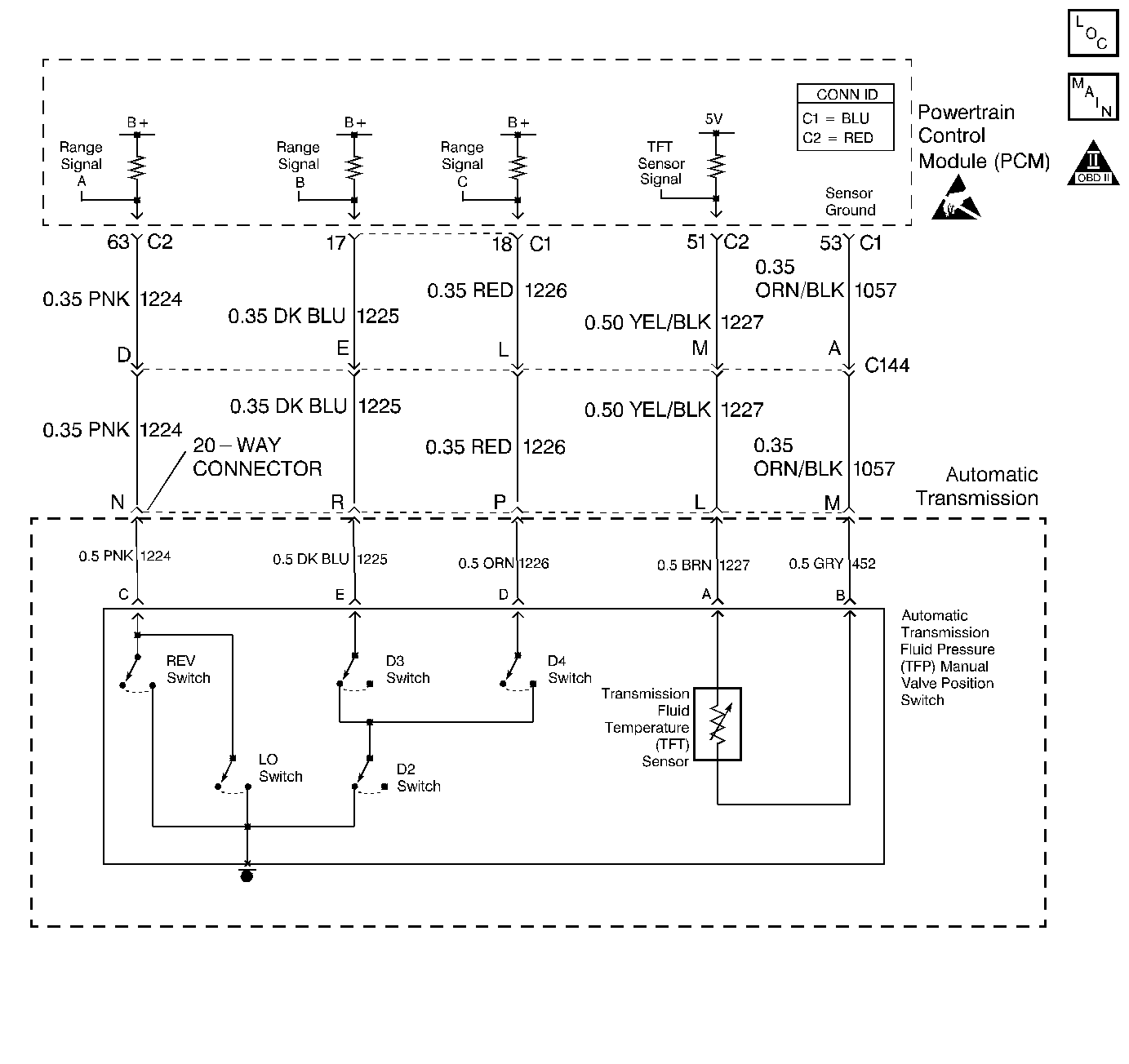
Object Number: 360637  Size: LF
Automatic Transmission Controls Schematics
OBD II Symbol Description Notice
Handling ESD Sensitive Parts Notice

Circuit Description

The automatic transmission fluid temperature (TFT) sensor is part of the automatic transmission fluid pressure (TFP) manual valve position switch. The TFT sensor is a resistor, or thermistor, which changes value based on temperature. The sensor has a negative-temperature coefficient. This means that as the temperature increases, the resistance decreases, and as the temperature decreases, the resistance increases. The powertrain control module (PCM) supplies a 5-volt reference signal to the sensor on circuit 1227 and measures the voltage drop in the circuit. When the transmission fluid is cold, the sensor resistance is high and the PCM detects high signal voltage. As the fluid temperature warms to a normal operating temperature, the resistance becomes less and the signal voltage decreases. The PCM uses this information to control shift quality and torque converter clutch apply.

When the PCM detects one of the following unusual conditions, then DTC P0711 sets.

    • An unrealistically large change in transmission temperature
    • A transmission temperature which remains constant for a period of time in which a measurable amount of change is expected

DTC P0711 is a type D DTC.

Conditions for Running the DTC

    • No VSS assembly DTCs P0502 or P0503.
    • No Transmission Component Slipping DTC P1870.
    • The system voltage is 8-18 volts.
    • The engine is running for 409 seconds.
    • The vehicle speed is greater than 8 km/h (5 mph) for 409 seconds cumulative during the current ignition cycle.
    • The TCC slip speed is greater than 120 RPM for 409 seconds cumulative during the current ignition cycle.
    • The TFT at startup is between -40 and +21°C (-40 and +70°F).
    • The TFT is between -38 and +151°C (-36 and +304°F).
    • The engine coolant temperature (ECT) is greater than 70°C (158°F) and has changed by 50°C (90°F) since startup.

Conditions for Setting the DTC

DTC P0711 sets if either of the following conditions occurs:

    • The TFT does not change more than 1.50°C (2.7°F) for 409 seconds since startup.
    • The TFT changes more than 20°C (36°F) in 200 milliseconds, 14 times within 7 seconds.

Action Taken When the DTC Sets

    • The PCM does not illuminate the malfunction indicator lamp (MIL).

       Important: The actions listed below are in order of highest to lowest priority.

    • The PCM determines a default TFT using the following matrix:
        1. If any ECT DTCs P0117 or P0118 are set, then the default TFT is equal to 135°C (275°F).
        2. If the ECT is 125°C (257°F) or more, then the default TFT is equal to 135°C (275°F).
        3. If the engine run time is less than 300 seconds and:
   • No intake air temperature (IAT) DTCs P0112 or P0113 are set and IAT is available, then the default TFT is equal to IAT.
   • Any IAT DTCs P0112 or P0113 are set or IAT is NOT available, then the default TFT is equal to 90°C (194°F).
        4. If the engine run time is greater than 300 seconds and No IAT DTCs P0112 or P0113 are set and IAT is available and ECT is between 40 and 125°C (104 and 257°F) and:
   • IAT at startup is less than 15°C (59°F), then the default TFT is equal to the ECT plus 5°C (8°F).
   • IAT at startup is greater than 35°C (95°F), then the default TFT is equal to the ECT plus 10°C (16°F).
   • IAT at startup is between 15 and 35°C (59 and 95°F), then the default TFT is equal to the ECT.
        5. If the engine run time is greater than 300 seconds and any IAT DTCs P0112 or P0113 are set or IAT is NOT available, then the default TFT is equal to the ECT.
        6. If the engine run time is greater than 300 seconds and ECT is less than 40°C (104°F) or more, then the default TFT is equal to 60°C (140°F).
    • The PCM freezes shift adapts from being updated.
    • The PCM stores DTC P0711 in PCM history.

Conditions for Clearing the DTC

    • A scan tool clears the DTC from PCM history.
    • The PCM clears the DTC from PCM history if the vehicle completes 40 consecutive warm-up cycles without a non-emission-related diagnostic fault occurring.
    • The PCM cancels the DTC default actions when the fault no longer exists and the ignition switch is OFF long enough in order to power down the PCM.

Diagnostic Aids

Inspect the wiring at the PCM, the transmission connector and all other circuit connecting points for the following conditions:

    • A backed out terminal
    • A damaged terminal
    • Reduced terminal tension
    • A chafed wire
    • A broken wire inside the insulation
    • Moisture intrusion
    • Corrosion

Test Description

The numbers below refer to the step numbers on the diagnostic table.

  1. This step tests for an intermittent short or open condition in the engine wiring harness. The test light is used as a resistor in the circuit.

  2. This step determines if the PCM or the TFT sensor is causing a steady, unchanging TFT reading.

DTC P0711 Fluid Temperature Sensor Circuit -- Range/Performance

Step

Action

Value(s)

Yes

No

1

Was the Powertrain On-Board Diagnostic (OBD) System Check performed?

--

Go to Step 2

Go to Powertrain On Board Diagnostic (OBD) System Check

2

Perform the Transmission Fluid Checking Procedure.

Refer to 4L60-E Transmission Fluid Check .

Was the Transmission Fluid Checking Procedure performed?

--

Go to Step 3

Go to Transmission Fluid Check

3

  1. Install the Scan Tool .
  2. With the engine OFF, turn the ignition switch to the ON position.
  3. Important: Before clearing the DTC, use the scan tool in order to record the Failure Records. Using the Clear Info function erases the Failure Records from the PCM.

  4. Record the DTC Failure Records.
  5. Clear the DTC.
  6. Select TFT on the scan tool.
  7. Drive the vehicle and observe the scan tool for either of the following conditions:
  8. • The TFT does not change more than 1.50°C (2.7°F) in 409 seconds since startup
    • The TFT changes more than 20°C (36°F) in 200 milliseconds 14 times within 7 seconds (unrealistic change).

Did either of the conditions occur?

--

Go to Step 4

Go to Diagnostic Aids

4

Did the scan tool display a condition in which the TFT does not change by more than the specified value in 409 seconds since startup?

1.50°C (2.7°F)

Go to Step 6

Go to Step 5

5

  1. Turn the ignition OFF.
  2. Disconnect the transmission 20-way connector.
  3. Install the J 39775 jumper harness on the engine side of the 20-way connector.
  4. Using the J 35616-A connector test adapter kit, connect a test light from terminal L to terminal M.
  5. Turn the ignition switch to the RUN position.
  6. While observing the scan tool display, move or massage the engine wiring harness from PCM connectors C1 and C2 to the 20-way connector.

Does the TFT change by more than the specified value?

20°C (36°F)

Go to Step 7

Go to Step 8

6

  1. Turn the ignition OFF.
  2. Disconnect the transmission 20-way connector.
  3. Turn the ignition switch to the ON position.

Does the scan tool display the same condition as in Step 4?

--

Go to Step 11

Go to Step 10

7

  1. Inspect circuits 1227 (YEL/BLK) and 1057 (ORN/BLK) of the engine wiring harness for an intermittent open or short condition.
  2. Refer to General Electrical Diagnosis in Wiring Systems.

  3. Repair the circuits if necessary.
  4. Refer to Wiring Repairs in Wiring Systems.

Was an intermittent open or shorted condition found?

--

Go to Step 12

Go to Step 11

8

Inspect circuits 1227 (BRN) and 452 (GRY) of the automatic transmission (A/T) wiring harness assembly for an intermittent open or short condition.

Refer to General Electrical Diagnosis in Wiring Systems.

Was an intermittent open or shorted condition found?

--

Go to Step 9

Go to Step 10

9

Replace the A/T wiring harness assembly.

Refer to Torque Converter Clutch Pulse Width Modulation Solenoid, Torque Converter Clutch Solenoid, and Wiring Harness Replacement.

Is the replacement complete?

--

Go to Step 12

--

10

Replace the TFT sensor (this sensor is part of the TFP manual valve position switch).

Refer to Valve Body and Pressure Switch Replacement .

Is the replacement complete?

--

Go to Step 12

--

11

Replace the PCM.

Refer to Powertrain Control Module/Throttle Actuator Control Module Replacement in Engine Controls.

Is the replacement complete?

--

Go to Step 12

--

12

Perform the following procedure in order to verify the repair:

  1. Select DTC.
  2. Select Clear Info.
  3. Drive the vehicle and ensure that the following conditions are met:
  4. • The TFT changes by more than 2.25°C (4°F) for 11 seconds since startup
    • The TFT does not change by more than 20°C (36°F) within 200 milliseconds for a period of at least 11 seconds
  5. Select Specific DTC.
  6. Enter DTC P0711.

Has the test run and passed?

--

System OK

Go to Step 1