GM Service Manual Online
For 1990-2009 cars only

Object Number: 472948  Size: MF
Body Control Module Components
Body Control System Schematics
Handling Electrostatic Discharge Sensitive Parts Notice

Circuit Description

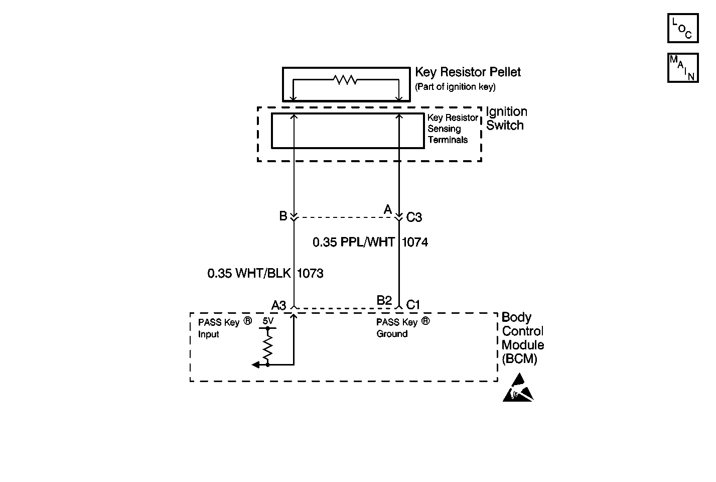
Inserting the PASS-Key® (with resistor pellet) in the ignition lock cylinder completes the PASS-Key® circuit. Contacts in the ignition lock cylinder mate with the pellet contacts. The BCM compares the resistance value of the key pellet to the valid resistance programmed into the BCM. If the proper resistance value is read, the BCM allows the following functions to occur:

    • The theft deterrent relay to energize.
    • The steering column to unlock.
    • The BCM sends a message through the serial data line to the PCM to allow fuel enable processing to occur.

When a BCM is replaced, the BCM must be programmed to accept the resistance value of the existing vehicle keys in order to allow PASS-Key® operation. When the BCM is replaced, the service replacement BCM is programmed to accept the first PASS-Key® resistance value detected. If the BCM is unable to detect a valid PASS-Key® resistance value, the BCM will never end the programming sequence and a DTC B2735 will set.

Conditions for Setting the DTC

The BCM is unable to detect a valid PASS-Key® code during BCM programming due to other malfunctions present (an open or a short in the PASS-Key® circuit).

Action Taken When the DTC Sets

    • Stores a DTC B2735 in the BCM memory.
    • Sends a message to the IPC to display the SECURITY indicator.
    • The BCM will disable the theft deterrent relay.
    • The PCM will not allow fuel enable processing to occur.
    • Disables sampling of the PASS-Key® resistance for a time-out period of 3 minutes.
    • Does not disarm an armed UTD system.
    • The steering column remains in the locked position.

Conditions for Clearing the DTC

    • The BCM detects a valid PASS-Key® resistance value when a service replacement BCM is initially programmed for the PASS-Key® system.
    • A history DTC will clear after 50 consecutive ignition cycles if the condition for the malfunction is no longer present.
    • Use the IPC clearing DTCs feature.
    • Use a scan tool.

Diagnostic Aids

    • If there is an open or a short on CKT 1073 or CKT 1074, the BCM will be unable to accept a valid PASS-Key® code when the program mode is activated. The vehicle will also exhibit a no crank condition.
    • Diagnose a DTC B2722 or B 2723 before attempting to diagnose a DTC B2735, as this will affect the BCMs ability to properly read a PASS-Key® resistance value.
    • Clean the key resistor contacts of any foreign material. The foreign material could interfere with the key detection circuit, causing the BCM to be unable to program the PASS-Key® system and to set a DTC B2735.
    • Check for poor connections at the BCM and at the ignition lock cylinder. A poor connection could cause an open, an incorrect PASS-Key® resistance, or an intermittent malfunction.
    • If the DTC is a history DTC, the problem may be intermittent. Perform the tests while moving the related wiring, the connectors, and the key. This can often cause the malfunction to appear. Refer to Intermittents and Poor Connections Diagnosis .

Test Description

The numbers below refer to the step numbers on the diagnostic table:

  1. This step checks if the BCM was programmed to the PASS-Key® system.

  2. This steps checks if DTCs B2722 or B2723 are stored in the BCM memory. These DTC must be diagnosed first.

  3. This step checks if DTC B2735 will set as current.

DTC B2735 -- PASS-Key® Programming Mode Active

Step

Action

Value(s)

Yes

No

1

Were you sent here from the BCM Diagnostic System Check?

--

Go to Step 2

Go to Diagnostic System Check - Body Control System

2

Program the PASS-Key® system. Refer to PASS-Key Programming in Theft Deterrent.

Is the programming procedure complete?

--

Go to Step 4

--

3

Using a scan tool, check for PASS-Key® DTCs B2722 or B2723.

Are either of these DTCs stored in the BCM memory?

--

Go to Applicable DTC Table

Go to Step 5

4

Using a scan tool, select clear DTCs.

Does DTC B2735 set as current?

--

Go to Step 3

System OK

5

  1. Replace the BCM. Refer to Body Control Module Replacement .
  2. Program the BCM. Refer to Body Control Module (BCM) Programming/RPO Configuration .

Is the replacement complete?

--

Go to Step 6

--

6

  1. Turn OFF the ignition switch.
  2. Reconnect or install any connectors or components that were disconnected or removed.
  3. Turn ON the ignition switch.
  4. Clear any DTCs. Refer to Clearing DTCs .

Is the repair complete?

--

Go to Diagnostic System Check - Body Control System

--