GM Service Manual Online
For 1990-2009 cars only
Makes
🢒
Chevrolet
🢒
2000
🢒
Corvette
🢒
Transmission/Transaxle
🢒
Automatic Transmission - 4L60-E
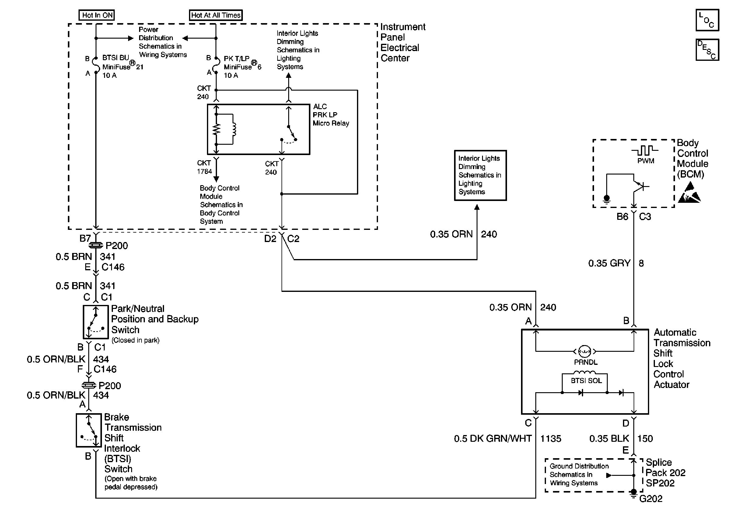
🢒 Shift Lock Control Schematics
Automatic Transmission Components
Automatic Transmission Shift Lock Control Circuit Description
Power Distribution Schematics
Ground Distribution Schematics
Interior Lights Dimming Schematics
Interior Lights Dimming Schematics
Body Control System Schematics