GM Service Manual Online
For 1990-2009 cars only
Makes
🢒
Chevrolet
🢒
2000
🢒
Corvette
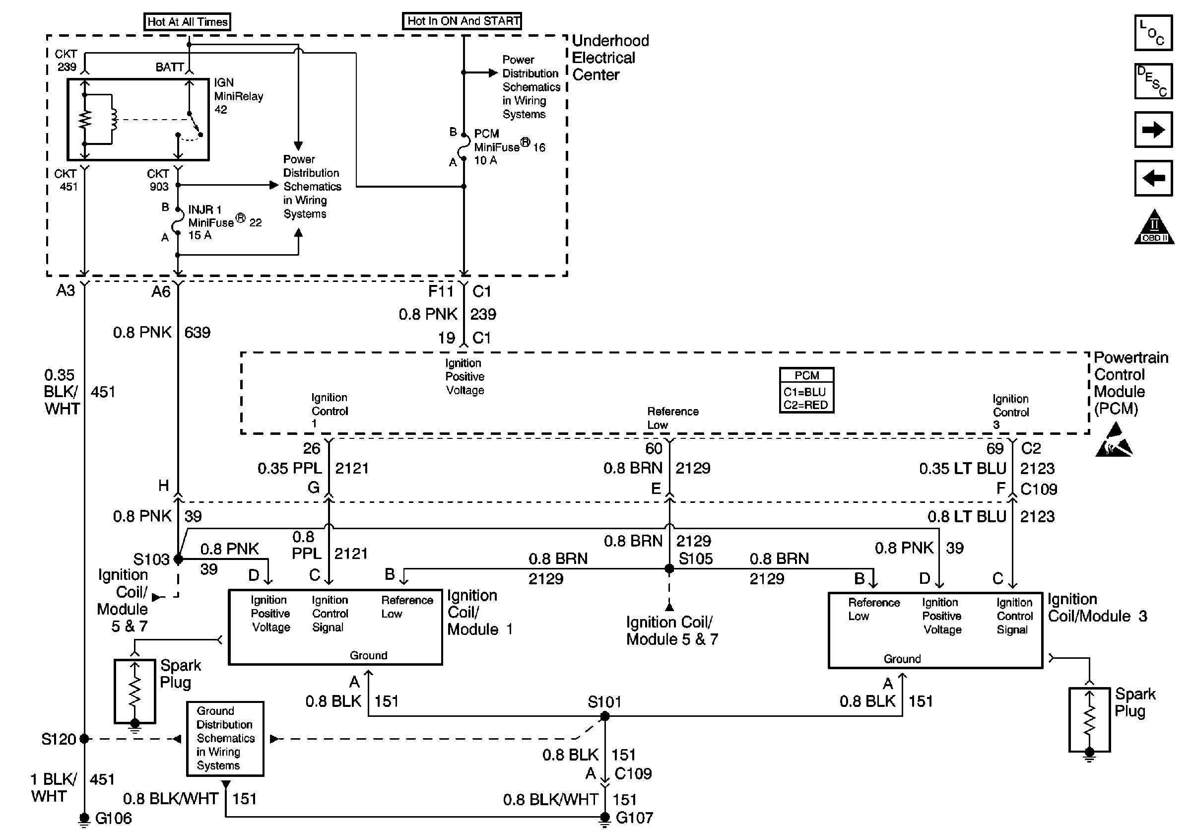
🢒 Ignition Coil/Module Cylinders 1 and 3
Ignition Coil/Module Cylinders 1 and 3
Ignition Coil/Module Cylinders 1 and 3
Engine Controls Components
Ignition Coil/Module Cylinders 5 and 7
Power, Ground, DLC and MIL
OBD II Symbol Description Notice
Handling ESD Sensitive Parts Notice
Power Distribution Schematics
Power Distribution Schematics
Ground Distribution Schematics