GM Service Manual Online
For 1990-2009 cars only

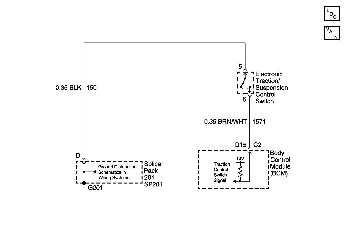
Object Number: 538653  Size: MF
Power and Grounding Components
Body Control System Schematics
Ground Distribution Schematics

Circuit Description

The Traction Control System (TCS) switch circuit provides a ground input to the BCM when the switch is pressed. This input allows the BCM to detect a TCS ON or OFF request. If the BCM detects a ground on the traction control switch signal circuit with the TCS OFF, the BCM will send a message on the serial data line to the EBTCM to turn ON the TCS. If the BCM detects a ground after the TCS is ON, the BCM will send a second message to the EBTCM to turn OFF the TCS. The BCM monitors the TCS switch circuit and determines how long a ground has been applied. If the ground is applied for longer than expected, a malfunction is present and a DTC will set.

Conditions for Setting the DTC

The BCM detects a ground on the traction control switch signal circuit for longer than 60 seconds.

Action Taken When the DTC Sets

    • Stores a DTC B2597 in the BCM memory.
    • The PCM may disable fuel if vehicle speed is detected.
    • No driver warning message will be displayed for this DTC.

Conditions for Clearing the DTC

    • The BCM no longer detects a ground on the traction control switch signal circuit for longer than 60 seconds.
    • A history DTC will clear after 50 consecutive ignition cycles if the condition for the malfunction is no longer present.
    • Use the IPC clearing DTCs feature.
    • Use a scan tool.

Diagnostic Aids

    • The following conditions may cause an intermittent malfunction:
       - There is an intermittent short to ground in the traction control switch signal circuit.
       - The TCS switch is shorted to ground internally or is sticking.
       - The TCS switch is pressed for longer than 60 seconds.
    • If the traction control switch signal circuit is shorted to ground, the TCS could remain ON or OFF at all times depending on whether the TCS was ON or OFF when the malfunction occurred. If the short occurred when the TCS was ON, the TCS will remain OFF at all times. If the short occurred when the TCS was OFF, the TCS will remain ON. The BCM will remember if the TCS was ON or OFF even if the ignition is switched OFF.
    • If the DTC is a history DTC, the problem may be intermittent. Perform the tests shown while moving related wiring and connectors. This can often cause the malfunction to occur. Refer to Intermittents and Poor Connections .

Test Description

The number(s) below refer to the step number(s) on the diagnostic table.

  1. Tests for the normal state of the TCS switch using a scan tool. The scan tool will display the normal state as INACTIVE, and ACTIVE when the switch is activated.

  2. Tests if the BCM is able to detect a change in TCS switch state. The scan tool will display the normal state as INACTIVE, and ACTIVE when the switch is activated.

  3. Tests for a stuck or shorted TCS switch. If the TCS switch is stuck or shorted, the state will change from ACTIVE to INACTIVE when the TCS switch is disconnected.

  4. Tests for a short to ground in the TCS switch signal circuit.

  5. When the BCM is replaced, use a scan tool to perform the BCM RPO Reprogram procedure. Refer to Body Control Module (BCM) Programming/RPO Configuration .

Step

Action

Value(s)

Yes

No

1

Did you perform the BCM Diagnostic System Check?

--

Go to Step 2

Go to Diagnostic System Check - Body Control System

2

  1. Install a scan tool.
  2. Turn ON the ignition, with the engine OFF.
  3. With a scan tool, observe the TCS Switch parameter in the BCM data list.

Does the scan tool display INACTIVE?

--

Go to Step 3

Go to Step 4

3

  1. Activate the TCS switch.
  2. With the scan tool, observe the TCS Switch parameter.

Does the TCS Switch parameter change state?

--

Go to Diagnostic Aids

Go to Step 4

4

  1. Turn OFF the ignition.
  2. Disconnect the TCS switch.
  3. Turn ON the ignition, with the engine OFF.
  4. With a scan tool, observe the TCS Switch parameter.

Does the scan tool display INACTIVE?

--

Go to Step 7

Go to Step 5

5

Test the signal circuit of the TCS switch for a short to ground. Refer to Circuit Testing and Wiring Repairs in Wiring Systems.

Did you find and correct the condition?

--

Go to Step 10

Go to Step 6

6

Inspect for poor connections at the harness connector of the BCM. Refer to Testing for Intermittent Conditions and Poor Connections and Connector Repairs in Wiring Systems.

Did you find and correct the condition?

--

Go to Step 10

Go to Step 8

7

Inspect for poor connections at the harness connector of the TCS switch. Refer to Testing for Intermittent Conditions and Poor Connections and Connector Repairs in Wiring Systems.

Did you find and correct the condition?

--

Go to Step 10

Go to Step 9

8

Important: Perform the BCM RPO Reprogram procedure. Refer to Body Control Module (BCM) Programming/RPO Configuration .

Replace the BCM. Refer to Body Control Module Replacement .

Did you complete the replacement?

--

Go to Step 10

--

9

Replace the TCS switch. Refer to Electronic Traction Control Switch Replacement .

Did you complete the replacement?

--

Go to Step 10

--

10

  1. Use the scan tool in order to clear the DTCs.
  2. Operate the vehicle within the Conditions for Running the DTC as specified in the supporting text.

Does the DTC reset?

--

Go to Step 2

System OK