GM Service Manual Online
For 1990-2009 cars only

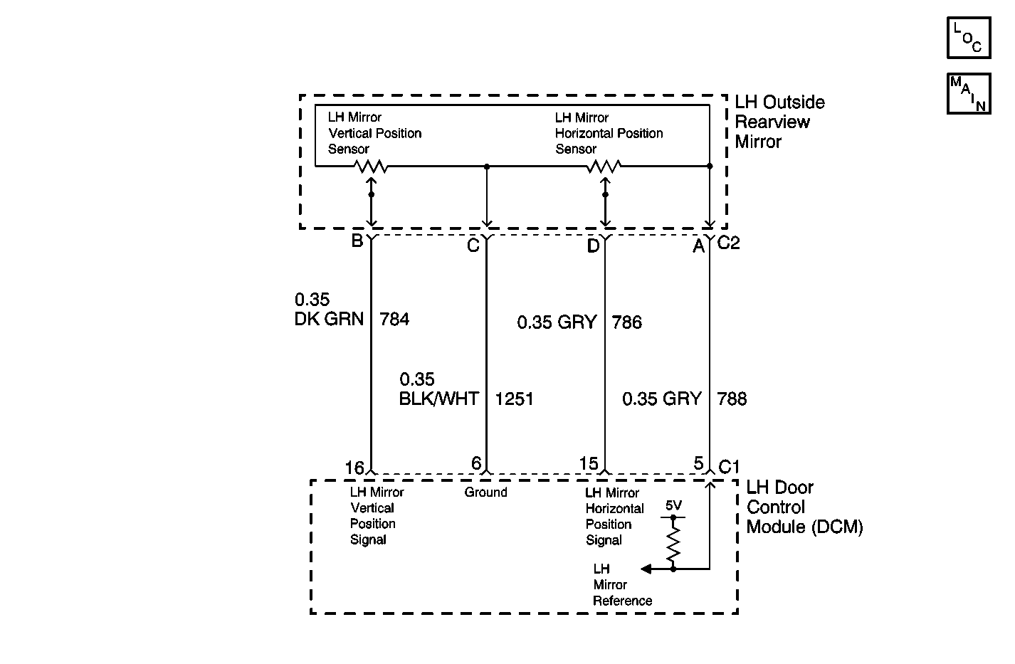
Object Number: 551040  Size: MF
Power and Grounding Components
Door Control Module Schematics

Circuit Description

The LH Door Control Module (LDCM) receives both vertical and horizontal position signals from the LH mirror. These signals are used by the LDCM for memory recall functions to determine the vertical and horizontal position of the LH mirror. The LDCM commands the mirror memory settings based upon the voltage level the LDCM receives back from the vertical and horizontal position sensors. The LDCM provides a 5 volt supply, a signal, and a ground to both of the position sensors. The position sensors are variable resistors which the LDCM monitors the voltage level across. When a memory setting is recalled, the LDCM will command the LH mirror motor in the appropriate direction until both the vertical and horizontal position sensors are within the voltage range stored in memory. The LDCM also monitors the LH mirror vertical and horizontal position sensor 5 volt supply circuit and can determine if the voltage level received is out of range. If the voltage level is out of range, then a malfunction is present and a DTC will set.

Conditions for Setting the DTC

    • The LDCM detects the LH mirror vertical and horizontal position sensor supply voltage range under 4.0 volts or over 5.2 volts.
    • Condition must be present for 2 seconds.

Action Taken When the DTC Sets

    • Stores a history DTC B2286 in the LDCM memory.
    • This DTC can only be set as a history code even if the malfunction is current.
    • No driver warning message will be displayed for this DTC.

Conditions for Clearing the DTC

    • The LDCM detects the LH mirror vertical and horizontal position sensor supply voltage range between 4.0-5.2 volts for longer than 2 seconds.
    • Use the IPC clearing DTCs feature.
    • Use a scan tool.

Diagnostic Aids

    • The following conditions may cause an intermittent malfunction:
       - There is an intermittent open or short to ground or voltage in the LH mirror position sensor signal, reference, or ground circuit.
       - The LH mirror vertical or horizontal sensor is shorted internally.
    • If the LDCM is unable to determine the correct vertical or horizontal position, manual power mirror functions will still operate, but the LDCM will not be able correctly recall the position of the mirror when the memory button is pressed.
    • Using a scan tool, select LDCM Data display and monitor the mirror position sensor data. Move the power mirror vertically and horizontally while monitoring the position sensor data. This checks if the mirror position sensor supply voltage is within range in different positions.
    • If the DTC does not reset after the code is cleared, then the problem may be intermittent. Perform the tests shown while moving related wiring and connectors. This can often cause the malfunction to occur. Refer to Intermittents and Poor Connections .

Test Description

The number(s) below refer to the step number(s) on the diagnostic table.

  1. This tests the LH mirror position sensor reference voltage using a scan tool. Normal reference voltage range is between 4.0-5.2 volts.

  2. This tests for a change in the LH mirror position sensor reference voltage using a scan tool with the LH mirror disconnected. Normal reference voltage range is between 4.0-5.2 volts.

  3. Tests for a short to voltage or ground in the LH mirror position sensor reference circuit.

  4. Tests for a short to voltage or ground in the LH mirror horizontal and vertical position signal circuits.

Step

Action

Value(s)

Yes

No

1

Did you perform the Power Door Systems Diagnostic System Check?

--

Go to Step 2

Go to Diagnostic System Check - Power Door Systems

2

  1. Install a scan tool.
  2. Turn ON the ignition, with the engine OFF.
  3. With a scan tool, observe the Position Sensor Reference parameter in the LH DCM data list.

Does the scan tool indicate that the Position Sensor Reference parameter is within the specified range?

4.0-5.2 V

Go to Diagnostic Aids

Go to Step 3

3

  1. Turn OFF the ignition.
  2. Disconnect the LH mirror.
  3. Turn ON the ignition, with the engine OFF.
  4. With a scan tool, observe the Position Sensor Reference parameter in the LH DCM data list.

Does the scan tool indicate that the Position Sensor Reference parameter is within the specified range?

4.0-5.2 V

Go to Step 5

Go to Step 4

4

Test the LH mirror position sensor reference circuit for a short to voltage or ground. Refer to Circuit Testing and Wiring Repairs in Wiring Systems.

Did you find and correct the condition?

--

Go to Step 10

Go to Step 6

5

Test the LH mirror horizontal and vertical position signal circuit for a short to voltage or ground. Refer to Circuit Testing and Wiring Repairs in Wiring Systems.

Did you find and correct the condition?

--

Go to Step 10

Go to Step 7

6

Inspect for poor connections at the harness connector of the LH DCM. Refer to Testing for Intermittent Conditions and Poor Connections and Connector Repairs in Wiring Systems.

Did you find and correct the condition?

--

Go to Step 10

Go to Step 8

7

Inspect for poor connections at the harness connector of the LH mirror. Refer to Testing for Intermittent Conditions and Poor Connections and Connector Repairs in Wiring Systems.

Did you find and correct the condition?

--

Go to Step 10

Go to Step 9

8

Replace the LH DCM. Refer to Door Control Module Replacement .

Did you complete the replacement?

--

Go to Step 10

--

9

Replace the LH mirror. Refer to Outside Rearview Mirror Replacement .

Did you complete the replacement?

--

Go to Step 10

--

10

  1. Use the scan tool in order to clear the DTCs.
  2. Operate the vehicle within the Conditions for Running the DTC as specified in the supporting text.

Does the DTC reset?

--

Go to Step 2

System OK