GM Service Manual Online
For 1990-2009 cars only

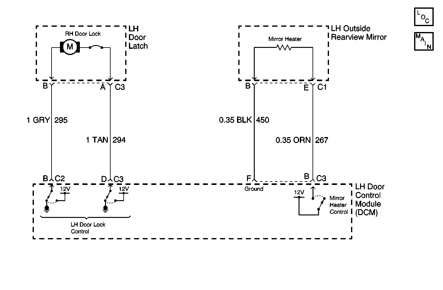
Object Number: 551042  Size: MF
Power and Grounding Components
Door Control Module Schematics

Circuit Description

The LH Door Control Module (LDCM) provides the LH door lock and LH mirror heater control output functions. When the LDCM detects an active door LOCK or UNLOCK command from either the LH window switch, or from a LOCK or UNLOCK message sent on the serial data line by the RH Door Control Module (RDCM), the LDCM will LOCK or UNLOCK the LH door. The LDCM accomplishes this by alternating a ground or voltage to LH door lock control circuit depending on which command (LOCK or UNLOCK) was requested. The LDCM also controls the LH heated mirror functions by supplying a ground and voltage to the LH mirror heater. When the LDCM receives a message on the serial data line indicating the rear defogger was turned ON, the LDCM will activates the LH mirror heater by applying voltage to mirror heater control circuit. The LDCM monitors the voltage level and the amount of current draw on the LH door lock control circuit and the LH heated mirror control circuit. If the voltage level and/or current draw in either circuits are not within the acceptable range, a malfunction is present and a DTC will set.

Conditions for Setting the DTC

    • The LDCM detects a short to ground or voltage condition in the LH door lock control circuit when the LH door lock is activated
    • The LDCM detects a short to ground or voltage condition in the LH mirror heater control circuit when the LH mirror heater is activated (rear window defogger is ON).
    • Condition must be present for 150 ms.
    • The LDCM detects a voltage drop of 5 volts or more at battery 2 when the LDCM activates the LH door lock or the LH mirror heater.

Action Taken When the DTC Sets

    • Stores a history DTC B2276 in the LDCM memory.
    • This DTC can only be set as a history code even if the malfunction is current.
    • No driver warning message will be displayed for this DTC.
    • Disables all LH door lock or LH mirror heater functions depending on which circuit the LDCM detected the malfunction.

Conditions for Clearing the DTC

    • The rear window defogger must be turned ON.
    • The LDCM no longer detects a short to ground or voltage condition in the LH door lock control circuit.
    • The LDCM no longer detects a short to ground or voltage condition in the LH mirror heater control circuit.
    • The LDCM no longer detects a voltage drop of 5 volts or more at battery 2 when the LDCM applies the LH door lock or LH heated mirror.
    • Use the IPC clearing DTCs feature.
    • Use a scan tool.

Diagnostic Aids

    • The following conditions may cause an intermittent malfunction:
       - There is an intermittent short to ground or voltage in the LH door lock control circuit.
       - There is an intermittent short to ground or voltage in the LH mirror heater control circuit.
       - The LH door lock motor or LH mirror heater is shorted internally.
    • If the LDCM detects a malfunction in the LH door lock or LH mirror heater control system, the LDCM will disable the system that the malfunction was detected in.
    • Using a scan tool, select LDCM Data display and monitor battery 2  voltage while cycling the door locks. If battery 2 voltage drops more than 5 volts, then the LH door lock control circuit must be checked for a short to ground. Sense LDCM also monitors the voltage level in the LH mirror heater control circuit, this test can be applied to the heated mirror system.
    • If the DTC does not reset after the code is cleared, then the problem may be intermittent. Perform the tests shown while moving related wiring and connectors. This can often cause the malfunction to occur. Refer to Intermittents and Poor Connections .

Test Description

The number(s) below refer to the step number(s) on the diagnostic table.

  1. Tests for Battery 2 voltage drop using a scan tool while the doors locks are operated.

  2. Tests for Battery 2 voltage drop using a scan tool while the heated mirrors are activated.

  3. Tests the LH door lock control circuit output voltage.

  4. Tests the LH mirror heater control circuit output voltage.

  5. Tests for a short to ground or voltage in the LH door lock control circuits.

  6. Tests for a short to ground or voltage in the LH mirror heater control circuits.

Step

Action

Value(s)

Yes

No

1

Did you perform the Power Door Systems Diagnostic System Check?

--

Go to Step 2

Go to Diagnostic System Check - Power Door Systems

2

  1. Install a scan tool.
  2. Turn ON the ignition, with the engine OFF.
  3. With a scan tool, observe the Battery 2 parameter in the LH DCM data list.

Operate the door locks while monitoring the Battery 2 voltage.

Does the scan tool indicate that the Battery 2 voltage drops more than the specified value when the door locks are operated?

5 V

Go to Step 4

Go to Step 3

3

  1. With a scan tool, observe the Battery 2 parameter in the LH DCM data list.
  2. Turn ON the rear defogger to activate the heated mirrors while monitoring the Battery 2 voltage.

Does the scan tool indicate that the Battery 2 voltage drops more than the specified value when the heated mirrors are activated?

5 V

Go to Step 5

Go to Diagnostic Aids

4

  1. Turn OFF the ignition.
  2. Disconnect the LH door lock.
  3. Turn ON the ignition, with the engine OFF.
  4. Measure the voltage between both LH door lock control circuits.
  5. Operate the door locks.

Does the voltage measure within the specified value?

10.0-14.0 V

Go to Step 9

Go to Step 6

5

  1. Disconnect the LH mirror.
  2. Measure the voltage between both mirror heater control circuits.
  3. Turn ON the rear defogger to activate the heated mirrors.

Does the voltage measure within the specified value?

10.0-14.0 V

Go to Step 10

Go to Step 7

6

Test both the LH door lock control circuits for a short to ground or voltage. Refer to Circuit Testing and Wiring Repairs in Wiring Systems.

Did you find and correct the condition?

--

Go to Step 11

Go to Step 8

7

Test both the LH mirror heater control circuits for a short to ground or voltage. Refer to Circuit Testing and Wiring Repairs in Wiring Systems.

Did you find and correct the condition?

--

Go to Step 11

Go to Step 8

8

Replace the LH DCM. Refer to Door Control Module Replacement .

Did you complete the replacement?

--

Go to Step 11

--

9

Replace the LH door lock. Refer to Door Lock Replacement .

Did you complete the replacement?

--

Go to Step 11

--

10

Replace the LH mirror. Refer to Outside Rearview Mirror Replacement .

Did you complete the replacement?

--

Go to Step 11

--

11

  1. Use the scan tool in order to clear the DTCs.
  2. Operate the vehicle within the Conditions for Running the DTC as specified in the supporting text.

Does the DTC reset?

--

Go to Step 2

System OK