GM Service Manual Online
For 1990-2009 cars only

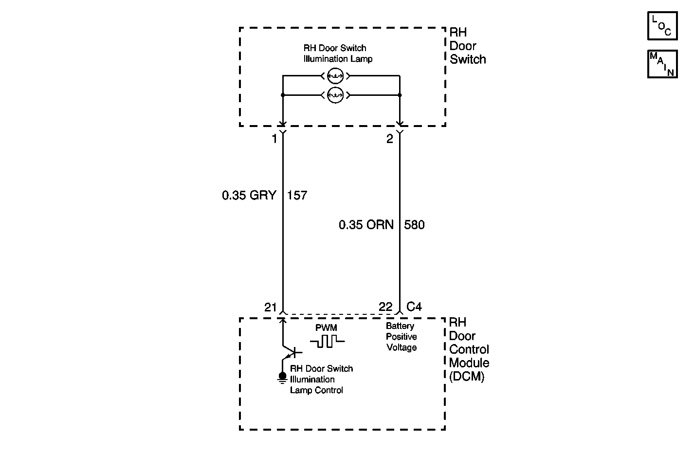
Object Number: 551294  Size: MF
Power and Grounding Components
Door Control Module Schematics

Circuit Description

The RH Door Control Module (RDCM) provides an illuminated LED output control for the RH door switch assembly. This output control allows the RDCM to illuminated switch assembly when the park lamps and/or headlamps are ON. The RDCM provides power and a Pulse-Width Modulation (PWM) ground output to the RH door switch. When the RDCM receives a message on the serial data line indicating that the park lamps or headlamps are ON, the RDCM will control the RH switch illumination by PWM-ing the ground. The RDCM monitors the amount of current draw on the illumination lamp control circuit. If the current draw is not within the acceptable range, a malfunction is present and a DTC will set.

Conditions for Setting the DTC

    • The RDCM detects a high current (short to ground) condition in the RH illumination lamp control circuit.
    • Condition must be present for 20 ms.

Action Taken When the DTC Sets

    • Stores a history DTC B2279 in the RDCM memory.
    • This DTC can only be set as a history code even if the malfunction is current.
    • No driver warning message will be displayed for this DTC.

Conditions for Clearing the DTC

    • The RDCM no longer detects a high current (short to ground) condition in the illumination lamp control circuit for longer than 20 ms.
    • Use the IPC clearing DTCs feature.
    • Use a scan tool.

Diagnostic Aids

    • The following conditions may cause an intermittent malfunction:
       - There is an intermittent short to voltage or ground in the RH door switch illumination lamp control circuit.
       - The RH door switch is shorted internally.
    • Using a scan tool, select RDCM Data and monitor the door switch pad illumination while rotating the interior light dimming switch. The switch illumination level varies based upon the dimming level information the RDCM receives on the serial data link. This checks if the RDCM is able to receive the correct dimming information from the serial data line.
    • If the DTC does not reset after the code is cleared, then the problem may be intermittent. Perform the tests shown while moving related wiring and connectors. This can often cause the malfunction to occur. Refer to Intermittents and Poor Connections .

Test Description

The number(s) below refer to the step number(s) on the diagnostic table.

  1. This tests if the RH door switch for an internal short to voltage or ground.

  2. This tests the RH door switch illumination circuits for a short to voltage or ground.

Step

Action

Value(s)

Yes

No

1

Did you perform the Power Door Systems Diagnostic System Check?

--

Go to Step 2

Go to Diagnostic System Check - Power Door Systems

2

  1. Turn OFF the ignition.
  2. Disconnect the RH door switch connector.
  3. Turn ON the ignition, with the engine OFF.
  4. Turn ON the headlamp switch.
  5. With a scan tool, clear all RH DCM DTC.

Does the DTC reset?

--

Go to Step 3

Go to Step 5

3

Test the RH door switch illumination control circuit for a short to ground or voltage. Refer to Circuit Testing and Wiring Repairs in Wiring Systems.

Did you find and correct the condition?

--

Go to Step 6

Go to Step 4

4

Replace the RH DCM. Refer to Door Control Module Replacement .

Did you complete the replacement?

--

Go to Step 6

--

5

Replace the RH door switch. Refer to Front Door Switch Replacement .

Did you complete the replacement?

--

Go to Step 6

--

6

  1. Use the scan tool in order to clear the DTCs.
  2. Operate the vehicle within the Conditions for Running the DTC as specified in the supporting text.

Does the DTC reset?

--

Go to Step 2

System OK