GM Service Manual Online
For 1990-2009 cars only

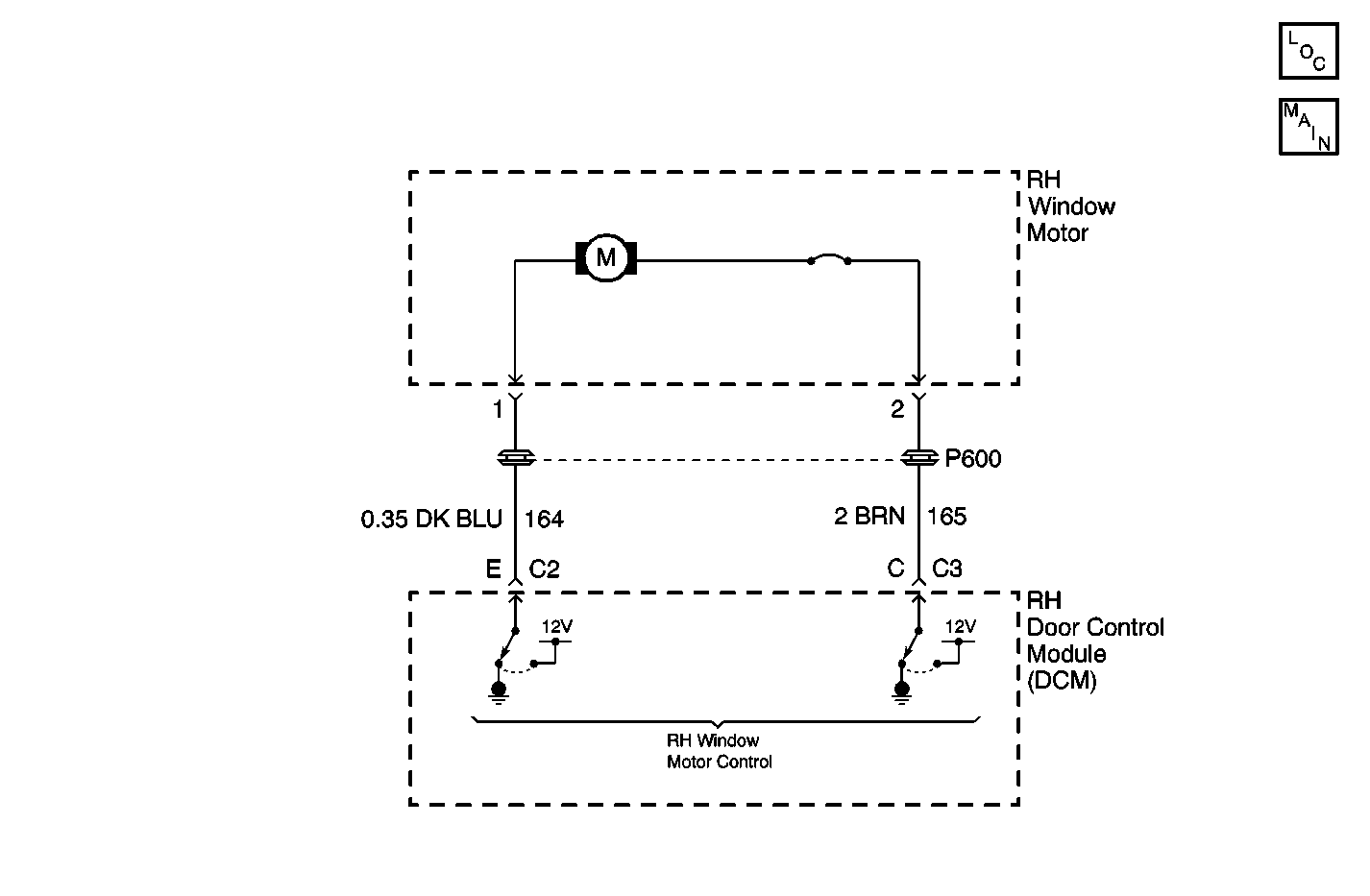
Object Number: 551110  Size: MF
Power and Grounding Components
Door Control Module Schematics

Circuit Description

The RH Door Control Module (RDCM) provides the RH window motor control output functions. This output control allows the RDCM to command the RH power window UP or DOWN. The RH door switch circuit provides an input to the RDCM when the window switch is pressed UP or DOWN. When the RDCM detects an active window command from either the RH window switch or a window command message on the serial data line from the LH Door Control Module (LDCM), the RDCM will command the RH window motor in the appropriate direction. The RDCM accomplishes this by applying a ground or voltage to RH window motor control circuit depending on the desired window direction. The RDCM monitors the amount of current draw on the RH window motor circuit. If the current draw is not within the acceptable range, a malfunction is present and a DTC will set.

Conditions for Setting the DTC

    • The RDCM detects a short to voltage condition in the RH window motor control circuit when the RH window motor is not activated.
    • Condition must be present for 120 ms.

Action Taken When the DTC Sets

    • Stores a history DTC B2275 in the RDCM memory.
    • This DTC can only be set as a history code even if the malfunction is current.
    • No driver warning message will be displayed for this DTC.

Conditions for Clearing the DTC

    • The RDCM no longer detects a short to voltage condition in the RH window motor control circuit for longer than 120 ms.
    • Use the IPC clearing DTCs feature.
    • Use a scan tool.

Diagnostic Aids

    • The following conditions may cause an intermittent malfunction:
       - There is an intermittent short to voltage in RH window motor control circuit.
       - The RH window motor is shorted internally.
    • If the RH window motor circuit is shorted to voltage, the RH window will operate only in certain directions depending on what circuit was affected.
    • Using a scan tool, select RDCM inputs and monitor the window motor load while operating the RH window motor UP and DOWN. If the scan tool displays the window motor load as 0, then check the RH window motor circuit for opens.
    • If the DTC does not reset after the code is cleared, then the problem may be intermittent. Perform the tests shown while moving related wiring and connectors. This can often cause the malfunction to occur. Refer to Intermittents and Poor Connections .

Test Description

The number(s) below refer to the step number(s) on the diagnostic table.

  1. Tests the RH window motor control circuit output voltage.

  2. Tests for a short to ground or voltage in the RH window motor control circuit.

  3. Tests the RH window for proper operation. If the RH window sticks or binds, this condition must be repaired first.

Step

Action

Value(s)

Yes

No

1

Did you perform the Power Door Systems Diagnostic System Check?

--

Go to Step 2

Go to Diagnostic System Check - Power Door Systems

2

  1. Turn OFF the ignition.
  2. Disconnect the RH window motor.
  3. Turn ON the ignition, with the engine OFF.
  4. Measure the voltage between both RH window motor control circuits.
  5. Operate the RH window UP and DOWN.

Does the voltage measure within the specified value?

10.0-14.0 V

Go to Step 4

Go to Step 3

3

Test both the RH window motor control circuits for a short to ground or voltage. Refer to Circuit Testing and Wiring Repairs in Wiring Systems.

Did you find and correct the condition?

--

Go to Step 7

Go to Step 5

4

Inspect the RH window for a sticking or binding condition.

Did you find and correct the condition?

--

Go to Step 7

Go to Step 6

5

Replace the RH DCM. Refer to Door Control Module Replacement .

Did you complete the replacement?

--

Go to Step 7

--

6

Replace the RH window motor. Refer to Outside Rearview Mirror Replacement .

Did you complete the replacement?

--

Go to Step 7

--

7

  1. Use the scan tool in order to clear the DTCs.
  2. Operate the vehicle within the Conditions for Running the DTC as specified in the supporting text.

Does the DTC reset?

--

Go to Step 2

System OK